TOP
|
特許
|
意匠
|
商標
特許ウォッチ
Twitter
他の特許を見る
10個以上の画像は省略されています。
公開番号
2025139889
公報種別
公開特許公報(A)
公開日
2025-09-29
出願番号
2024038972
出願日
2024-03-13
発明の名称
ビル設備制御システム及びビル設備制御方法
出願人
株式会社日立製作所
代理人
ポレール弁理士法人
主分類
F24F
11/63 20180101AFI20250919BHJP(加熱;レンジ;換気)
要約
【課題】本発明の目的は、省エネと快適性を配慮した効率の良いビル設備の制御が可能なビル設備制御システム及びビル設備制御方法を提供することにある。
【解決手段】本発明のビル設備制御システムは、ビル内のエリアの空調照明設備を制御するビル設備制御システムにおいて、前記ビル内の前記エリアの在室人数に基づきエリアの属性を識別する識別手段と、識別した属性及び在室人数に基づいて在室者の活動状態を把握する把握手段と、前記属性と前記エリアの活動状態に基づいて、前記空調照明設備の制御パラメータを作成するパラメータ作成手段とを備えることを特徴とする。
【選択図】図3
特許請求の範囲
【請求項1】
ビル内のエリアの空調照明設備を制御するビル設備制御システムにおいて、
前記ビル内の前記エリアの在室人数に基づき前記エリアの属性を識別する識別手段と、
識別した属性及び在室人数に基づいて在室者の活動状態を把握する把握手段と、
前記属性と前記エリアの活動状態に基づいて、前記空調照明設備の制御パラメータを作成するパラメータ作成手段とを備えることを特徴とするビル設備制御システム。
続きを表示(約 1,200 文字)
【請求項2】
請求項1に記載のビル設備制御システムにおいて、
前記属性と前記エリアの活動状態とに基づいて、前記空調照明設備の制御方針を設定する制御方針設定手段を備えることを特徴とするビル設備制御システム。
【請求項3】
請求項1に記載のビル設備制御システムにおいて、
前記空調照明設備の制御パラメータに基づいて前記ビル内の前記エリアの前記空調照明設備を制御する手段を備えることを特徴とするビル設備制御システム。
【請求項4】
請求項1に記載のビル設備制御システムにおいて、
前記エリアはビルのフロアであることを特徴とするビル設備制御システム。
【請求項5】
請求項4に記載のビル設備制御システムにおいて、
入室人数と退室人数を検出する検出手段を備え、前記検出手段は、ビルに設置されたエレベーター装置、エレベーター制御システム、ビル内のフロア又は前記エリアに設置された入退室管理装置、対象ビルの前記フロア又は前記エリアに設置された人数計数センサのうち少なくとも一つであることを特徴とするビル設備制御システム。
【請求項6】
請求項1に記載のビル設備制御システムにおいて、
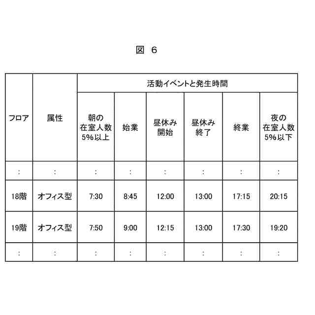
前記識別手段は、入室人数、退室人数、在室人数の時系列データのうち少なくとも一つを用いて前記属性をオフィス又は非オフィスに識別することを特徴とするビル設備制御システム。
【請求項7】
請求項1に記載のビル設備制御システムにおいて、
エリア毎に、その各活動状態に対して快適性と省エネに関わる前記空調照明設備の制御方針を設定する制御方針設定手段を備えることを特徴とするビル設備制御システム。
【請求項8】
請求項1に記載のビル設備制御システムにおいて、
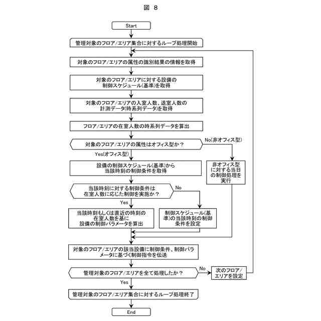
前記属性がオフィスの場合には、前記在室者の活動状態の時間毎に、前記空調照明設備に対する前記制御パラメータを設定した制御スケジュールを作成する制御スケジュール作成手段を備えることを特徴とするビル設備制御システム。
【請求項9】
請求項1に記載のビル設備制御システムにおいて、
前記パラメータ作成手段は、制御スケジュールを用いて、該当する時刻が前記在室人数に基づいて前記制御パラメータを設定する時間範囲の場合には、前記時刻の前記在室人数を基づいて前記制御パラメータを設定することを特徴とするビル設備制御システム。
【請求項10】
ビル内のエリアの空調照明設備を制御するビル設備制御方法において、
前記ビル内の前記エリアの在室人数に基づき前記エリアの属性を識別する工程と、
識別した属性及び在室人数に基づいて在室者の活動状態を把握する工程と、
前記属性と前記エリアの活動状態に基づいて、前記空調照明設備の制御パラメータを作成する工程とを含むことを特徴とするビル設備制御方法。
発明の詳細な説明
【技術分野】
【0001】
本発明は、ビル設備制御システム及びビル設備制御方法に関する。
続きを表示(約 1,100 文字)
【背景技術】
【0002】
近年、出社とリモートワークを組合せたハイブリッドワークの増加、ABW(Activity Based Working)型オフィスの導入など、フロア活動状態の多様性が増しており、これらの情報を把握して、ビル設備を適切に運用することが望まれる。
【0003】
特許文献1には、会議スケジュール(≒イベント)に基づいて、空調ゾーンを決定し、会議参加人数に基づいて、通常運転状態(人数が多い場合)もしくは省エネ運転状態(少ない場合)かを決定する技術が開示されている。
【0004】
特許文献2には、時間帯別の在室者人数を推定して、その1日の変動パターンにより、空調設備を制御する。推定した人数を基に、温度設定を切り替える技術が開示されている。
【先行技術文献】
【特許文献】
【0005】
特開2020-135313号公報
特開2008-298353号公報
【発明の概要】
【発明が解決しようとする課題】
【0006】
しかしながら、オフィスビルの各エリアの活動状態に応じて、更に、省エネと快適性を向上することが望まれる。
【0007】
本発明の目的は、オフィスビルの各エリアの内部の活動状態に応じて、省エネと快適性を配慮した効率の良いビル設備制御システム及びビル設備制御方法を提供することにある。
【課題を解決するための手段】
【0008】
本発明のビル設備制御システムはビル内のエリアの空調照明設備を制御するビル設備制御システムにおいて、前記ビル内の前記エリアの在室人数に基づきエリアの属性を識別する識別手段と、識別した属性及び在室人数に基づいて在室者の活動状態を把握する把握手段と、前記属性と前記エリアの活動状態に基づいて、前記空調照明設備の制御パラメータを作成するパラメータ作成手段とを備えることを特徴とする。
【0009】
または、本発明のビル設備制御方法は、ビル内のエリアの空調照明設備を制御するビル設備制御方法において、前記ビル内の前記エリアの在室人数に基づきエリアの属性を識別する工程と、識別した属性及び在室人数に基づいて在室者の活動状態を把握する工程と、前記属性と前記エリアの活動状態に基づいて、前記空調照明設備の制御パラメータを作成する工程とを含むことを特徴とする。
【発明の効果】
【0010】
本発明によれば、オフィスビルの各エリアの内部の活動状態に応じて、省エネと快適性を配慮した効率の良いビル設備制御システム及びビル設備制御方法を提供することができる。
【図面の簡単な説明】
(【0011】以降は省略されています)
この特許をJ-PlatPat(特許庁公式サイト)で参照する
関連特許
株式会社日立製作所
回転電機および電動機システム
今日
株式会社日立製作所
情報処理装置及び情報処理方法
今日
株式会社日立製作所
情報処理システム、及び予測方法
1日前
株式会社日立製作所
設計図書のチェックシステムおよび方法
今日
株式会社日立製作所
仮想空間生成装置および仮想空間生成方法
今日
株式会社日立製作所
ノイズ低減方法、装置、電子機器及び可読媒体
1日前
株式会社日立製作所
エレベーター、操作盤、エレベーターの制御方法
今日
株式会社日立製作所
システム障害監視装置及びシステム障害監視方法
1日前
株式会社日立製作所
解析回避機能検出システム及び解析回避機能検出方法
1日前
株式会社日立製作所
行動処理装置、行動処理方法および行動処理プログラム
今日
株式会社日立製作所
情報処理システム、制御システム、情報処理システムが実行する方法、情報処理システムが実行するプログラム
今日
個人
空気調和機
4か月前
個人
エアコン室内機
3か月前
株式会社コロナ
空調装置
3か月前
株式会社コロナ
加湿装置
4か月前
株式会社コロナ
空調装置
23日前
株式会社コロナ
空調装置
1か月前
株式会社コロナ
加湿装置
14日前
株式会社コロナ
給湯装置
2か月前
株式会社コロナ
空調装置
4日前
株式会社コロナ
空気調和機
2か月前
株式会社コロナ
風呂給湯機
22日前
個人
住宅換気空調システム
1か月前
株式会社コロナ
空気調和機
1か月前
ホーコス株式会社
排気フード
2か月前
株式会社コロナ
貯湯式給湯機
今日
株式会社コロナ
直圧式給湯機
2か月前
株式会社コロナ
貯湯式給湯機
4か月前
株式会社コロナ
暖房システム
4日前
株式会社コロナ
貯湯式給湯機
8日前
株式会社パロマ
給湯器
2か月前
株式会社コロナ
直圧式給湯機
1か月前
ホーコス株式会社
換気扇取付枠
23日前
株式会社コロナ
貯湯式給湯装置
4か月前
株式会社コロナ
貯湯式給湯装置
3か月前
株式会社コロナ
輻射式冷房装置
1か月前
続きを見る
他の特許を見る