TOP
|
特許
|
意匠
|
商標
特許ウォッチ
Twitter
他の特許を見る
公開番号
2025142892
公報種別
公開特許公報(A)
公開日
2025-10-01
出願番号
2024042494
出願日
2024-03-18
発明の名称
仮想化システム及び仮想化システムの制御方法
出願人
株式会社日立製作所
代理人
弁理士法人信友国際特許事務所
主分類
G06F
9/50 20060101AFI20250924BHJP(計算;計数)
要約
【課題】コンテナ内のアプリケーション同士の干渉の防止と、コンテナの可搬性の維持とを両立させる。
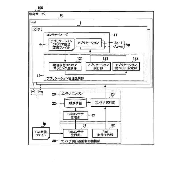
【解決手段】本発明の一態様の制御サーバー100は、コンテナ1内で動作させる複数のアプリケーションと仮想演算コア番号との対応が定義されたアプリケーション演算コアリソース定義ファイルfcと、コンテナ1に割り当てられた物理演算コア番号と、アプリケーションと対応付けられた仮想演算コア番号と、のマッピングを行う物理仮想演算コアマッピング生成部121と、マッピングの情報と、アプリケーション演算コアリソース定義ファイルfcに記載の情報に基づいて、起動対象のアプリケーションと動作演算コアの物理演算コア番号とを固定的に対応付けるアプリケーション動作演算コア設定部122と、を備える。
【選択図】図1
特許請求の範囲
【請求項1】
コンテナ型仮想化技術を用いて構築される仮想化システムのコンテナ内で動作させる複数のアプリケーションと、仮想的な演算コアの番号である仮想演算コア番号との対応が定義された定義ファイルと、
前記コンテナに割り当てられた物理的な演算コアの番号である物理演算コア番号と、前記定義ファイルにおいて前記アプリケーションと対応付けられた前記仮想演算コア番号とのマッピングを行うマッピング生成部と、
前記マッピングの情報と、前記定義ファイルの記載内容とに基づいて、起動対象の前記アプリケーションと、前記アプリケーションを動作させる動作演算コアの前記物理演算コア番号と、を固定的に対応付ける動作演算コア設定部と、を備える
仮想化システム。
続きを表示(約 1,000 文字)
【請求項2】
前記定義ファイルを参照して起動対象の前記アプリケーションを前記コンテナ内で起動させるアプリケーション実行部をさらに備える
請求項1に記載の仮想化システム。
【請求項3】
前記動作演算コア設定部は、前記定義ファイルにおいて前記アプリケーションと対応付けられた前記仮想演算コア番号とマッピングされた前記物理演算コア番号を、前記アプリケーションの前記動作演算コアに固定的に対応付ける
請求項2に記載の仮想化システム。
【請求項4】
仮想演算コア番号は、前記コンテナに割り当てられた前記物理演算コアの数に応じて相対的に決定される演算コア番号である
請求項3に記載の仮想化システム。
【請求項5】
前記定義ファイルにおいて前記アプリケーションと対応付けられる前記仮想演算コア番号の数は、前記コンテナに割り当てられた前記物理演算コアの数以下の数に設定される
請求項4に記載の仮想化システム。
【請求項6】
前記定義ファイルにおける前記アプリケーションと前記仮想演算コア番号との対応付けの関係は、1対1、1対多、又は、多対1である
請求項5に記載の仮想化システム。
【請求項7】
前記マッピング生成部による前記マッピングの作成は、前記コンテナの起動後であり前記アプリケーションが起動する前のタイミングにおいて行われる
請求項6に記載の仮想化システム。
【請求項8】
前記マッピング生成部による前記マッピングの作成は、前記アプリケーションの起動又は再起動毎に行われる
請求項6に記載の仮想化システム。
【請求項9】
コンテナ型仮想化技術を用いて構築される仮想化システムのコンテナ内で動作させる複数のアプリケーションと、仮想的な演算コアの番号である仮想演算コア番号との対応が定義ファイルに定義される手順と、
前記コンテナに割り当てられた物理的な演算コアの番号である物理演算コア番号と、前記定義ファイルにおいて前記アプリケーションと対応付けられた前記仮想演算コア番号とのマッピングを行う手順と、
前記マッピングの情報と、前記定義ファイルの記載内容とに基づいて、起動対象の前記アプリケーションと、前記アプリケーションを動作させる動作演算コアの前記物理演算コア番号と、を固定的に対応付ける手順と、を含む
仮想化システムの制御方法。
発明の詳細な説明
【技術分野】
【0001】
本発明は、仮想化システム及び仮想化システムの制御方法に関する。
続きを表示(約 1,600 文字)
【背景技術】
【0002】
近年、複雑な要件を単一の(モノリシックな)アプリケーションで実現するのではなく、小さな機能ごとに独立した「マイクロサービス」の組み合わせによってシステムを実現する「マイクロサービスアーキテクチャ」が普及している。マイクロサービスアーキテクチャを採用することによって、マイクロサービス単位で新規機能の追加や変更が可能となるため、システムへの機能の追加や変更が容易に行えるようになる。したがって、マイクロサービスアーキテクチャを用いることにより、システムを段階的に拡張することも可能となる。
【0003】
マイクロサービスアーキテクチャは、例えば、コンテナ型仮想化技術によって実現できる。コンテナは、仮想化技術によってホストOS(Operating System)上に形成される独立した空間であるため、各独立空間において「マイクロサービス」として管理される各アプリケーションの実行環境を構築することができる。
【0004】
また、コンテナ型仮想化技術では、ハードウェア上に展開されるホストOSのカーネルを、複数のコンテナが共有する。したがって、仮想化によるオーバーヘッドの増加を回避することができ、かつ、計算機リソースを効率的に利用することができる。複数のコンテナによるホストOSの共有にあたっては、コンテナと、コンテナを動作させるCPU(Central Processing Unit)コアとを対応付けること等が行われる。
【0005】
例えば、特許文献1には、モニタ・ソフトウェア・コンテナが、CPUマルチ・コア・アーキテクチャを精査し、CPUノードおよびプロセッサ・コアの量等を解析して決定するための較正方法を実施し、較正方法によって決定された値をプロトコル・コンテナに適用する技術が開示されている。
【先行技術文献】
【特許文献】
【0006】
特表2019-525650号公報
【発明の概要】
【発明が解決しようとする課題】
【0007】
ところで、産業インフラストラクチャにおいて使用される制御システムでは、100以上の非常に多くのアプリケーションが動作する。したがって、コンテナとアプリケーションとを一対一で対応付けた場合、コンテナ制御の複雑化とコンテナの構成管理の困難化とが懸念される。このような懸念に対する対策としては、1つのコンテナ内で複数のアプリケーションを動作させる運用形態が考えられる。
【0008】
1つのコンテナ内で複数のアプリケーションを動作させる運用形態においては、各アプリケーションが使用する計算機リソースをそれぞれ分離させることにより、アプリケーション同士が干渉してしまうことを防げる。各アプリケーションが使用する計算機リソースの分離は、例えば、コンテナ内の各アプリケーションを、該アプリケーションが動作するCPUコアに対して固定的に対応付けること等によって実現可能である。
【0009】
しかし、このような対応付けが行われる場合、当該コンテナを他の仮想化システムに移植するときに問題が生じる場合がある。具体的には、アプリケーションに対応付けられたCPUコアの番号が、移植先の仮想化システムにおいて既に他のコンテナの動作CPUとして割り当て済みであった場合等には、当該アプリケーションをその仮想化システムで動作させることができない。つまり、コンテナ内で動作させる各アプリケーションと、当該アプリケーションの動作CPUコアとが固定的に対応付けられた場合、コンテナの可搬性が低下してしまう。
【0010】
本発明は、上記の状況を考慮してなされたものであり、本発明の目的は、コンテナ内のアプリケーション同士の干渉の防止と、コンテナの可搬性の維持とを両立させることにある。
【課題を解決するための手段】
(【0011】以降は省略されています)
この特許をJ-PlatPat(特許庁公式サイト)で参照する
関連特許
株式会社日立製作所
鉄道車両
8日前
株式会社日立製作所
半導体装置
16日前
株式会社日立製作所
ガス濃度測定装置
8日前
株式会社日立製作所
形状制御システム
2日前
株式会社日立製作所
欠陥知識循環システム
22日前
株式会社日立製作所
計画装置および計画方法
14日前
株式会社日立製作所
訓練システムおよび訓練方法
4日前
株式会社日立製作所
直動接点および巻線切替装置
1か月前
株式会社日立製作所
管理システムおよび管理方法
4日前
株式会社日立製作所
人物特性推定システム及び方法
23日前
株式会社日立製作所
状態検知装置及び状態検知方法
16日前
株式会社日立製作所
費用対効果算出方法および装置
2日前
株式会社日立製作所
情報処理装置及び情報処理方法
4日前
株式会社日立製作所
情報処理システム、情報処理方法
1か月前
株式会社日立製作所
電子機器および電子機器制御方法
16日前
株式会社日立製作所
電力変換器およびインバータ装置
4日前
株式会社日立製作所
再エネ調達手段選定支援システム
1か月前
株式会社日立製作所
情報処理システム、及び予測方法
1日前
株式会社日立製作所
ログ抽出方法及びログ抽出システム
24日前
株式会社日立製作所
障害対応システム及び障害対応方法
22日前
株式会社日立製作所
音声分析システム及び音声分析方法
8日前
株式会社日立製作所
昇降機システム及び昇降機制御方法
4日前
株式会社日立製作所
計算機システム及びデータ検索方法
4日前
株式会社日立製作所
Webページ更新管理装置及び方法
8日前
株式会社日立製作所
建物管理システム及び建物管理方法
14日前
株式会社日立製作所
物流計画システム及び物流計画方法
2日前
株式会社日立製作所
異常検知システム及び異常検知方法
14日前
株式会社日立製作所
電力監視システムおよび電力監視方法
14日前
株式会社日立製作所
通貨管理システム、及び通貨管理方法
8日前
株式会社日立製作所
制御装置、制御方法およびプログラム
16日前
株式会社日立製作所
図面整合システムおよび図面整合方法
25日前
株式会社日立製作所
データ出力装置およびデータ出力方法
4日前
株式会社日立製作所
鉄道システムおよび鉄道車両の制御方法
24日前
株式会社日立製作所
水素製造計画装置および水素製造システム
1か月前
株式会社日立製作所
計算機システム及びタスクの割当制御方法
14日前
株式会社日立製作所
支援装置、支援方法、及び支援プログラム
14日前
続きを見る
他の特許を見る