TOP
|
特許
|
意匠
|
商標
特許ウォッチ
Twitter
他の特許を見る
10個以上の画像は省略されています。
公開番号
2025130862
公報種別
公開特許公報(A)
公開日
2025-09-09
出願番号
2024028206
出願日
2024-02-28
発明の名称
鉄道システムおよび鉄道車両の制御方法
出願人
株式会社日立製作所
代理人
弁理士法人第一国際特許事務所
主分類
B60L
7/24 20060101AFI20250902BHJP(車両一般)
要約
【課題】鉄道車両の走行位置と架線に提供できる回生エネルギーとの関係を考慮して、回生絞込みの把握精度を向上させる。
【解決手段】鉄道車両に搭載される車上側システムと当該車上側システムと通信可能な地上側システムとを備える鉄道システムであって、車上側システムは、鉄道車両の回生に関するデータである車両回生データを地上側システムに送信し、地上側システムは、車上側システムから受信する車両回生データに基づき少なくとも鉄道車両の走行区間のデータと当該鉄道車両の回生絞込みのデータとを蓄積して構築した回生絞込みデータベースを有する。
【選択図】図3
特許請求の範囲
【請求項1】
鉄道車両に搭載される車上側システムと当該車上側システムと通信可能な地上側システムとを備える鉄道システムであって、
前記車上側システムは、前記鉄道車両の回生に関するデータである車両回生データを前記地上側システムに送信し、
前記地上側システムは、前記車上側システムから受信する前記車両回生データに基づき少なくとも前記鉄道車両の走行区間のデータと当該鉄道車両の回生絞込みのデータとを蓄積して構築した回生絞込みデータベースを有する
ことを特徴とする鉄道システム。
続きを表示(約 1,300 文字)
【請求項2】
請求項1に記載の鉄道システムであって、
前記地上側システムは、前記車上側システムから定期的に送信される前記車両回生データを用いて前記回生絞込みデータベースを更新する
ことを特徴とする鉄道システム。
【請求項3】
請求項1または2に記載の鉄道システムであって、
前記回生絞込みを、前記走行区間における回生絞込み回数または回生絞込み電力量で表す
ことを特徴とする鉄道システム。
【請求項4】
請求項1または2に記載の鉄道システムであって、
前記車両回生データは、前記鉄道車両の回生ブレーキ力指令値と回生ブレーキ力実績値、架線並びに前記鉄道車両が搭載するフィルタキャパシタの少なくともいずれかの電圧値および前記鉄道車両の速度と位置、から成るデータである
ことを特徴とする鉄道システム。
【請求項5】
請求項1または2に記載の鉄道システムであって、
前記回生絞込みデータベースは、少なくとも1編成内の複数車両および複数編成の前記車両回生データのいずれかに基づいて構築される
ことを特徴とする鉄道システム。
【請求項6】
請求項4に記載の鉄道システムであって、
前記車両回生データは、更に、前記鉄道車両の運用形態や型式といった車両条件のデータを含む
ことを特徴とする鉄道システム。
【請求項7】
請求項6に記載の鉄道システムであって、
前記回生絞込みデータベースは、前記車両条件に応じて複数種類構築される
ことを特徴とする鉄道システム。
【請求項8】
請求項1または2に記載の鉄道システムであって、
前記鉄道車両の走行位置を基に前記回生絞込みデータベースを参照して得た回生絞込みの状況に基づいて、少なくとも、前記車上側システムは前記鉄道車両に搭載される装置および前記地上側システムは当該地上側システムに配備される装置、のいずれかを制御する
ことを特徴とする鉄道システム。
【請求項9】
請求項8に記載の鉄道システムであって、
前記鉄道車両に搭載される装置は、少なくとも、電力変換装置、補助電源装置、蓄電装置および空調装置のいずれかであり、前記地上側システムに配備される装置は、前記鉄道車両の周辺の変電所が備える変圧器である
ことを特徴とする鉄道システム。
【請求項10】
複数の鉄道車両それぞれに搭載される車上側システムと通信可能な地上側システムであって、
前記車上側システムそれぞれが送信する前記複数の鉄道車両それぞれの回生に関するデータである車両回生データを受信し、
前記車上側システムそれぞれから受信する前記車両回生データに基づいて、少なくとも前記複数の鉄道車両それぞれの走行区間のデータと当該複数の鉄道車両それぞれの回生絞込みのデータとを蓄積して構築した回生絞込みデータベースを有する
ことを特徴とする地上側システム。
(【請求項11】以降は省略されています)
発明の詳細な説明
【技術分野】
【0001】
本発明は、鉄道システムおよび鉄道車両の制御方法に関する。
続きを表示(約 2,400 文字)
【背景技術】
【0002】
地球温暖化への対応として、産業機器やインフラ機器のエネルギー効率の向上が求められている。そのような状況下で、架線を介して供給される電力を用いて走行する鉄道(以下、「電車」と称する場合がある)においては、車両がブレーキ時の運動エネルギーを電気に変換する電力回生ブレーキが搭載されている。この電力回生ブレーキにより発生した回生エネルギーは、架線を介して他の車両の力行エネルギーとして利用することができるため、電車はエネルギー効率の高いモビリティといえるものである。
【0003】
ただし、電力回生ブレーキ中において、自車両の周辺に他の力行車両が存在しない場合、回生エネルギーを他の力行車両に供給することができないため、自車両の直流電圧が上昇することになる。この直流電圧に対しては、車両に搭載される機器の耐電圧の制約により、上限が定められていることから、電力回生ブレーキ中に直流電圧が上昇した場合には、電力回生ブレーキの力を弱める回生絞込み制御が行われる。これにより、電力回生ブレーキが弱まることで不足するブレーキ力については、機械ブレーキで補填するため、そのためのパワーは熱として消費することになり、電力の浪費につながる。
【0004】
また、車両の回生失効時の制御に係る背景技術として、特許文献1があり、この公報には、「第一の電動機を有する第一の車両と、第二の電動機を有する第二の車両とを有し、前記第一及び第二の電動機は運動エネルギーを電気エネルギーに変換することで車両を減速させ、発生した電気エネルギーを架線へ供給する回生ブレーキ機能を有する車両の車両制御システムにおいて、回生失効または基準電力量超過の情報に基づき、一編成の車両を前記第一の車両と前記第二の車両の編成に分割する、または前記第一の車両と前記第二の車両の編成であった車両を一編成に併合する指令を発信する車両制御システム」が記載されている(要約を参照)。
【先行技術文献】
【特許文献】
【0005】
特開2018-186641号公報
【発明の概要】
【発明が解決しようとする課題】
【0006】
特許文献1に記載の技術は、単位時間当たりの回生失効の情報として取得した回生失効の発生頻度またはエネルギー量の変化が予め定めた基準値よりも大きいか小さいかによって車両編成を分割するか併合するかを判定することにより、回生エネルギーを車両間で直接的に融通できる機会を増やし、回生エネルギーの利用効率の向上を図るものである。しかしながら、車両の走行位置と架線に提供できる回生エネルギーとの関係を考慮していないことから、回生絞込みの把握精度を高くすることが困難で、より効率的に回生エネルギーを活用するまでには至らず、また、車両編成の分割や併合を前提としない運用形態には適用が困難である。
そこで、本発明では、車両の走行位置と車両の回生絞込みの程度とを表すデータベースを構築し更新する技術を提供することを目的とする。
【課題を解決するための手段】
【0007】
上記課題を解決するために、代表的な本発明に係る鉄道システムの一つは、鉄道車両に搭載される車上側システムと当該車上側システムと通信可能な地上側システムとを備え、車上側システムは、鉄道車両の回生に関するデータである車両回生データを地上側システムに送信し、地上側システムは、車上側システムから受信する車両回生データに基づき少なくとも鉄道車両の走行区間のデータと当該鉄道車両の回生絞込みのデータとを蓄積して構築した回生絞込みデータベースを有するものである。
【発明の効果】
【0008】
本発明によれば、車両の走行区間毎に回生絞込みを表すデータベースを構築し更新することで、回生絞込みの把握精度を向上させることができ、併せて、このデータベースを用いて回生エネルギーの効率的な活用を図ることができる。
上記した以外の課題、構成および効果は、以下の実施をするための形態における説明により明らかにされる。
【図面の簡単な説明】
【0009】
図1は、本発明に係る車両の概略構成を示す図である。
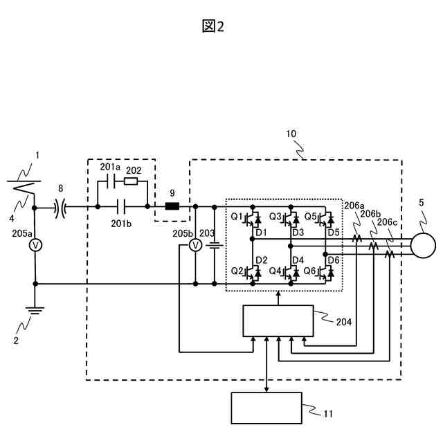
図2は、本発明に係る電力変換装置の回路構成の一例を示す図である。
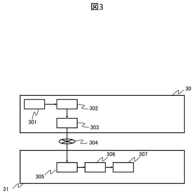
図3は、本発明の実施例1に係る車上側と地上側で構成される鉄道システムの構成の一例を示す図である。
図4は、本発明の実施例1に係る回生絞込みデータベースを構築するためのフローチャートの一例を示す図である。
図5は、本発明の実施例1に係る回生絞込みデータベースの一例の一例を示すグラフである。
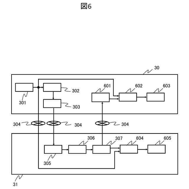
図6は、本発明の実施例2に係る回生絞込みデータベースを活用した車上側と地上側で構成される鉄道システムの構成の一例を示す図である。
図7は、回生絞込みデータベースを活用した車上蓄電の制御方法に関するグラフを示す図である。
図8は、回生絞込みデータベースを活用した空調装置の制御方法に関するグラフを示す図である。
図9は、回生絞込みデータベースを活用した軽負荷回生制御の制御方法に関するグラフを示す図である。
図10は、回生絞込みデータベースを活用した変電所の送出し電圧の制御方法に関するグラフを示す図である。
【発明を実施するための形態】
【0010】
以下、図面を用いて、本発明の実施形態として、実施例1および2について説明する。なお、これら実施例により本発明が限定されるものではない。また、図面の記載において、同一部分には同一の符号を付して示している。
(【0011】以降は省略されています)
この特許をJ-PlatPat(特許庁公式サイト)で参照する
関連特許
株式会社日立製作所
ソフトウェア生成システム
2日前
株式会社日立製作所
情報処理装置、情報処理方法
1日前
株式会社日立製作所
費用対効果算出方法および装置
8日前
株式会社日立製作所
回転電機および電動機システム
6日前
株式会社日立製作所
情報処理装置及び情報処理方法
6日前
株式会社日立製作所
情報処理システム、及び予測方法
7日前
株式会社日立製作所
物流計画システム及び物流計画方法
8日前
株式会社日立製作所
情報処理システム、及び情報処理方法
1日前
株式会社日立製作所
半導体装置および半導体装置の駆動方法
2日前
株式会社日立製作所
設計図書のチェックシステムおよび方法
6日前
株式会社日立製作所
仮想空間生成装置および仮想空間生成方法
6日前
株式会社日立製作所
臨床試験計画装置および臨床試験計画方法
1日前
株式会社日立製作所
テスト支援システム、および、テスト支援方法
8日前
株式会社日立製作所
仮想化システム及び仮想化システムの制御方法
8日前
株式会社日立製作所
仮想化システム及び仮想化システムの制御方法
8日前
株式会社日立製作所
制御設計支援方法、および、制御設計支援装置
2日前
株式会社日立製作所
ノイズ低減方法、装置、電子機器及び可読媒体
7日前
株式会社日立製作所
システム障害監視装置及びシステム障害監視方法
7日前
株式会社日立製作所
エレベーター、操作盤、エレベーターの制御方法
6日前
株式会社日立製作所
クラウドデータベースシステム及びデータ管理方法
1日前
株式会社日立製作所
解析回避機能検出システム及び解析回避機能検出方法
7日前
株式会社日立製作所
運用管理装置、運用管理方法、及び運用管理プログラム
2日前
株式会社日立製作所
行動処理装置、行動処理方法および行動処理プログラム
6日前
株式会社日立製作所
速度異常検出装置、乗客コンベア及び速度異常検出方法
1日前
株式会社日立製作所
代替材料提案システム、代替材料提案方法およびプログラム
1日前
株式会社日立製作所
ロジックモデル作成支援装置およびロジックモデル作成支援方法
1日前
株式会社日立製作所
事業性評価システム、事業性評価方法、および、設備運転制御システム
2日前
株式会社日立製作所
運転支援装置、車両、運転支援システム、運転教育システム、及び運転支援方法
1日前
株式会社日立製作所
ダンボールパレット、ダンボールパレット管理システム及びダンボールパレット管理方法
2日前
株式会社日立製作所
情報処理システム、制御システム、情報処理システムが実行する方法、情報処理システムが実行するプログラム
6日前
株式会社日立製作所
エネルギー設備運転計画立案装置、エネルギー設備運転計画立案方法、および、エネルギー設備運転計画立案プログラム
2日前
個人
カーテント
4か月前
個人
タイヤレバー
2か月前
個人
前輪キャスター
1か月前
個人
上部一体型自動車
6日前
個人
ホイルのボルト締結
3か月前
続きを見る
他の特許を見る