TOP
|
特許
|
意匠
|
商標
特許ウォッチ
Twitter
他の特許を見る
10個以上の画像は省略されています。
公開番号
2025147242
公報種別
公開特許公報(A)
公開日
2025-10-07
出願番号
2024047406
出願日
2024-03-25
発明の名称
ダンボールパレット、ダンボールパレット管理システム及びダンボールパレット管理方法
出願人
株式会社日立製作所
代理人
ポレール弁理士法人
主分類
B65D
19/34 20060101AFI20250930BHJP(運搬;包装;貯蔵;薄板状または線条材料の取扱い)
要約
【課題】リサイクル性が高く、表面(ライナ)および中芯(フルート)に耐水機能を有する強化ダンボールパレットを提供し、廃棄物による環境負荷も低減する。規制情報を基に、発送される国や地域に適した強化ダンボールパレットを提供する。
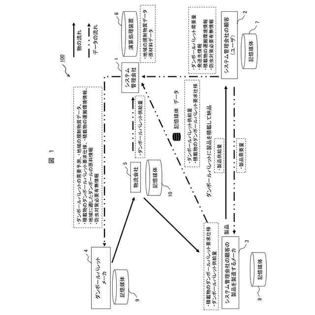
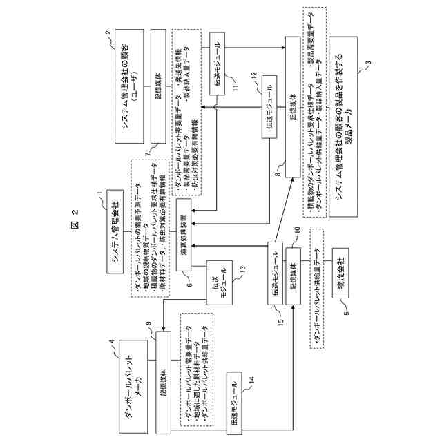
【解決手段】ダンボールの紙基材の全部又は一部にセルロースエステルを含む液である塗工剤の塗工又は含浸をして作製し、パレット管理システムの演算処理装置は、需要量データ、発送先情報、運搬環境情報及び防虫対策必要有無情報をユーザから受信し、積載物のパレット要求仕様データを製品メーカから受信し、規制物質データと、原材料データと、発送先情報、運搬環境情報及び防虫対策必要有無情報とを照合し、発送先地域に適した原材料情報、需要量データをパレットメーカに送信し、物流会社が製品メーカに供給したパレットの数量データを受信し、製品メーカがユーザに供給したパレットの数量データを受信する。
【選択図】図1
特許請求の範囲
【請求項1】
ダンボールの紙基材の全部又は一部に塗工剤の塗工又は含浸をして作製したダンボールパレットであって、
前記塗工剤は、セルロースエステルを含む液である、ダンボールパレット。
続きを表示(約 1,600 文字)
【請求項2】
前記ダンボールは、ライナと、フルートと、を含み、
少なくとも前記フルートは、前記塗工剤を含む、請求項1記載のダンボールパレット。
【請求項3】
前記セルロースエステルは、酢酸セルロース、酪酸セルロース及び酢酸酪酸セルロースのうち少なくともいずれか一種類を含む、請求項1記載のダンボールパレット。
【請求項4】
前記塗工剤は、溶媒としてケトン、エステル及びアルコールのうち少なくともいずれか一種類を含む、請求項1記載のダンボールパレット。
【請求項5】
前記フルートにおける前記セルロースエステルの含有量は、23~30g/m
2
である、請求項2記載のダンボールパレット。
【請求項6】
前記フルートの吸水度は、8g/m
2
以下である、請求項2記載のダンボールパレット。
【請求項7】
前記ダンボールは、強化ダンボールである、請求項1記載のダンボールパレット。
【請求項8】
ダンボールの紙基材に塗工剤の塗工又は含浸をして作製したダンボールパレットを管理するシステムであって、
前記塗工剤は、セルロースエステルを含む液であり、
1つ以上の記憶媒体と、1つ以上の演算処理装置と、を有し、
前記演算処理装置は、
前記ダンボールパレットの需要量データ、発送先情報、運搬環境情報及び防虫対策必要有無情報をユーザから受信し、
積載物のダンボールパレット要求仕様データを製品メーカから受信し、
規制物質データと、原材料データと、前記発送先情報、前記運搬環境情報及び前記防虫対策必要有無情報とを照合し、発送先地域に適したダンボール原材料情報、及び前記ダンボールパレットの前記需要量データをダンボールパレットメーカに送信し、
物流会社が前記製品メーカに供給した前記ダンボールパレットの数量データを受信し、
前記製品メーカが前記ユーザに供給した前記ダンボールパレットの数量データを受信する、ダンボールパレット管理システム。
【請求項9】
1つ以上の記憶媒体と、1つ以上の演算処理装置と、を有し、
前記演算処理装置は、
ダンボールパレットの需要量データ、発送先情報、運搬環境情報及び防虫対策必要有無情報をユーザから受信し、
積載物のダンボールパレット要求仕様データを製品メーカから受信し、
規制物質データと、原材料データと、前記発送先情報、前記運搬環境情報及び前記防虫対策必要有無情報とを照合し、発送先地域に適したダンボール原材料情報、及び前記ダンボールパレットの前記需要量データをダンボールパレットメーカに送信し、
物流会社が前記製品メーカに供給した前記ダンボールパレットの数量データを受信し、
前記製品メーカが前記ユーザに供給した前記ダンボールパレットの数量データを受信する、ダンボールパレット管理システム。
【請求項10】
演算処理装置が、
ダンボールパレットの需要量データ及び発送先情報、運搬環境情報、防虫対策必要有無情報をユーザから受信し、
積載物のダンボールパレット要求仕様データを製品メーカから受信し、
規制物質データと、原材料データと、前記発送先情報、前記運搬環境情報及び前記防虫対策必要有無情報とを照合し、発送先地域に適したダンボール原材料情報、および前記ダンボールパレットの前記需要量データをダンボールパレットメーカに送信し、
物流会社が前記製品メーカに供給した前記ダンボールパレットの数量データを受信し、
前記製品メーカが前記ユーザに供給した前記ダンボールパレットの数量データを受信する、ダンボールパレット管理方法。
発明の詳細な説明
【技術分野】
【0001】
本開示は、梱包製品を積載するダンボールパレット、ダンボールパレット管理システム及びダンボールパレット管理方法に関する。
続きを表示(約 1,700 文字)
【背景技術】
【0002】
近年、国際的な環境意識が高まる中、物流に使用されるダンボールパレットにおいても、リサイクル可能な設計にされることが求められている。
【0003】
ダンボールパレットは、耐荷重性の観点から、強化ダンボールが使用されることが多い。ここで、強化ダンボールとは、平らな紙(ライナ)と波状の紙(メディアム)とが接着剤で貼り合わされて一つの構造体となっているものをいい、通常、バージンパルプの比率を高め、多層化するなどして、一般ダンボールよりはるかに硬く変形しにくくした構成を有する。一般に、ダンボールは、古紙をリサイクルして作製されたものが多いが、強化ダンボールは、バージンパルプを約95%含むものが多く、耐水性ロングファイバ・ライナで形成されたものも好適に用いられている。
【0004】
従来、ダンボールパレットの需要予測は、既存の需要データと供給データを基に行われることが多い。一方、非特許文献1に記載されているように、将来の貿易形態に大きな影響を与えるFTA(Free Trade Agreement:自由貿易協定)及びEPA(Economic Partnership Agreement:経済連携協定)の発効の有無を反映させた国際(海上・航空)コンテナ量の需要を予測するようなものもある。
【0005】
また、特許文献1には、紙に耐水性および撥水性を付与し、また湿潤時の強度を向上させることができ、しかも処理された紙が容易に再パルプ化(リサイクル)可能な紙処理剤として、芳香族ビニル系単量体単位、(メタ)アクリル酸エステル系単量体単位および不飽和カルボン酸無水物系単量体単位を必須構成単位とする共重合体を必須成分として含有するものが開示されている。
【先行技術文献】
【特許文献】
【0006】
特開2000-154494号公報
【非特許文献】
【0007】
磯野文曉 他4名:地域ブロック単位の国際物流予測手法の検討、土木計画学研究会講演集、No.32、2005年
【発明の概要】
【発明が解決しようとする課題】
【0008】
通常、強化ダンボールの表面(ライナ)には、耐水性をセルロースロングファイバやプラスチック系材料により付与されることが多い。また、中芯(フルート)は、耐水処理されないことが多い。しかし、中芯の部分から水が浸入すると、強化ダンボールでも、強度が低下する。また、含水した状態で圧力が付加されると潰れてしまう。
【0009】
例えば、積載物の運搬環境がコンテナである場合、海上コンテナでは、コンテナに隙間があると内部に水蒸気が流入する場合がある。また、コンテナに隙間が無くても、周囲温度が低下するとコンテナ内部で結露する可能性がある。航空コンテナでも、貨物室内の冷気で、コンテナ内部の空気中の水分が結露、凍結し、陸送時に解凍してコンテナ内部が水浸しになる可能性がある。このため、強化ダンボールの中芯も、表面同様にプラスチック系材料で防水・耐水処理される場合もある。しかしながら、今後、各国・各地域での環境規則で、プラスチック系材料を用いた強化ダンボールパレットの使用が制限される場合、各国・各地域での規制物質に合せた原材料で強化ダンボールパレットを作製する必要がある。
【0010】
強化ダンボールは、リサイクル性に優れる材料である。しかし、強化ダンボールの表面にプラスチックが形成され、または強化ダンボール中にプラスチックが混練されると、リサイクルの際にプラスチックを分離することが難しくなる。この場合、ほとんどのものが焼却処理されている。この現状では、強化ダンボールのリサイクル性を十分に活かすことができない。また、今後、各国・各地域での環境規制によって、プラスチック系材料を使用する強化ダンボールパレットの使用が制限される場合、各国・各地域での環境規制物質に合わせた原材料で強化ダンボールパレットを作製する必要がある。
(【0011】以降は省略されています)
この特許をJ-PlatPat(特許庁公式サイト)で参照する
関連特許
株式会社日立製作所
鉄道車両
2日前
株式会社日立製作所
ガス分離システム
2日前
株式会社日立製作所
調停案提示システム
3日前
株式会社日立製作所
部品管理装置及び方法
9日前
株式会社日立製作所
ソフトウェア生成システム
12日前
株式会社日立製作所
情報処理装置、情報処理方法
11日前
株式会社日立製作所
治療効果予測システムおよび方法
3日前
株式会社日立製作所
蒸発乾固装置および蒸発乾固方法
10日前
株式会社日立製作所
情報処理システム、及び情報処理方法
9日前
株式会社日立製作所
情報処理システム、及び情報処理方法
11日前
株式会社日立製作所
計算機システム及び障害対処支援方法
3日前
株式会社日立製作所
設計図書のチェックシステムおよび方法
16日前
株式会社日立製作所
半導体装置および半導体装置の駆動方法
12日前
株式会社日立製作所
故障要因分析装置及び故障要因分析方法
10日前
株式会社日立製作所
説明情報生成装置及び説明情報生成方法
10日前
株式会社日立製作所
圧延設定支援装置及び圧延設定支援方法
2日前
株式会社日立製作所
燃料電池ブロックおよび燃料電池システム
3日前
株式会社日立製作所
臨床試験計画装置および臨床試験計画方法
11日前
株式会社日立製作所
搬送装置を制御する制御システム及び制御方法
2日前
株式会社日立製作所
制御設計支援方法、および、制御設計支援装置
12日前
株式会社日立製作所
制御装置,移動体,制御システム及び制御方法
5日前
株式会社日立製作所
エレベーター、操作盤、エレベーターの制御方法
16日前
株式会社日立製作所
生産ラインを編成する装置、システムおよび方法
4日前
株式会社日立製作所
クラウドデータベースシステム及びデータ管理方法
11日前
株式会社日立製作所
異常事象対処支援装置および異常事象対処支援方法
4日前
株式会社日立製作所
エンティティ抽出システム、エンティティ選択方法
4日前
株式会社日立製作所
行動処理装置、行動処理方法および行動処理プログラム
16日前
株式会社日立製作所
運用管理装置、運用管理方法、及び運用管理プログラム
12日前
株式会社日立製作所
速度異常検出装置、乗客コンベア及び速度異常検出方法
11日前
株式会社日立製作所
ストレージシステム及びストレージシステムの制御方法
10日前
株式会社日立製作所
水電解システムの運用装置及び水電解システムの運用方法
10日前
株式会社日立製作所
ロボット制御装置、ロボット、及び、ロボット制御システム
10日前
株式会社日立製作所
情報処理方法、情報処理プログラム、及び情報処理システム
9日前
株式会社日立製作所
代替材料提案システム、代替材料提案方法およびプログラム
11日前
株式会社日立製作所
飛行体検知装置、飛行体検知方法、及び飛行体制御システム
9日前
株式会社日立製作所
自動画面操作テスト支援装置及び自動画面操作テスト支援方法
10日前
続きを見る
他の特許を見る