TOP
|
特許
|
意匠
|
商標
特許ウォッチ
Twitter
他の特許を見る
公開番号
2025149098
公報種別
公開特許公報(A)
公開日
2025-10-08
出願番号
2024049542
出願日
2024-03-26
発明の名称
作業機、及び、作業機の車軸延長ケース
出願人
株式会社クボタ
代理人
フェリシテ弁理士法人
主分類
A01D
41/12 20060101AFI20251001BHJP(農業;林業;畜産;狩猟;捕獲;漁業)
要約
【課題】 第1車体及び第2車体を備えた作業機であって、第2車体の車輪に動力を伝達する各部品を適切に保護することができる作業機を提供する
【解決手段】 作業機100は、第1車体10と、第1車体10を搭載する第2車体20と、を備えている。第2車体20の第2後方車軸24は、後方車輪22に向かって車幅方向に伸びるように配置されている。第2車体20の車軸動力伝達機構26は、後方車輪22と第2後方車軸24との間に介装されている。第2車体20の車体動力伝達機構27は、第1車体10の軸出力を第2後方車軸24に向けて動力伝達する。第2車体20の車軸ケース25は、第2後方車軸24を囲うように構成されている。第2車体20の車軸延長ケース30は、車軸ケース25の車幅方向の外側、及び、車軸動力伝達機構26の車幅方向の内側の間に配置され、第2後方車軸24を囲うように構成されている。
【選択図】 図6
特許請求の範囲
【請求項1】
原動機と、
車幅方向に伸びるように配置され、前記原動機の動力に基づいて回転駆動するよう構成された第1車軸と、
を備えた第1車体と、
車幅方向の両端に設けられた車輪と、
前記車輪に向かって前記車幅方向に伸びるように配置され、回転駆動するよう構成された第2車軸と、
前記車輪と前記第2車軸との間に介装され、前記回転駆動する前記第2車軸の軸出力を受けて、前記車輪に向けて動力伝達するよう構成された車軸動力伝達機構と、
前記車輪に向かって前記車幅方向に伸びるように配置され、前記第2車軸を囲うように構成された車軸ケースと、
前記回転駆動する前記第1車軸の軸出力を受けて、前記第2車軸に向けて動力伝達するよう構成された車体動力伝達機構と、
を備えた第2車体であって、
前記第1車体を搭載した状態で、前記車体動力伝達機構を介して伝達された動力に基づいて前記車輪を回転駆動することで、前記第1車体と一体的に走行する第2車体と、
を備えた作業機において、
前記第2車体は、
前記車軸ケースの前記車幅方向の外側、及び、前記車軸動力伝達機構の前記車幅方向の内側の間に配置され、前記第2車軸を囲うように構成された車軸延長ケース
を備えた作業機。
続きを表示(約 2,200 文字)
【請求項2】
請求項1に記載の作業機において、
前記車軸動力伝達機構は、
前記車輪と同軸的に一体回転する車輪軸と、
前記車輪軸に、前記第2車軸の軸出力を伝達するギヤと、
前記車輪軸を内部にて軸受けを介して軸支するとともに、前記ギヤを内蔵するギヤケースと、
を備え、
前記車軸延長ケースは、
前記車幅方向における一端部が前記車軸ケースに接続され、前記車幅方向における他端部が前記ギヤケースに接続されるように構成された
作業機。
【請求項3】
請求項2に記載の作業機において、
前記第2車軸は、
前記車幅方向の外側端部が前記車軸ケースから露出するように配置され、前記車体動力伝達機構を介して伝達された動力に基づいて回転する第2車軸基部と、
前記第2車軸基部の前記外側端部に接続され、前記第2車軸基部と同軸的に一体回転することで、前記車軸動力伝達機構の前記ギヤに動力を入力する第2車軸延長部と、
を備え、
前記車軸延長ケースは、
前記第2車軸基部、及び、前記第2車軸延長部の接続部位を囲うように構成された
作業機。
【請求項4】
請求項1乃至請求項3の何れか一項に記載の作業機において、
前記第1車体は、
前記第1車軸として、車長方向における前方に設けられ、前記原動機の動力に基づいて回転駆動するよう構成された第1前方車軸と、
前記第1車軸として、前記車長方向の前記第1前方車軸よりも後方に設けられ、前記原動機の動力に基づいて、前記第1前方車軸と同時に回転駆動するよう構成された第1後方車軸と、
を備え、
前記車体動力伝達機構は、
前記回転駆動する前記第1前方車軸、及び、前記回転駆動する前記第1後方車軸のうち、少なくとも何れか一方の軸出力を受けて、前記第2車軸に向けて動力伝達するよう構成された
作業機。
【請求項5】
原動機と、
車幅方向に伸びるように配置され、前記原動機の動力に基づいて回転駆動するよう構成された第1車軸と、
を備えた第1車体と、
車幅方向の両端に設けられた車輪と、
前記車輪に向かって前記車幅方向に伸びるように配置され、回転駆動するよう構成された第2車軸と、
前記車輪と前記第2車軸との間に介装され、前記回転駆動する前記第2車軸の軸出力を受けて、前記車輪に向けて動力伝達するよう構成された車軸動力伝達機構と、
前記車輪に向かって前記車幅方向に伸びるように配置され、前記第2車軸を囲うように構成された車軸ケースと、
前記回転駆動する前記第1車軸の軸出力を受けて、前記第2車軸に向けて動力伝達するよう構成された車体動力伝達機構と、
を備えた第2車体であって、
前記第1車体を搭載した状態で、前記車体動力伝達機構を介して伝達された動力に基づいて前記車輪を回転駆動することで、前記第1車体と一体的に走行する第2車体と、
を備えた作業機に適用され、
前記第2車体に備えられ、前記車軸ケースの前記車幅方向の外側、及び、前記車軸動力伝達機構の前記車幅方向の内側の間に配置され、前記第2車軸を囲うように構成された
車軸延長ケース。
【請求項6】
請求項5に記載の車軸延長ケースにおいて、
前記車軸動力伝達機構は、
前記車輪と同軸的に一体回転する車輪軸と、
前記車輪軸に、前記第2車軸の軸出力を伝達するギヤと、
前記車輪軸を内部にて軸受けを介して軸支するとともに、前記ギヤを内蔵するギヤケースと、
を備え、
前記車幅方向における一端部が前記車軸ケースに接続され、前記車幅方向における他端部が前記ギヤケースに接続されるように構成された
車軸延長ケース。
【請求項7】
請求項6に記載の車軸延長ケースにおいて、
前記第2車軸は、
前記車幅方向の外側端部が前記車軸ケースから露出するように配置され、前記車体動力伝達機構を介して伝達された動力に基づいて回転する第2車軸基部と、
前記第2車軸基部の前記外側端部に接続され、前記第2車軸基部と同軸的に一体回転することで、前記車軸動力伝達機構の前記ギヤに動力を入力する第2車軸延長部と、
を備え、
前記第2車軸基部、及び、前記第2車軸延長部の接続部位を囲うように構成された
車軸延長ケース
【請求項8】
請求項5乃至請求項7の何れか一項に記載の車軸延長ケースにおいて、
前記第1車体は、
前記第1車軸として、車長方向における前方に設けられ、前記原動機の動力に基づいて回転駆動するよう構成された第1前方車軸と、
前記第1車軸として、前記車長方向の前記第1前方車軸よりも後方に設けられ、前記原動機の動力に基づいて、前記第1前方車軸と同時に回転駆動するよう構成された第1後方車軸と、
を備え、
前記車体動力伝達機構は、
前記回転駆動する前記第1前方車軸、及び、前記回転駆動する前記第1後方車軸のうち、少なくとも何れか一方の軸出力を受けて、前記第2車軸に向けて動力伝達するよう構成された
車軸延長ケース。
発明の詳細な説明
【技術分野】
【0001】
本発明は、作業機、及び、作業機が備える車軸を囲うように構成された車軸延長ケースに関する。
続きを表示(約 2,500 文字)
【背景技術】
【0002】
従来、第1車体と、第2車体と、を備えた作業機として、例えば、特許文献1に示す作業機が知られている。この作業機は、第1車体としてのトラクタ、及び、第2車体としてのハーベスタを備えている。ハーベスタの上部には、車輪を脱離させたトラクタが搭載されている。一方、ハーベスタそのものには、車輪が備えられている。トラクタの後輪車軸の軸出力は、動力伝達機構を介して、ハーベスタの後方車輪に向けて伝達されるようになっている。トラクタの軸出力に基づいてハーベスタの車輪が回転駆動することで、トラクタを上部に搭載した状態にて、トラクタ及びハーベスタが一体的に走行するようになっている。
【先行技術文献】
【特許文献】
【0003】
国際公開2014/059379号(図1等)
【発明の概要】
【0004】
この種の作業機のように、第1車体が第2車体に搭載された状態においては、第2車体が単体である場合に比して、第1車体の分だけ車重及び車高が増加する。安定な走行及び作業を行うために、第2車体が単体である場合に比して、第2車体の車輪を、車幅方向のより外側に配置させることが有効である。車輪をより外側に配置させる場合には、当該車輪に動力を伝達する各部品を適切に保護することが、要求される。
【0005】
そこで、本発明は、上記に鑑み、第1車体及び第2車体を備えた作業機であって、第2車体の車輪に動力を伝達する各部品を適切に保護することができる作業機、及び、作業機の車軸延長ケースを提供することを目的とする。
【課題を解決するための手段】
【0006】
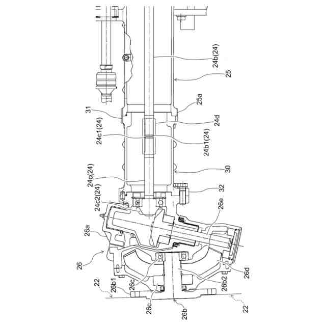
この技術的課題を解決するための本発明の技術的手段は、以下に示す点を特徴とする。本発明の作業機は、原動機と、車幅方向に伸びるように配置され、前記原動機の動力に基づいて回転駆動するよう構成された第1車軸と、を備えた第1車体と、車幅方向の両端に設けられた車輪と、前記車輪に向かって前記車幅方向に伸びるように配置され、回転駆動するよう構成された第2車軸と、前記車輪と前記第2車軸との間に介装され、前記回転駆動する前記第2車軸の軸出力を受けて、前記車輪に向けて動力伝達するよう構成された車軸動力伝達機構と、前記車輪に向かって前記車幅方向に伸びるように配置され、前記第2車軸を囲うように構成された車軸ケースと、前記回転駆動する前記第1車軸の軸出力を受けて、前記第2車軸に向けて動力伝達するよう構成された車体動力伝達機構と、を備えた第2車体であって、前記第1車体を搭載した状態で、前記車体動力伝達機構を介して伝達された動力に基づいて前記車輪を回転駆動することで、前記第1車体と一体的に走行する第2車体と、を備えている。前記第2車体は、前記車軸ケースの前記車幅方向の外側、及び、前記車軸動力伝達機構の前記車幅方向の内側の間に配置され、前記第2車軸を囲うように構成された車軸延長ケースを備えている。
【0007】
本発明の作業機において、前記車軸動力伝達機構は、前記車輪と同軸的に一体回転する車輪軸と、前記車輪軸に、前記第2車軸の軸出力を伝達するギヤと、前記車輪軸を内部にて軸受けを介して軸支するとともに、前記ギヤを内蔵するギヤケースと、を備えている。前記車軸延長ケースは、前記車幅方向における一端部が前記車軸ケースに接続され、前記車幅方向における他端部が前記ギヤケースに接続されるように構成されている。
【0008】
本発明の作業機において、前記第2車軸は、前記車幅方向の外側端部が前記車軸ケースから露出するように配置され、前記車体動力伝達機構を介して伝達された動力に基づいて回転する第2車軸基部と、前記第2車軸基部の前記外側端部に接続され、前記第2車軸基部と同軸的に一体回転することで、前記車軸動力伝達機構の前記ギヤに動力を入力する第2車軸延長部と、を備えている。前記車軸延長ケースは、前記第2車軸基部、及び、前記第2車軸延長部の接続部位を囲うように構成されている。
【0009】
本発明の作業機において、前記第1車体は、前記第1車軸として、車長方向における前方に設けられ、前記原動機の動力に基づいて回転駆動するよう構成された第1前方車軸と、前記第1車軸として、前記車長方向の前記第1前方車軸よりも後方に設けられ、前記原動機の動力に基づいて、前記第1前方車軸と同時に回転駆動するよう構成された第1後方車軸と、を備えている。前記車体動力伝達機構は、前記回転駆動する前記第1前方車軸、及び、前記回転駆動する前記第1後方車軸のうち、少なくとも何れか一方の軸出力を受けて、前記第2車軸に向けて動力伝達するよう構成されている。
【0010】
本発明の車軸延長ケースは、原動機と、車幅方向に伸びるように配置され、前記原動機の動力に基づいて回転駆動するよう構成された第1車軸と、を備えた第1車体と、車幅方向の両端に設けられた車輪と、前記車輪に向かって前記車幅方向に伸びるように配置され、回転駆動するよう構成された第2車軸と、前記車輪と前記第2車軸との間に介装され、前記回転駆動する前記第2車軸の軸出力を受けて、前記車輪に向けて動力伝達するよう構成された車軸動力伝達機構と、前記車輪に向かって前記車幅方向に伸びるように配置され、前記第2車軸を囲うように構成された車軸ケースと、前記回転駆動する前記第1車軸の軸出力を受けて、前記第2車軸に向けて動力伝達するよう構成された車体動力伝達機構と、を備えた第2車体であって、前記第1車体を搭載した状態で、前記車体動力伝達機構を介して伝達された動力に基づいて前記車輪を回転駆動することで、前記第1車体と一体的に走行する第2車体と、を備えた作業機に適用される。本発明の車軸延長ケースは、前記第2車体に備えられ、前記車軸ケースの前記車幅方向の外側、及び、前記車軸動力伝達機構の前記車幅方向の内側の間に配置され、前記第2車軸を囲うように構成されている。
(【0011】以降は省略されています)
この特許をJ-PlatPat(特許庁公式サイト)で参照する
関連特許
株式会社クボタ
作業車
1か月前
株式会社クボタ
作業車
1か月前
株式会社クボタ
作業車
2日前
株式会社クボタ
作業車
2日前
株式会社クボタ
作業車
9日前
株式会社クボタ
作業機
21日前
株式会社クボタ
作業車
1か月前
株式会社クボタ
作業機
1か月前
株式会社クボタ
作業車
11日前
株式会社クボタ
田植機
1か月前
株式会社クボタ
田植機
1か月前
株式会社クボタ
作業車
1日前
株式会社クボタ
作業車
1日前
株式会社クボタ
作業車
9日前
株式会社クボタ
作業車
1日前
株式会社クボタ
田植機
1か月前
株式会社クボタ
作業車
1か月前
株式会社クボタ
作業車両
11日前
株式会社クボタ
作業車両
11日前
株式会社クボタ
作業車両
11日前
株式会社クボタ
作業車両
11日前
株式会社クボタ
作業車両
11日前
株式会社クボタ
作業車両
11日前
株式会社クボタ
作業車両
11日前
株式会社クボタ
作業車両
11日前
株式会社クボタ
作業車両
1日前
株式会社クボタ
作業車両
1日前
株式会社クボタ
作業車両
11日前
株式会社クボタ
多目的車両
2日前
株式会社クボタ
多目的車両
2日前
株式会社クボタ
圃場作業車
1か月前
株式会社クボタ
多目的車両
2日前
株式会社クボタ
多目的車両
2日前
株式会社クボタ
多目的車両
2日前
株式会社クボタ
コンバイン
2日前
株式会社クボタ
多目的車両
2日前
続きを見る
他の特許を見る