TOP
|
特許
|
意匠
|
商標
特許ウォッチ
Twitter
他の特許を見る
10個以上の画像は省略されています。
公開番号
2025148991
公報種別
公開特許公報(A)
公開日
2025-10-08
出願番号
2024049406
出願日
2024-03-26
発明の名称
多方向入力装置
出願人
ミツミ電機株式会社
代理人
個人
,
個人
,
個人
,
個人
主分類
H01H
25/04 20060101AFI20251001BHJP(基本的電気素子)
要約
【課題】操作軸に対する傾倒操作に応じた方向情報の入力を提供することが可能であり、かつ、製品寿命が長い多方向入力装置を提供すること。
【解決手段】多方向入力装置1は、ハウジング5と、第1の軸方向回りに回動可能な第1の回動部材61と、第2の軸方向回りに回動可能な第2の回動部材62と、第1の回動部材61および第2の回動部材62を回動させる操作軸63と、操作軸63を中立状態で弾性的に保持する保持機構7と、第1の回動部材61および第2の回動部材62のそれぞれの回動角度を検出するための検出機構8と、を含む。保持機構7は、上側板バネ91Uと、下側板バネ91Lと、を備えている。上側板バネ91Uの外枠911と下側板バネ91Lの外枠911との間の離間距離D1は、上側板バネ91Uの内枠912と下側板バネ91Lの内枠912との間の離間距離D2と異なる。
【選択図】図18
特許請求の範囲
【請求項1】
ハウジングと、
第1のスリット孔を有し、第1の軸方向回りに回動可能に、前記ハウジングに保持された第1の回動部材と、
第2のスリット孔を有し、前記第1の軸方向と直交する第2の軸方向回りに回動可能に、前記ハウジングに保持された第2の回動部材と、
前記第1のスリット孔および前記第2のスリット孔に挿通され、ユーザーから印加される傾倒操作に応じて、前記第1の回動部材および前記第2の回動部材を回動させる操作軸と、
前記操作軸を中立状態で弾性的に保持する保持機構と、
前記第1の回動部材および前記第2の回動部材のそれぞれの回動角度を検出するための検出機構と、を含み、
前記保持機構は、
上側板バネと、
前記上側板バネに対して高さ方向に離間して対向する下側板バネと、を備え、
前記上側板バネおよび前記下側板バネのそれぞれは、
外枠と、
前記外枠の内側に位置し、前記操作軸が挿通される挿通孔を有する内枠と、
前記外枠に対して前記内枠が変位可能に、前記外枠と前記内枠との間を接続する複数のバネ部と、を備え、
前記上側板バネの前記外枠と前記下側板バネの前記外枠との間の離間距離は、前記上側板バネの前記内枠と前記下側板バネの前記内枠との間の離間距離と異なることを特徴とする多方向入力装置。
続きを表示(約 960 文字)
【請求項2】
前記上側板バネの前記外枠と前記下側板バネの前記外枠との間の前記離間距離は、前記上側板バネの前記内枠と前記下側板バネの前記内枠との間の前記離間距離よりも長い請求項1に記載の多方向入力装置。
【請求項3】
前記上側板バネの前記外枠と前記下側板バネの前記外枠との間の前記離間距離は、前記上側板バネの前記内枠と前記下側板バネの前記内枠との間の前記離間距離よりも短い請求項1に記載の多方向入力装置。
【請求項4】
前記保持機構は、前記上側板バネの前記内枠と前記下側板バネの前記内枠との間に位置する円筒状のブッシュをさらに含み、
前記上側板バネの前記内枠は、前記ブッシュの上面と接触し、
前記下側板バネの前記内枠は、前記ブッシュの下面と接触している請求項1に記載の多方向入力装置。
【請求項5】
前記保持機構は、前記上側板バネの前記外枠と前記下側板バネの前記外枠との間に位置する筒状部をさらに含み、
前記上側板バネの前記外枠は、前記筒状部の上面上に固定されており、
前記下側板バネの前記外枠は、前記筒状部の下面上に固定されている請求項1に記載の多方向入力装置。
【請求項6】
前記操作軸は、円柱状の細径部と、前記細径部から下方に向かって延伸するフランジ部と、前記フランジ部から下方に向かって直線状に延伸する円柱状のバネ接続部と、を備え、
前記フランジ部の外径は、前記細径部および前記バネ接続部のそれぞれの外径よりも大きく、
前記バネ接続部が、前記上側板バネの前記挿通孔および前記下側板バネの前記挿通孔を挿通している請求項1に記載の多方向入力装置。
【請求項7】
前記操作軸は、前記バネ接続部から下方に向かって直線状に延伸する突起と、前記突起に取り付けられる支持キャップと、をさらに備え、
前記支持キャップは、前記下側板バネの前記内枠を下方から支持している請求項6に記載の多方向入力装置。
【請求項8】
前記上側板バネの前記内枠および前記下側板バネの前記内枠は、前記操作軸の前記フランジ部の下面と前記支持キャップの上面との間に位置する請求項7に記載の多方向入力装置。
発明の詳細な説明
【技術分野】
【0001】
本発明は、一般に、多方向入力装置に関し、より具体的には、操作軸に対する傾倒操作に応じた方向情報の入力を提供する多方向入力装置に関する。
続きを表示(約 2,800 文字)
【背景技術】
【0002】
従来、ゲーム機器等の電子機器に用いられる多方向入力装置として、操作軸に対する傾倒操作が可能な多方向入力装置が知られている。ジョイスティックまたはスティックコントローラーと呼ばれるこの種の多方向入力装置では、ユーザーは、操作軸を中立状態から任意の方向に向けて傾倒させる傾倒操作を実行することにより、操作軸に対する傾倒操作に応じた方向情報の入力を提供する。
【0003】
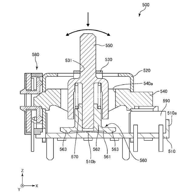
例えば、特許文献1は、図1に示されている多方向入力装置500を開示している。多方向入力装置500は、底板510上に固定されるハウジング520と、第1の軸方向(Y方向)回りに回動可能に、ハウジング520に保持された第1の回動部材530と、第1の軸方向と直交する第2の軸方向(X方向)回りに回動可能に、ハウジング520に保持された第2の回動部材540と、第1の回動部材530のスリット孔531および第2の回動部材540のスリット孔540aに挿通され、ユーザーから印加される傾倒操作に応じて、第1の回動部材530および第2の回動部材540を回動させると共に、ユーザーからの押下操作に応じて下方に変位可能な操作軸550と、操作軸550の下端部に、操作軸550の軸方向に沿って移動可能に設けられた作動部材560と、操作軸550と作動部材560との間に設けられたコイルバネ570と、第1の回動部材530および第2の回動部材540の回動角度を検出するためにハウジング520上に設けられたセンサー580と、底板510の一方の側壁から外側に突出する部品取り付け部510a内に設けられたプッシュスイッチ590と、を備えている。
【0004】
ユーザーから操作軸550に対して任意の方向への傾倒操作が印加されると、操作軸550の傾倒動作に伴い、第1の回動部材530および第2の回動部材540が回動する。第1の回動部材530および第2の回動部材540の回動角度のそれぞれは、センサー580によって検出され、操作軸550に対するユーザーの傾倒操作に応じた方向情報の入力が提供される。また、ユーザーから操作軸550に対して押下操作が印加されると、操作軸550と係合している第2の回動部材540が下方に変位し、第2の回動部材540がプッシュスイッチ590を押下する。これにより、操作軸550に対するユーザーの押下操作に応じた押下情報の入力が提供される。
【0005】
作動部材560は、底面が皿状に湾曲された基部561と、基部561の中央部に形成され、操作軸550の下端部が挿入される筒状のボス部562と、基部561の外周部から外側に突出する円弧部563と、を備えている。このような多方向入力装置500では、ユーザーが操作軸550に対して傾倒操作を印加した場合、操作軸550の傾倒角度が小さい初期段階においては、作動部材560が底板510上をスライドする。その後、操作軸550の傾倒角度が一定値を超えると、作動部材560の円弧部563の下面が、底板510上に形成された突部510bに当接しながら作動部材560が傾斜し、コイルバネ570の弾性力に抗して、作動部材560が操作軸550の軸方向に持ち上げられる。その後、操作軸550に対する傾倒操作が解除されると、コイルバネ570の弾性復元力と基部561の底面の形状によって、操作軸550が直立の中立状態に復帰する。このように、作動部材560は、操作軸550を直立の中立状態で弾性的に保持する機能を提供している。
【0006】
しかしながら、多方向入力装置500では、操作軸550が傾倒動作を実行する際に、作動部材560が底板510上をスライドするので、作動部材560と底板510との間に摩擦が生じる。さらに、作動部材560が操作軸550の軸方向に沿って移動するので、作動部材560と操作軸550との間に摩擦が生じる。そのため、操作軸550に対する傾倒操作が繰り返し実行されると、作動部材560が摩耗してしまい、多方向入力装置500の製品寿命が短くなってしまうという問題があった。
【先行技術文献】
【特許文献】
【0007】
特開2000-305650号公報
【発明の概要】
【発明が解決しようとする課題】
【0008】
本発明は、上記従来の問題点を鑑みたものであり、その目的は、操作軸に対する傾倒操作に応じた方向情報の入力を提供することが可能であり、かつ、製品寿命が長い多方向入力装置を提供することにある。
【課題を解決するための手段】
【0009】
このような目的は、以下の(1)によって規定される本発明により達成される。
(1)ハウジングと、
第1のスリット孔を有し、第1の軸方向回りに回動可能に、前記ハウジングに保持された第1の回動部材と、
第2のスリット孔を有し、前記第1の軸方向と直交する第2の軸方向回りに回動可能に、前記ハウジングに保持された第2の回動部材と、
前記第1のスリット孔および前記第2のスリット孔に挿通され、ユーザーから印加される傾倒操作に応じて、前記第1の回動部材および前記第2の回動部材を回動させる操作軸と、
前記操作軸を中立状態で弾性的に保持する保持機構と、
前記第1の回動部材および前記第2の回動部材のそれぞれの回動角度を検出するための検出機構と、を含み、
前記保持機構は、
上側板バネと、
前記上側板バネに対して高さ方向に離間して対向する下側板バネと、を備え、
前記上側板バネおよび前記下側板バネのそれぞれは、
外枠と、
前記外枠の内側に位置し、前記操作軸が挿通される挿通孔を有する内枠と、
前記外枠に対して前記内枠が変位可能に、前記外枠と前記内枠との間を接続する複数のバネ部と、を備え、
前記上側板バネの前記外枠と前記下側板バネの前記外枠との間の離間距離は、前記上側板バネの前記内枠と前記下側板バネの前記内枠との間の離間距離と異なることを特徴とする多方向入力装置。
【発明の効果】
【0010】
本発明の多方向入力装置においては、操作軸が、高さ方向に互いに離間して対向する上側板バネおよび下側板バネによって、中立状態で弾性的に保持される。また、操作軸が傾倒動作を実行する際、上側板バネおよび下側板バネが、ハウジング内の他の部材上をスライドしない。そのため、本発明の多方向入力装置に対して、ユーザーが繰り返し傾倒操作を印加したとしても、上側板バネおよび下側板バネが摩耗せず、多方向入力装置の製品寿命を大幅に伸ばすことができる。
(【0011】以降は省略されています)
この特許をJ-PlatPat(特許庁公式サイト)で参照する
関連特許
ミツミ電機株式会社
音響変換装置
26日前
ミツミ電機株式会社
充電制御装置、及び、電池パック
17日前
ミツミ電機株式会社
駆動装置、カメラモジュールおよびカメラ搭載装置
2日前
ミツミ電機株式会社
駆動装置、カメラモジュールおよびカメラ搭載装置
2日前
ミツミ電機株式会社
DC-DCコンバータおよび電源用半導体集積回路
10日前
東ソー株式会社
絶縁電線
18日前
APB株式会社
蓄電セル
16日前
個人
フレキシブル電気化学素子
1か月前
マクセル株式会社
電源装置
10日前
ローム株式会社
半導体装置
17日前
株式会社ユーシン
操作装置
1か月前
日新イオン機器株式会社
イオン源
26日前
株式会社東芝
端子台
10日前
株式会社GSユアサ
蓄電装置
11日前
株式会社GSユアサ
蓄電装置
11日前
株式会社GSユアサ
蓄電装置
3日前
株式会社GSユアサ
蓄電設備
1か月前
太陽誘電株式会社
コイル部品
1か月前
株式会社GSユアサ
蓄電設備
1か月前
株式会社ホロン
冷陰極電子源
24日前
オムロン株式会社
電磁継電器
1か月前
日新イオン機器株式会社
基板処理装置
13日前
ノリタケ株式会社
熱伝導シート
1か月前
トヨタ自動車株式会社
蓄電装置
1か月前
トヨタ自動車株式会社
冷却構造
18日前
トヨタ自動車株式会社
蓄電装置
11日前
日東電工株式会社
積層体
1か月前
北道電設株式会社
配電具カバー
16日前
サクサ株式会社
電池の固定構造
1か月前
日本特殊陶業株式会社
保持装置
19日前
トヨタ自動車株式会社
バッテリ
16日前
日本特殊陶業株式会社
保持装置
2日前
住友電装株式会社
コネクタ
18日前
古河電気工業株式会社
端子
1か月前
日本無線株式会社
レーダアンテナ
4日前
トヨタ自動車株式会社
電池パック
23日前
続きを見る
他の特許を見る