TOP
|
特許
|
意匠
|
商標
特許ウォッチ
Twitter
他の特許を見る
公開番号
2025149863
公報種別
公開特許公報(A)
公開日
2025-10-08
出願番号
2024208752
出願日
2024-11-29
発明の名称
電気音響変換装置
出願人
ミツミ電機株式会社
代理人
弁理士法人ITOH
主分類
H04R
17/00 20060101AFI20251001BHJP(電気通信技術)
要約
【課題】MEMSデバイスと周辺部品との組み付け精度を向上した電気音響変換装置を提供する。
【解決手段】電気音響変換装置1Bは、基板10と、基板10上に配置されるMEMSデバイス20と、MEMSデバイス20上に配置されるメンブレン30と、を有し、MEMSデバイス20は、枠状の固定部21、平面視で固定部21の内側に配置される可動部22、固定部21と可動部22とを各々の上面よりも下面に近い位置で接続する捻じれ梁23及び駆動梁24並びに駆動梁24の下面に配置され、交流信号の入力に応じて振動する駆動源を有し、基板10の上面の、平面視で固定部21と重なる領域に、駆動源に供給する信号の経路となる1対の内部接続用パッド11a、11bと、高さ合わせ用パッド14と、が配置され、基板10の上面に、内部接続用パッド11a、11b及び高さ合わせ用パッド14を挟んで、固定部21の下面が接合されている。
【選択図】図24
特許請求の範囲
【請求項1】
基板と、
前記基板上に配置されるMEMSデバイスと、
前記MEMSデバイス上に配置されるメンブレンと、を有し、
前記MEMSデバイスは、枠状の固定部、平面視で前記固定部の内側に配置される可動部、前記固定部と前記可動部とを各々の上面よりも下面に近い位置で接続する捻じれ梁及び駆動梁、並びに前記駆動梁の下面に配置される駆動源、を有し、
前記基板の上面の、平面視で前記固定部と重なる領域に、前記駆動源に供給する信号の経路となる1対の内部接続用パッドと、高さ合わせ用パッドと、が配置され、
前記基板の上面に、前記内部接続用パッド及び前記高さ合わせ用パッドを挟んで、前記固定部の下面が接合されている、電気音響変換装置。
続きを表示(約 1,300 文字)
【請求項2】
平面視で、前記基板は、対向する第1辺及び第2辺と、対向する第3辺及び第4辺と、を有する矩形であり、
前記内部接続用パッドは、前記第1辺に沿って配置され、
前記高さ合わせ用パッドは、前記第2辺、前記第3辺、及び前記第4辺に沿って1つずつ配置されている、請求項1に記載の電気音響変換装置。
【請求項3】
平面視で、前記基板は、対向する第1辺及び第2辺と、対向する第3辺及び第4辺と、を有する矩形であり、
前記内部接続用パッドは、前記第1辺に沿って配置され、
前記高さ合わせ用パッドは、前記第2辺と前記第3辺とを接続する角部、及び前記第2辺と前記第4辺とを接続する角部に沿って1つずつ配置されている、請求項1に記載の電気音響変換装置。
【請求項4】
平面視で、前記基板は、対向する第1辺及び第2辺と、対向する第3辺及び第4辺と、を有する矩形であり、
前記内部接続用パッドは、前記第1辺に沿って配置され、
前記高さ合わせ用パッドは、前記第2辺に沿って配置され、さらに前記第2辺と前記第3辺とを接続する角部、及び前記第2辺と前記第4辺とを接続する角部に延伸するように1つ配置されている、請求項1に記載の電気音響変換装置。
【請求項5】
前記基板の上面の、平面視で前記固定部の外側に位置する領域に、第1位置合わせ用パッドが複数個配置されている、請求項1乃至4のいずれか一項に記載の電気音響変換装置。
【請求項6】
前記第1位置合わせ用パッドは、
前記基板の各々の辺の両端部に沿って1つずつ配置されている、請求項5に記載の電気音響変換装置。
【請求項7】
前記基板の上面の、平面視で前記固定部の外側に位置する領域に、第2位置合わせ用パッドが複数個配置されている、請求項1乃至4のいずれか一項に記載の電気音響変換装置。
【請求項8】
前記第2位置合わせ用パッドは、
基板の対向する1組の辺に沿って1つずつ配置されている、請求項7に記載の電気音響変換装置。
【請求項9】
基板と、
前記基板上に配置されるMEMSデバイスと、
前記MEMSデバイス上に配置されるメンブレンと、を有し、
前記MEMSデバイスは、枠状の固定部、平面視で前記固定部の内側に配置される可動部、前記固定部と前記可動部とを各々の上面よりも下面に近い位置で接続する捻じれ梁及び駆動梁、並びに前記駆動梁の下面に配置される駆動源、を有し、
平面視で、前記固定部は矩形の枠状であり、
前記固定部の1辺に沿う部分の幅は、他の3辺に沿う部分の幅よりも広く、前記固定部の外縁の中心と前記可動部の中心とが一致しない、電気音響変換装置。
【請求項10】
前記固定部の前記1辺に沿う部分の下面に、1対の導通用パッドが配置されている、請求項9に記載の電気音響変換装置。
(【請求項11】以降は省略されています)
発明の詳細な説明
【技術分野】
【0001】
本開示は、電気音響変換装置に関する。
続きを表示(約 3,200 文字)
【背景技術】
【0002】
微小電気機械システム(Micro Electro Mechanical Systems:MEMS)における微細加工技術によって作製されたMEMSデバイスが開発されている。MEMSデバイスは、半導体プロセスにより製造されることから、ばらつきが少なく、小型、薄型、軽量、低消費電力、良好な周波数特性等の多くの特長がある。MEMSデバイスは、固定部と可動部を有し、可動部を駆動することにより、例えば、イヤホンやマイク等の電気音響変換装置に用いることができる(例えば、特許文献1参照)。電気音響変換装置では、MEMSデバイスを周辺部品に精度よく組み付ける必要がある。
【先行技術文献】
【特許文献】
【0003】
米国特許明細書第9980051号
【発明の概要】
【発明が解決しようとする課題】
【0004】
本開示は、MEMSデバイスと周辺部品との組み付け精度を向上した電気音響変換装置の提供を目的とする。
【課題を解決するための手段】
【0005】
本開示の一実施形態に係る電気音響変換装置は、基板と、前記基板上に配置されるMEMSデバイスと、前記MEMSデバイス上に配置されるメンブレンと、を有し、前記MEMSデバイスは、枠状の固定部、平面視で前記固定部の内側に配置される可動部、前記固定部と前記可動部とを各々の上面よりも下面に近い位置で接続する捻じれ梁及び駆動梁、並びに前記駆動梁の下面に配置される駆動源、を有し、前記基板の上面の、平面視で前記固定部と重なる領域に、前記駆動源に供給する信号の経路となる1対の内部接続用パッドと、高さ合わせ用パッドと、が配置され、前記基板の上面に、前記内部接続用パッド及び前記高さ合わせ用パッドを挟んで、前記固定部の下面が接合されている。
【発明の効果】
【0006】
本開示によれば、MEMSデバイスと周辺部品との組み付け精度を向上した電気音響変換装置を提供できる。
【図面の簡単な説明】
【0007】
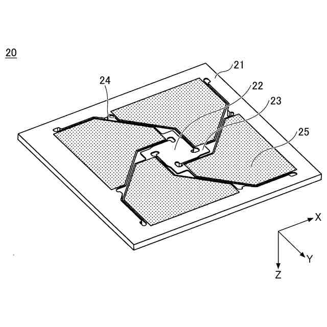
第1実施形態に係るMEMSデバイスを例示する上面側斜視図である。
第1実施形態に係るMEMSデバイスを例示する下面側斜視図である。
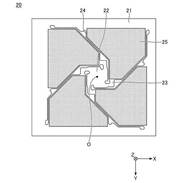
第1実施形態に係るMEMSデバイスを例示する上面図である。
第1実施形態に係るMEMSデバイスを例示する下面図である。
第1実施形態に係るMEMSデバイスを例示する断面図である。
MEMSデバイス20における応力の低減について説明する図(その1)である。
図6に示す構造の効果を示す図である。
MEMSデバイス20における応力の低減について説明する図(その2)である。
MEMSデバイス20における応力の低減について説明する図(その3)である。
MEMSデバイス20における応力の低減について説明する図(その4)である。
MEMSデバイス20における共振周波数のシミュレーション結果である。
第1実施形態に係る電気音響変換装置を例示する上面側斜視図である。
第1実施形態に係る電気音響変換装置を例示する下面側斜視図である。
第1実施形態に係る電気音響変換装置を例示する断面図である。
第1実施形態に係る電気音響変換装置を例示する上面側分解斜視図である。
第1実施形態に係る電気音響変換装置を例示する下面側分解斜視図である。
第1実施形態に係る電気音響変換装置の製造方法について説明する図(その1)である。
第1実施形態に係る電気音響変換装置の製造方法について説明する図(その2)である。
第2実施形態に係るMEMSデバイスを例示する上面図である。
MEMSデバイス20AとMEMSデバイス20との比較結果を示す図である。
第3実施形態に係る電気音響変換装置を例示する上面側分解斜視図である。
MEMSデバイス及びメンブレンにおける共振周波数のシミュレーション結果である。
捻じれ梁及び駆動梁の厚さを変えたときの共振周波数のシミュレーション結果である。
第4実施形態に係る電気音響変換装置を例示する上面側分解斜視図である。
第4実施形態に係る電気音響変換装置を構成する基板を例示する上面図である。
基板上にMEMSデバイスを配置する工程を示す上面図である。
基板上にMEMSデバイスを配置する工程を示す断面図である。
第4実施形態の変形例1に係る電気音響変換装置を構成する基板を例示する上面図である。
第4実施形態の変形例2に係る電気音響変換装置を構成する基板を例示する上面図である。
第4実施形態の変形例3に係る電気音響変換装置を構成する基板を例示する上面図である。
基板上にMEMSデバイスを位置合わせした様子を示す上面図である。
第5実施形態に係るMEMSデバイスにおける配線を例示する下面図である。
MEMSデバイスの可動部を可動させたときの応力分布のシミュレーション結果である。
第5実施形態の変形例1に係るMEMSデバイスにおける配線を例示する下面図である。
第6実施形態に係るMEMSデバイスにおける金属膜を例示する下面図である。
MEMSデバイス20Cを用いた電気音響変換装置1Cの下面図である。
可動部の変位の測定フローである。
第6実施形態の変形例1に係るMEMSデバイスにおける金属膜を例示する下面図である。
第6実施形態の変形例2に係るMEMSデバイスにおける金属膜を例示する下面図である。
第7実施形態に係る電気音響変換装置を例示する断面図である。
メンブレン30Dを例示する上面図である。
第7実施形態の変形例1に係る電気音響変換装置を例示する部分断面図である。
第7実施形態の変形例2に係る電気音響変換装置を例示する部分断面図である。
【発明を実施するための形態】
【0008】
以下、図面を参照して発明を実施するための形態について説明する。各図面において、同一構成部分には同一符号を付し、重複した説明を省略する場合がある。
【0009】
〈第1実施形態〉
(MEMSデバイス)
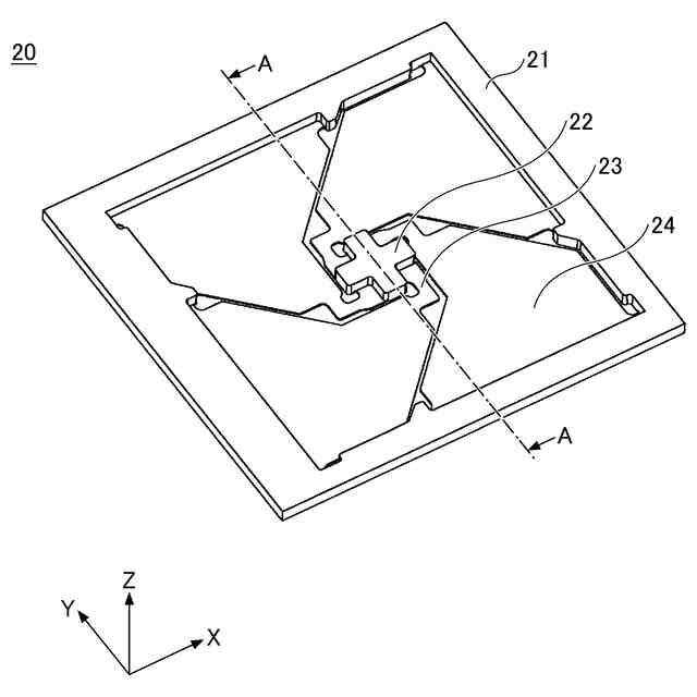
図1は、第1実施形態に係るMEMSデバイスを例示する上面側斜視図である。図2は、第1実施形態に係るMEMSデバイスを例示する下面側斜視図である。図3は、第1実施形態に係るMEMSデバイスを例示する上面図である。図4は、第1実施形態に係るMEMSデバイスを例示する下面図である。図5は、第1実施形態に係るMEMSデバイスを例示する断面図であり、図1のA-A線に沿う断面を示している。
【0010】
なお、各図面において、参考のためX軸、Y軸及びZ軸を有する直交座標を示す場合がある。X方向、Y方向、Z方向のそれぞれにおいて、矢印の向く側を「+側」、その反対側を「-側」と称する場合がある。また、各部材のZ+側の面を上面、Z-側の面を下面と称する場合がある。ただし、これらは、実施形態に係るMEMSデバイス等の使用時における向きを制限するものではなく、実施形態に係るMEMSデバイス等の向きは任意である。また、対象物をZ+側からZ-側に視る、又は対象物をZ-側からZ+側に視ることを平面視と称する場合がある。
(【0011】以降は省略されています)
この特許をJ-PlatPat(特許庁公式サイト)で参照する
関連特許
個人
店内配信予約システム
2か月前
サクサ株式会社
中継装置
3日前
サクサ株式会社
中継装置
2日前
WHISMR合同会社
収音装置
1か月前
サクサ株式会社
中継装置
3か月前
アイホン株式会社
電気機器
24日前
キヤノン株式会社
電子機器
2か月前
キヤノン株式会社
撮像装置
1か月前
キヤノン電子株式会社
画像読取装置
1か月前
株式会社リコー
画像形成装置
2か月前
個人
ワイヤレスイヤホン対応耳掛け
22日前
サクサ株式会社
無線通信装置
2日前
サクサ株式会社
無線通信装置
2日前
サクサ株式会社
無線システム
1日前
株式会社リコー
画像形成装置
1か月前
キヤノン電子株式会社
モバイル装置
3か月前
株式会社リコー
画像形成装置
1か月前
日本精機株式会社
画像投映システム
3か月前
キヤノン株式会社
撮像システム
24日前
ブラザー工業株式会社
読取装置
1か月前
個人
発信機及び発信方法
1日前
株式会社ニコン
撮像装置
2か月前
キヤノン電子株式会社
シート材搬送装置
2か月前
DXO株式会社
情報処理システム
2か月前
パテントフレア株式会社
超高速電波通信
1か月前
株式会社JVCケンウッド
通信システム
8日前
沖電気工業株式会社
画像形成装置
4日前
有限会社フィデリックス
マイクロフォン
8日前
パテントフレア株式会社
水中電波通信法
2か月前
大日本印刷株式会社
写真撮影装置
23日前
沖電気工業株式会社
画像形成装置
12日前
国立大学法人電気通信大学
小型光学装置
1か月前
株式会社松平商会
携帯機器カバー
1か月前
株式会社小糸製作所
画像照射装置
1か月前
日本無線株式会社
無線通信システム
1か月前
株式会社JVCケンウッド
スピーカ
1か月前
続きを見る
他の特許を見る