TOP
|
特許
|
意匠
|
商標
特許ウォッチ
Twitter
他の特許を見る
10個以上の画像は省略されています。
公開番号
2025155879
公報種別
公開特許公報(A)
公開日
2025-10-14
出願番号
2025019548
出願日
2025-02-07
発明の名称
音響変換装置
出願人
ミツミ電機株式会社
代理人
弁理士法人ITOH
主分類
H04R
17/02 20060101AFI20251002BHJP(電気通信技術)
要約
【課題】感度の向上を図ること。
【解決手段】音響変換装置100は、固定枠10と、一端が固定枠10に固定された固定端22であり、他端が自由端21であり、固定枠10から当該固定枠10の内側に張り出すカンチレバー20と、を備え、当該カンチレバー20は、物理量を検出可能な複数の検出領域23と、物理量を検出しない非検出領域24と、を有し、複数の検出領域23の電極は、電気的に直列接続されている。
【選択図】図1
特許請求の範囲
【請求項1】
固定枠と、
前記固定枠に固定された圧電素子と、を備え、
前記圧電素子は、
物理量を検出可能な複数の検出領域と、
物理量を検出しない非検出領域と、を有し、
前記複数の検出領域の電極は、電気的に直列接続されている音響変換装置。
続きを表示(約 1,700 文字)
【請求項2】
前記圧電素子は、一端が前記固定枠に固定された固定端であり、他端が自由端であり、前記固定枠から前記固定枠の内側に張り出すカンチレバーであり、
前記カンチレバーは、
前記カンチレバーが張り出す方向である第1方向において、互いに対向する第1カンチレバー及び第2カンチレバーを有する請求項1に記載の音響変換装置。
【請求項3】
前記第1カンチレバーの前記複数の検出領域の電極と、前記第2カンチレバーの前記複数の検出領域の電極とは、電気的に直列接続されている請求項2に記載の音響変換装置。
【請求項4】
前記複数の検出領域は、前記固定端に近い方に配置され、
前記非検出領域は、前記自由端に近い方に配置されている請求項2に記載の音響変換装置。
【請求項5】
前記圧電素子は、ダイヤフラムであり、
前記ダイヤフラムの外周は、前記固定枠に固定された固定端である請求項1に記載の音響変換装置。
【請求項6】
前記複数の検出領域は、
前記ダイヤフラムの径方向において前記ダイヤフラムの中心に近い位置に配置された内側検出領域と、
前記ダイヤフラムの径方向において前記ダイヤフラムの中心から遠い位置に配置された外側検出領域と、を有し、
前記非検出領域は、
リング状を成し、前記ダイヤフラムの周方向に連続し、前記内側検出領域と前記外側検出領域との間に形成された周方向の電極非形成領域と、
前記ダイヤフラムの径方向に延在し、前記ダイヤフラムの周方向に間隔を置いて形成された複数の径方向の電極非形成領域と、を有する請求項5に記載の音響変換装置。
【請求項7】
前記圧電素子は、圧電膜を有し、
前記圧電膜は、
下部電極と、
前記下部電極の上に形成された下部圧電層と、
前記下部圧電層の上に形成された中間電極と、
前記中間電極の上に形成された上部圧電層と、
前記上部圧電層の上に形成された上部電極と、を含み、
前記複数の検出領域の間に、前記上部電極及び前記下部電極が形成されていない第1電極非形成領域、又は、前記中間電極が形成されていない第2電極非形成領域を有する請求項1に記載の音響変換装置。
【請求項8】
前記圧電素子は、ダイヤフラムであり、
前記ダイヤフラムの外周は、前記固定枠に固定された固定端であり、
前記複数の検出領域の前記下部電極と前記上部電極同士、もしくは前記中間電極同士は、電気的に直列に接続され、
前記複数の検出領域のそれぞれの前記上部電極及び前記下部電極は、電気的に並列接続されている請求項7に記載の音響変換装置。
【請求項9】
前記第1電極非形成領域及び前記第2電極非形成領域は、前記複数の検出領域が並ぶ方向において、交互に配置されている請求項7に記載の音響変換装置。
【請求項10】
前記複数の検出領域は、第1検出領域と、第2検出領域とを有し、
前記第1検出領域は、
第1下部電極と、
前記第1下部電極の上に形成された第1下部圧電層と、
前記第1下部圧電層の上に形成された第1中間電極と、
前記第1中間電極の上に形成された第1上部圧電層と、
前記第1上部圧電層の上に形成された第1上部電極と、を含み、
前記第2検出領域は、
第2下部電極と、
前記第2下部電極の上に形成された第2下部圧電層と、
前記第2下部圧電層の上に形成された第2中間電極と、
前記第2中間電極の上に形成された第2上部圧電層と、
前記第2上部圧電層の上に形成された第2上部電極と、を含み、
前記第1検出領域と前記第2検出領域との間には、
前記第1下部電極と前記第2中間電極とを接続する下部接続電極と、
前記第1上部電極と前記第2中間電極とを接続する上部接続電極と、が形成されている請求項1に記載の音響変換装置。
(【請求項11】以降は省略されています)
発明の詳細な説明
【技術分野】
【0001】
本開示は、音響変換装置に関する。
続きを表示(約 2,200 文字)
【背景技術】
【0002】
例えば、一端が支持され他端が自由端となる圧電膜と、圧電膜を挟んで配置された一対の電極を備える圧電素子が知られている(例えば、特許文献1参照)。
【先行技術文献】
【特許文献】
【0003】
特開2019-140638号公報
【発明の概要】
【発明が解決しようとする課題】
【0004】
圧電素子を有する音響変換装置において、感度の向上が求められている。本開示は、感度の向上を図ることが可能な音響変換装置を提供することを目的とする。
【課題を解決するための手段】
【0005】
本開示に係る音響変換装置は、固定枠と、一端が固定枠に固定された固定端であり、他端が自由端であり、固定枠から当該固定枠の内側に張り出すカンチレバーと、を備え、当該前記カンチレバーは、物理量を検出可能な複数の検出領域と、物理量を検出しない非検出領域と、を有し、複数の検出領域の電極は、電気的に直列接続されている。
【発明の効果】
【0006】
本開示は、感度の向上を図ることが可能な音響変換装置を提供することができる。
【図面の簡単な説明】
【0007】
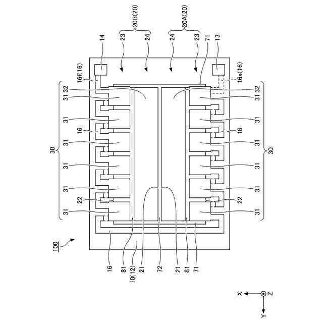
第1実施形態に係る音響変換装置を例示する平面図である。
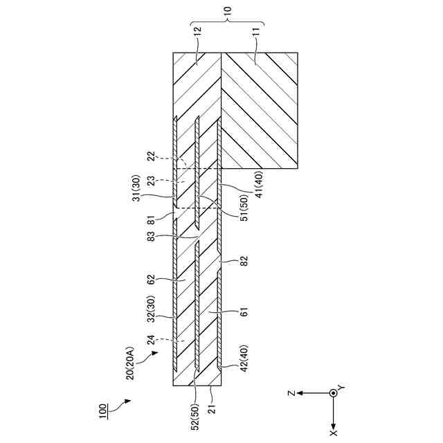
第1実施形態に係る音響変換装置を例示する断面図であり、XZ面に沿う断面を示す図である。
第1実施形態に係る音響変換装置を例示する断面図であり、YZ面に沿う断面を示す図である。
実施形態に係る音響変換装置の回路図である。
第2実施形態に係る音響変換装置を例示する断面図であり、YZ面に沿う断面を示す図である。
第3実施形態に係る音響変換装置を例示する断面図であり、YZ面に沿う断面を示す図である。
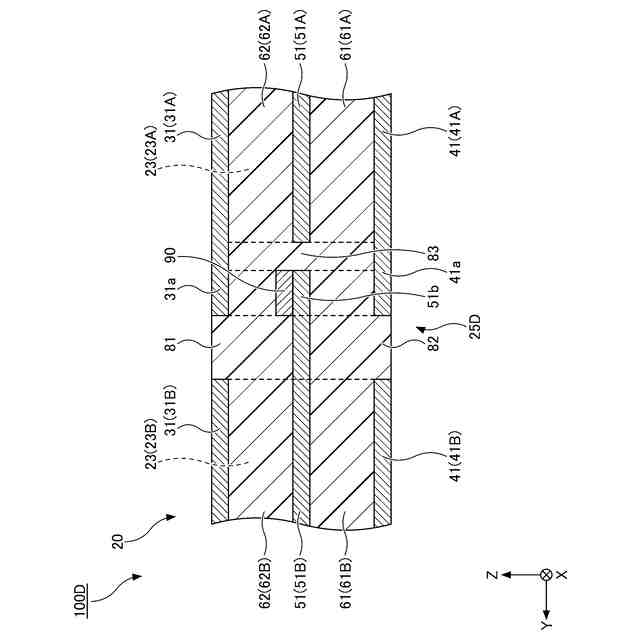
第4実施形態に係る音響変換装置の部分を例示する部分平面図である。
第4実施形態に係る音響変換装置の部分を拡大して例示する部分拡大平面図である。
図7中のIX-IX線に沿う切断面を例示する断面図である。
図8中のX-X線に沿う切断面を例示する断面図である。
音響変換装置の部分を拡大して例示する部分拡大斜視図である。
第5実施形態に係る音響変換装置を例示する平面図である。
第5実施形態に係る音響変換装置を例示する斜視図である。
第5実施形態に係る音響変換装置を底面側から例示する斜視図である。
第5実施形態に係る音響変換装置を例示する断面図である。
振動板(圧電膜)を拡大して例示する部分拡大断面図である。
音圧を受けて変形する振動板に発生した電荷の分布を例示する側面図である。
第6実施形態に係る音響変換装置を例示する平面図である。
第6実施形態に係る音響変換装置を例示する断面図であり、図18中のIX-IX線に沿う断面図である。
第6実施形態に係る音響変換装置の回路図である。
センシング領域径割合と規格化されたSNRとの関係を示すグラフである。
【発明を実施するための形態】
【0008】
以下、実施形態に係る音響変換装置について、添付の図面を参照しながら説明する。尚、本明細書及び図面において、実質的に同一の構成要素については、同一の符号を付することにより重複した説明を省く場合がある。また、本明細書において、「上」及び「下」との用語を使用する場合がある。これは、図2に示されている状態における「上」及び「下」であり、Z軸方向において、上部電極30が配置されている方を「上」とし、下部電極40が配置されている方を「下」とする。実際の音響変換装置100の配置はこれに限定されない。上部電極30が下に配置され、下部電極40が上に配置されていてもよい。
【0009】
[第1実施形態に係る音響変換装置100]
図1は、第1実施形態に係る音響変換装置100を例示する斜視図である。図2は、第1実施形態に係る音響変換装置100を例示する断面図であり、XZ面に沿う断面を示す図である。なお、各図において、互いに直交するX軸方向、Y軸方向、及びZ軸方向を図示する場合がある。X軸方向、Y軸方向、及びZ軸方向は、直交していなくてもよい。X軸方向、Y軸方向、及びZ軸方向は任意の方向でもよい。X軸方向は、第1方向の一例である。Y軸方向は、第1方向と交差する第2方向の一例である。Z軸方向は、圧電膜の厚さ方向の一例である。
【0010】
図1及び図2に示す音響変換装置100は、圧電素子(圧電膜)を有する圧電式の音響変換装置である。音響変換装置100は、例えばマイクロフォン(MEMSマイク)でもよい。音響変換装置100は、ノイズキャンセルの用途に使用されるものでもよい。音響変換装置100は、TWS(Ture wireless stereo)でもよく、自動車に搭載される車載の装置でもよい。音響変換装置100は、例えば補聴器として使用されるものでもよい。音響変換装置100は、物理量を検出可能であれば、よく、用途は特に限定されない。物理量は、例えば音圧でもよい。
(【0011】以降は省略されています)
この特許をJ-PlatPat(特許庁公式サイト)で参照する
関連特許
個人
イヤーピース
1か月前
個人
イヤーマフ
1か月前
個人
スイッチシステム
1か月前
キヤノン株式会社
撮像装置
3日前
キヤノン株式会社
撮像装置
3日前
キヤノン株式会社
撮像装置
10日前
キヤノン株式会社
撮像装置
3日前
株式会社リコー
画像形成装置
1か月前
キヤノン電子株式会社
画像読取装置
1か月前
個人
映像表示装置、及びARグラス
1か月前
ヤマハ株式会社
放音制御装置
1か月前
キヤノン電子株式会社
画像読取装置
1か月前
キヤノン電子株式会社
シート搬送装置
1か月前
キヤノン株式会社
画像処理装置
1か月前
キヤノン株式会社
情報処理装置
18日前
シャープ株式会社
表示装置
1か月前
シャープ株式会社
表示装置
1か月前
日本セラミック株式会社
超音波送受信器
18日前
技術開発合同会社
電子拡大鏡
1か月前
17LIVE株式会社
サーバ及び方法
1か月前
トヨタ自動車株式会社
推定装置
1か月前
17LIVE株式会社
サーバ及び方法
1か月前
アスザック株式会社
遠隔操作システム
1か月前
ミネベアミツミ株式会社
受信装置
18日前
古野電気株式会社
送受波器
1か月前
キヤノン株式会社
撮像装置
1か月前
アイホン株式会社
インターホンシステム
3日前
アイホン株式会社
インターホンシステム
3日前
キヤノン株式会社
電子機器
26日前
小林製薬株式会社
耳装着具
1か月前
キヤノン株式会社
撮像装置
1か月前
小林製薬株式会社
耳装着具
1か月前
小林製薬株式会社
耳装着具
1か月前
シャープ株式会社
端末装置および通信方法
18日前
日本放送協会
映像録画装置及びプログラム
18日前
豊田合成株式会社
車両の音出力装置
1か月前
続きを見る
他の特許を見る