TOP
|
特許
|
意匠
|
商標
特許ウォッチ
Twitter
他の特許を見る
10個以上の画像は省略されています。
公開番号
2025155881
公報種別
公開特許公報(A)
公開日
2025-10-14
出願番号
2025019550
出願日
2025-02-07
発明の名称
音響変換装置
出願人
ミツミ電機株式会社
代理人
弁理士法人ITOH
主分類
H04R
17/02 20060101AFI20251002BHJP(電気通信技術)
要約
【課題】感度の向上を図る音響変換装置を提供する。
【解決手段】音響変換装置100は、固定枠10と、一端が固定枠10に固定された固定端22であり、他端が自由端21であり、固定枠10から固定枠10の内側に張り出すカンチレバー20と、を備え、カンチレバー20は、下部電極40と、下部電極40の上に形成された第1圧電層61と、第1圧電層61の上に形成された中間電極50と、中間電極50の上に形成された第2圧電層62と、第2圧電層62の上に形成された上部電極30と、を有し、中間電極50のZ軸方向の厚さは、上部電極30のZ軸方向の厚さ又は下部電極40ののZ軸方向の厚さよりも厚い。
【選択図】図2
特許請求の範囲
【請求項1】
固定枠と、
前記固定枠に固定された圧電素子と、を備え、
前記圧電素子は、
下部電極と、
前記下部電極の上に形成された第1圧電層と、
前記第1圧電層の上に形成された中間電極と、
前記中間電極の上に形成された第2圧電層と、
前記第2圧電層の上に形成された上部電極と、を有し、
前記中間電極の厚さは、前記上部電極又は前記下部電極の厚さよりも厚い音響変換装置。
続きを表示(約 760 文字)
【請求項2】
前記圧電素子は、一端が前記固定枠に固定された固定端であり、他端が自由端であり、前記固定枠から前記固定枠の内側に張り出すカンチレバーであり、
前記カンチレバーは、
前記カンチレバーが張り出す方向である第1方向において、互いに対向する第1カンチレバー及び第2カンチレバーを有する請求項1に記載の音響変換装置。
【請求項3】
前記圧電素子は、ダイヤフラムであり、
前記ダイヤフラムの外周は、前記固定枠に固定された固定端である請求項2に記載の音響変換装置。
【請求項4】
前記中間電極の厚さは、前記圧電素子の厚さの10%以上90%以下である請求項2又は3に記載の音響変換装置。
【請求項5】
前記中間電極の厚さは、前記圧電素子の厚さの30%以上70%以下である請求項2又は3に記載の音響変換装置。
【請求項6】
前記中間電極の厚さは、前記圧電素子の厚さの40%以上60%以下である請求項2又は3に記載の音響変換装置。
【請求項7】
前記圧電素子は、当該圧電素子が撓んだ際に内部に発生する引張力及び圧縮力のいずれも発生しない中立面を含み、
前記中間電極は、前記中立面を含む請求項1に記載の音響変換装置。
【請求項8】
前記中立面は、前記圧電素子の厚さ方向の中心である請求項7に記載の音響変換装置。
【請求項9】
前記上部電極の厚さと前記下部電極の厚さは同じである請求項8に記載の音響変換装置。
【請求項10】
前記第1圧電層の厚さと前記第2圧電層の厚さは同じである請求項8又は9に記載の音響変換装置。
(【請求項11】以降は省略されています)
発明の詳細な説明
【技術分野】
【0001】
本開示は、音響変換装置に関する。
続きを表示(約 2,000 文字)
【背景技術】
【0002】
例えば、一端が支持され他端が自由端となる圧電膜と、圧電膜を挟んで配置された一対の電極を備える圧電素子が知られている(例えば、特許文献1参照)。
【先行技術文献】
【特許文献】
【0003】
特開2019-140638号公報
【発明の概要】
【発明が解決しようとする課題】
【0004】
圧電素子を有する音響変換装置において、感度の向上が求められている。本開示は、感度の向上を図ることが可能な音響変換装置を提供することを目的とする。
【課題を解決するための手段】
【0005】
本開示に係る音響変換装置は、固定枠と、一端が固定枠に固定された固定端であり、他端が自由端であり、固定枠から固定枠の内側に張り出すカンチレバーと、を備え、カンチレバーは、下部電極と、下部電極の上に形成された第1圧電層と、第1圧電層の上に形成された中間電極と、中間電極の上に形成された第2圧電層と、第2圧電層の上に形成された上部電極と、を有し、中間電極の厚さは、上部電極又は下部電極の厚さよりも厚い。
【発明の効果】
【0006】
本開示は、感度の向上を図ることが可能な音響変換装置を提供することができる。
【図面の簡単な説明】
【0007】
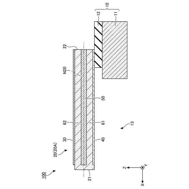
第1実施形態に係る音響変換装置を例示する斜視図である。
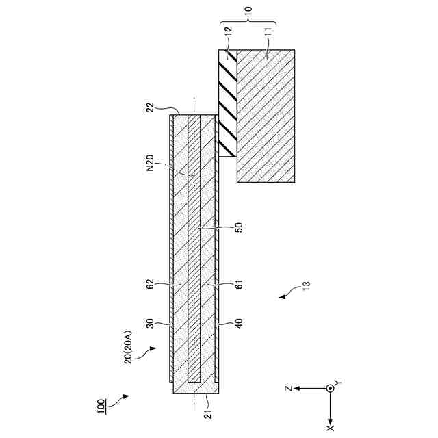
第1実施形態に係る音響変換装置を例示する断面図である。
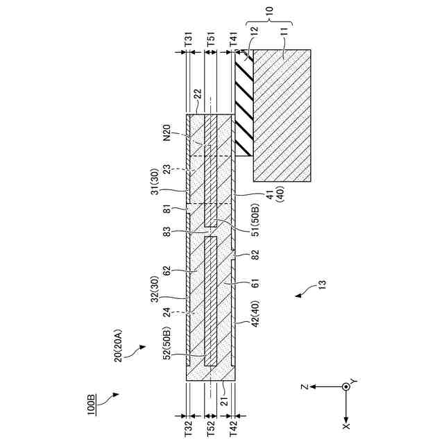
カンチレバーを例示する断面図である。
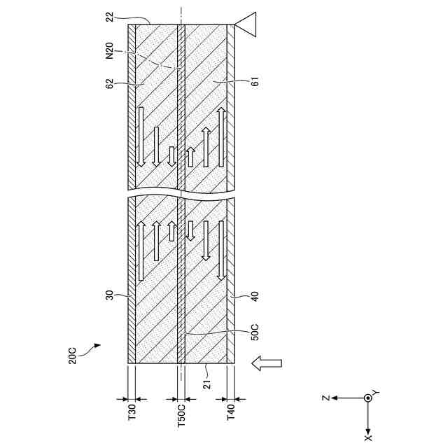
比較例に係るカンチレバーを例示する断面図である。
中間電極の厚み率と電圧との関係を示すグラフである。
第2実施形態に係る音響変換装置を例示する平面図である。
第2実施形態に係る音響変換装置を例示する断面図である。
第3実施形態に係る音響変換装置を例示する平面図である。
第3実施形態に係る音響変換装置を例示する斜視図である。
第3実施形態に係る音響変換装置を底面側から例示する斜視図である。
第3実施形態に係る音響変換装置を例示する断面図である。
振動板(圧電膜)を拡大して例示する部分拡大断面図である。
音圧を受けて変形する振動板に発生した電荷の分布を例示する側面図である。
第4実施形態に係る音響変換装置を例示する平面図である。
第4実施形態に係る音響変換装置を例示する断面図であり、図14中のIX-IX線に沿う断面図である。
第4実施形態に係る音響変換装置の回路図である。
センシング領域径割合と規格化されたSNRとの関係を示すグラフである。
【発明を実施するための形態】
【0008】
以下、実施形態に係る音響変換装置について、添付の図面を参照しながら説明する。尚、本明細書及び図面において、実質的に同一の構成要素については、同一の符号を付することにより重複した説明を省く場合がある。また、本明細書において、「上」及び「下」との用語を使用する場合がある。これは、例えば図2に示されている状態における「上」及び「下」であり、Z軸方向において、上部電極30が配置されている方を「上」とし、下部電極40が配置されている方を「下」とする。実際の音響変換装置100の配置はこれに限定されない。
【0009】
[第1実施形態に係る音響変換装置100]
図1は、第1実施形態に係る音響変換装置100を例示する斜視図である。図2は、第1実施形態に係る音響変換装置を例示する断面図である。図3は、カンチレバー20(20A)を例示する断面図である。なお、各図において、互いに直交するX軸方向、Y軸方向、及びZ軸方向を図示する場合がある。X軸方向、Y軸方向、及びZ軸方向は、直交していなくてもよい。X軸方向、Y軸方向、及びZ軸方向は任意の方向でもよい。X軸方向は、第1方向の一例である。Y軸方向は、第1方向と交差する方向である。
【0010】
図1及び図2に示す音響変換装置100は、圧電素子(圧電膜)を有する圧電式の音響変換装置である。音響変換装置100は、例えばマイクロフォン(MEMSマイク)でもよい。音響変換装置100は、ノイズキャンセルの用途に使用されるものでもよい。音響変換装置100は、TWS(Ture wireless stereo)でもよく、自動車に搭載される車載の装置でもよい。音響変換装置100は、例えば補聴器として使用されるものでもよい。音響変換装置100は、物理量を検出可能であればよく、用途は特に限定されない。物理量は、例えば音圧でもよい。
(【0011】以降は省略されています)
この特許をJ-PlatPat(特許庁公式サイト)で参照する
関連特許
ミツミ電機株式会社
超音波風速計
1か月前
ミツミ電機株式会社
音響変換装置
1か月前
ミツミ電機株式会社
超音波風速計
1か月前
ミツミ電機株式会社
音響変換装置
1か月前
ミツミ電機株式会社
音響変換装置
1か月前
ミツミ電機株式会社
多方向入力装置
12日前
ミツミ電機株式会社
多方向入力装置
12日前
ミツミ電機株式会社
多方向入力装置
12日前
ミツミ電機株式会社
半導体装置の製造方法
18日前
ミツミ電機株式会社
圧力検出素子及び圧力センサ
11日前
ミツミ電機株式会社
充電制御装置、及び、電池パック
1か月前
ミツミ電機株式会社
超音波風速計、及び風速測定方法
1か月前
ミツミ電機株式会社
DC-DCコンバータおよび電源用半導体集積回路
1か月前
ミツミ電機株式会社
駆動装置、カメラモジュールおよびカメラ搭載装置
1か月前
ミツミ電機株式会社
駆動装置、カメラモジュールおよびカメラ搭載装置
1か月前
ミツミ電機株式会社
羽根駆動装置、カメラモジュール及びカメラ搭載装置
19日前
ミツミ電機株式会社
モーター、羽根駆動装置、カメラモジュール及びカメラ搭載装置
19日前
個人
イヤーピース
1か月前
個人
イヤーマフ
1か月前
個人
監視カメラシステム
1か月前
個人
スイッチシステム
1か月前
キーコム株式会社
光伝送線路
1か月前
個人
スキャン式車載用撮像装置
1か月前
サクサ株式会社
中継装置
2か月前
WHISMR合同会社
収音装置
2か月前
サクサ株式会社
中継装置
2か月前
キヤノン株式会社
撮像装置
10日前
キヤノン株式会社
撮像装置
3日前
アイホン株式会社
電気機器
2か月前
キヤノン株式会社
撮像装置
3日前
キヤノン株式会社
撮像装置
3日前
キヤノン電子株式会社
画像読取装置
1か月前
キヤノン電子株式会社
画像読取装置
1か月前
サクサ株式会社
無線通信装置
2か月前
サクサ株式会社
無線システム
1か月前
ヤマハ株式会社
放音制御装置
1か月前
続きを見る
他の特許を見る