TOP
|
特許
|
意匠
|
商標
特許ウォッチ
Twitter
他の特許を見る
10個以上の画像は省略されています。
公開番号
2025148941
公報種別
公開特許公報(A)
公開日
2025-10-08
出願番号
2024049323
出願日
2024-03-26
発明の名称
圧力開放蓋
出願人
タキロンシーアイ株式会社
代理人
弁理士法人前田特許事務所
主分類
E03F
5/10 20060101AFI20251001BHJP(上水;下水)
要約
【課題】緊急時に流体の排出を効率的に行うことができ、安全性や耐久性に優れた回転防止機能を備えた圧力開放蓋を提供する。
【解決手段】圧力開放蓋100の中央部に流体排出部120が設けられる。流体排出部120は、排出孔121と軸受部122と軸受支持部123とを備える。軸受部122は、軸受孔122aを有すると共に、軸受支持部123に支持されて流体排出部120の略中央に位置する。流体排出部120を覆う開放弁150の摺動軸152は、軸受孔122aに摺動可能に挿入される。開放弁150は、摺動軸152を取り囲む回転防止部153を有し、回転防止部153は、軸受支持部123と対向するように、弁本体151の外端と中心との中間よりも当該中心側にのみ配置される。排出孔121の開口面積は、圧力開放蓋100の面積の20%以上である。
【選択図】図3
特許請求の範囲
【請求項1】
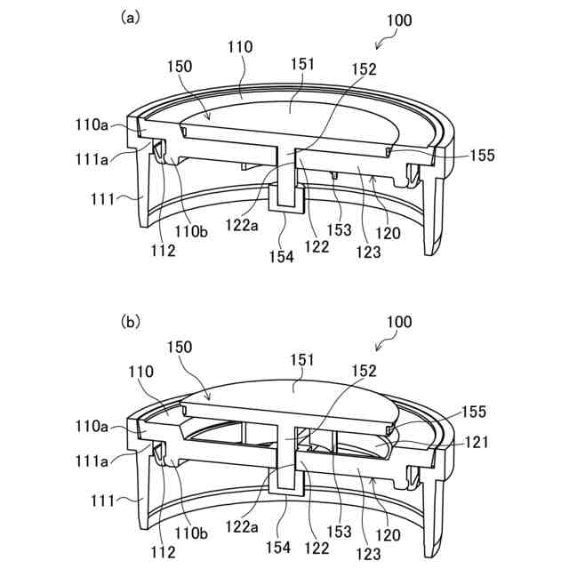
排水配管の点検口に設置される圧力開放蓋であって、
前記圧力開放蓋は、蓋本体と、開放弁とを備え、
前記蓋本体の中央部に流体排出部が設けられ、
前記流体排出部は、排出孔と、軸受部と、軸受支持部とを備え、
前記軸受支持部は、前記排出孔の周縁から中央に向かって延び、
前記軸受部は、軸受孔を有すると共に、前記軸受支持部に支持されて前記流体排出部の略中央に位置し、
前記開放弁は、弁本体と、摺動軸と、回転防止部とを備え、
前記弁本体は、前記流体排出部の全体を覆い、
前記摺動軸は、前記弁本体の中央部に設けられると共に、前記軸受孔に摺動可能に挿入され、
前記回転防止部は、前記弁本体から前記摺動軸を取り囲むように垂下すると共に、前記弁本体の外端と中心との中間よりも当該中心側にのみ配置され、
前記回転防止部と前記軸受支持部とは互いに対向し、
前記排出孔の開口面積は、前記圧力開放蓋の面積の20%以上である、
圧力開放蓋。
続きを表示(約 350 文字)
【請求項2】
前記弁本体は、平面視において真円形状とは異なる形状を有する、
請求項1に記載の圧力開放蓋。
【請求項3】
前記弁本体の周縁には、前記弁本体の外方に突出する突出部が設けられる、
請求項1に記載の圧力開放蓋。
【請求項4】
前記摺動軸における前記弁本体と反対側の先端部は、前記開放弁が浮上した際に前記摺動軸が所定の距離以上摺動しないように規制する摺動規制部であり、当該摺動規制部は、前記軸受孔内で回転不能な寸法を持つ、
請求項1~3のいずれか1項に記載の圧力開放蓋。
【請求項5】
前記摺動軸における前記摺動規制部の少なくとも近傍部分は、前記軸受孔内で回転可能な寸法を持つ、
請求項4に記載の圧力開放蓋。
発明の詳細な説明
【技術分野】
【0001】
本開示は、排水配管を逆流してきた流体を排水配管外に排出する開放弁を備えた圧力開放蓋に関するものである。
続きを表示(約 1,800 文字)
【背景技術】
【0002】
トイレ等の屋内排水設備から排出される排水は、地中に埋設された排水配管を経由して下水管へ排出される。近年、気象の変化に伴う豪雨の増加による内水氾濫等の水害の影響が深刻化しているが、台風等で大量の雨水が短時間に下水管内に流入すると、下水管の排水能力を超えてあふれ出た排水が排水配管を逆流する場合がある。このような場合に備えて、排水の逆流による住宅等への被害を最小限とするために、逆流してきた流体(気体及び/又は液体)を排水配管の外部へ緊急的に排出する開放弁を備えた圧力開放蓋が排水配管に設けられる。
【0003】
圧力開放蓋は、宅地内の排水配管の下流側に設置することで、住宅等への被害をより効果的に抑制することが可能となるが、例えば、排水配管の下流側に駐車場がある場合、人が圧力開放蓋上を歩行した際に開放弁が回転して歩行者が滑る恐れがある。また、自動車のタイヤが圧力開放蓋上に載った状態で運転手がハンドルを切る(いわゆる据え切り)と、過剰な荷重がかかって開放弁が破損する恐れがある。
【0004】
特許文献1、2には、このような問題点に対応した圧力開放蓋が開示されている。特許文献1に開示されている圧力開放蓋は、人が歩行するといった軽~中程度の力では開放弁が回転せず、自動車のタイヤの据え切りといった大きな力では開放弁が回転することにより、開放弁の破損を防ぐ構造を有する。特許文献2に開示されている圧力開放蓋は、気体の排出時には中央の開放弁が作動し、液体の排出時には蓋全体が持ち上がることによって、圧力を開放する構造を有する。
【先行技術文献】
【特許文献】
【0005】
特開2013-256760号公報
特開2018-025026号公報
【発明の概要】
【発明が解決しようとする課題】
【0006】
しかし、特許文献1に開示されている圧力開放蓋は、通気孔のサイズが小さいため、気体だけではなく液体も排水配管を逆流してきた際に流体排出量が不足して、圧力開放蓋が飛散する恐れがある。また、特許文献1に開示されている圧力開放蓋の上面には傾斜が設けられるため、圧力開放蓋上を歩行する人が躓く恐れがある。
【0007】
また、特許文献2に開示されている圧力開放蓋は、蓋が飛散しないようにロック機構を正しく使用する必要があるため、作業者がロック機構の操作を失念した場合、圧力開放時に蓋が飛散する恐れがある。また、ロック機構が液体の排出に対して抵抗を生じるという問題や、ロック機構の構造が複雑で製造にコストがかかるなどの問題がある。
【0008】
前記に鑑み、本開示は、緊急時には流体の排出を効率的に行うことができると共に安全性や耐久性に優れた強固な回転防止機能を備えた、簡単な構造で使用しやすい圧力開放蓋を提供することを目的とする。
【課題を解決するための手段】
【0009】
前記の目的を達成するために、本開示に係る圧力開放蓋は、排水配管の点検口に設置される圧力開放蓋であって、前記圧力開放蓋は、蓋本体と、開放弁とを備える。前記蓋本体の中央部に流体排出部が設けられる。前記流体排出部は、排出孔と、軸受部と、軸受支持部とを備える。前記軸受支持部は、前記排出孔の周縁から中央に向かって延びる。前記軸受部は、軸受孔を有すると共に、前記軸受支持部に支持されて前記流体排出部の略中央に位置する。前記開放弁は、弁本体と、摺動軸と、回転防止部とを備える。前記弁本体は、前記流体排出部の全体を覆う。前記摺動軸は、前記弁本体の中央部に設けられると共に、前記軸受孔に摺動可能に挿入される。前記回転防止部は、前記弁本体から前記摺動軸を取り囲むように垂下すると共に、前記弁本体の外端と中心との中間よりも当該中心側にのみ配置される。前記回転防止部と前記軸受支持部とは互いに対向する。前記排出孔の開口面積は、前記圧力開放蓋の面積の20%以上である。
【0010】
本開示に係る圧力開放蓋によると、開放弁の摺動軸を摺動可能に支持する軸受支持部と、開放弁において摺動軸を取り囲むように垂下する回転防止部とが対向する。このため、回転防止部の変位が軸受支持部によって規制されることにより、開放弁の回転が防止されるので、安全性や耐久性に優れた強固な回転防止機能を実現できる。
(【0011】以降は省略されています)
この特許をJ-PlatPat(特許庁公式サイト)で参照する
関連特許
丸一株式会社
排水配管部材
1日前
株式会社田中設備
蓋体
1か月前
TOTO株式会社
トイレ装置
1か月前
個人
ドクター中まミズつクル
2か月前
一文機工株式会社
トイレ装置
6日前
TOTO株式会社
排水システム
1か月前
TOTO株式会社
排水システム
1か月前
タイガースポリマー株式会社
側溝
2か月前
株式会社KVK
水栓
1か月前
TOTO株式会社
便座装置
2か月前
ミサワホーム株式会社
外構
1か月前
株式会社KVK
水栓
2か月前
株式会社KVK
水栓
2か月前
株式会社KVK
水栓
2か月前
TOTO株式会社
トイレ装置
2か月前
TOTO株式会社
トイレ装置
2か月前
TOTO株式会社
トイレ装置
2か月前
株式会社タカギ
水栓装置
3か月前
ホーコス株式会社
床置型グリース阻集器
2か月前
TOTO株式会社
浴室床
3か月前
TOTO株式会社
洗面器及び洗面台
2か月前
TOTO株式会社
洗面器及び洗面台
2か月前
クリナップ株式会社
キッチン
1か月前
三興建設株式会社
下水道バイパス装置
3か月前
TOTO株式会社
洗い場床
3か月前
株式会社Deto
吐水器
1か月前
共立製薬株式会社
小便器用排水システム
今日
TOTO株式会社
トイレ装置
3か月前
TOTO株式会社
排水管継手
3か月前
TOTO株式会社
トイレ装置
3か月前
TOTO株式会社
排水管継手
3か月前
株式会社LIXIL
便器装置
2か月前
株式会社LIXIL
便器装置
1か月前
飛島建設株式会社
仮設壁の構築方法
1か月前
株式会社タカギ
水栓
1か月前
株式会社タカギ
水栓
1か月前
続きを見る
他の特許を見る