TOP
|
特許
|
意匠
|
商標
特許ウォッチ
Twitter
他の特許を見る
公開番号
2025148666
公報種別
公開特許公報(A)
公開日
2025-10-08
出願番号
2024048906
出願日
2024-03-26
発明の名称
グリップ型駆動装置
出願人
キヤノン株式会社
代理人
個人
,
個人
,
個人
主分類
G03B
17/56 20210101AFI20251001BHJP(写真;映画;光波以外の波を使用する類似技術;電子写真;ホログラフイ)
要約
【課題】可動部および操作部を有するグリップ型駆動装置をユーザが片手で安定して保持できるようにする。
【解決手段】グリップ型駆動装置1は、ユーザが片手で保持する保持部25を含む固定部2と、該固定部に対してアクチュエータにより駆動される可動部3とを有する。固定部は、第1の方向に延びる保持部と、該保持部における第1の面25aとの間で前記片手を挟み込む挟持部26と、保持部を保持した片手の指で操作される第1の操作部22とを有する。可動部、第1の操作部および保持部が第1の方向においてこの順で配置されている。第1の操作部を、固定部のうち保持部よりも可動部側の部分における第1の面とは反対側の第2の面27に配置する。
【選択図】図2
特許請求の範囲
【請求項1】
ユーザが片手で保持する保持部を含む固定部と、
該固定部に対してアクチュエータにより駆動される可動部とを有するグリップ型駆動装置であって、
前記固定部は、第1の方向に延びる前記保持部と、該保持部における第1の面との間で前記片手を挟み込む挟持部と、前記保持部を保持した前記片手の指で操作される第1の操作部とを有し、
前記可動部、前記第1の操作部および前記保持部が前記第1の方向においてこの順で配置されており、
前記第1の操作部は、前記固定部のうち前記保持部よりも可動部側の部分における前記第1の面とは反対側の第2の面に配置されていることを特徴とするグリップ型駆動装置。
続きを表示(約 760 文字)
【請求項2】
前記挟持部は、前記第1の方向に延び、前記第1の面との間に前記第1の方向に直交する第2の方向から前記片手を挿入可能な開口を形成することを特徴とする請求項1に記載のグリップ型駆動装置。
【請求項3】
前記挟持部のうち前記第1の方向における可動部側とは反対側の第1の端部が、前記保持部における前記第1の方向の端部に固定されていることを特徴とする請求項1に記載のグリップ型駆動装置。
【請求項4】
前記保持部は、前記片手の前記第1の方向における可動部側への移動を制限する制限部を有することを特徴とする請求項1に記載のグリップ型駆動装置。
【請求項5】
前記固定部のうち前記可動部側の部分における前記第2の面とは反対側の第3の面に配置された第2の操作部を有し、
前記挟持部のうち前記第1の方向における可動部側の第2の端部が、前記保持部のうち前記第2の操作部に隣り合う位置にて前記保持部に対して固定されていることを特徴とする請求項1に記載のグリップ型駆動装置。
【請求項6】
前記可動部は、互いに直交する3軸回りで前記アクチュエータにより回転駆動されるジンバル部と、該ジンバル部により保持され、撮像を行う撮像部とを有することを特徴とする請求項1に記載のグリップ型駆動装置。
【請求項7】
前記第1の操作部が操作されることで、前記可動部が駆動されることを特徴とする請求項1に記載のグリップ型駆動装置。
【請求項8】
前記挟持部の使用を検出する検出部を有し、
前記使用が検出されない状態では、該使用が検出された状態に比べて前記可動部の駆動を制限することを特徴とする請求項1に記載のグリップ型駆動装置。
発明の詳細な説明
【技術分野】
【0001】
本発明は、アクチュエータ駆動される可動部をユーザが保持(グリップ)および操作することができるグリップ型駆動装置に関する。
続きを表示(約 1,200 文字)
【背景技術】
【0002】
上記のようなグリップ型駆動装置は、デジタルカメラ等の撮像部を含む可動部に連結された固定部をユーザが片手で保持して使用される。特許文献1には、可動部を有さないが、ベルト状の部材(ストラップ)を備えることで、ユーザが安定して手で保持できる撮像装置が開示されている。
【先行技術文献】
【特許文献】
【0003】
特開2007-33941号公報
【発明の概要】
【発明が解決しようとする課題】
【0004】
可動部を有するグリップ型駆動装置では、ユーザは、可動部が駆動される際に固定部に作用する反力によってグリップ型駆動装置が不安定にならないように固定部をしっかりと保持する必要がある。また、固定部に可動部やこれに保持された撮像装置を操作するための操作部が設けられている場合には、ユーザが親指等で操作部を操作する際に固定部の保持が不安定になるおそれがある。
【0005】
本発明は、可動部および操作部を有しつつ、ユーザが片手で安定して保持することができるグリップ型駆動装置を提供する。
【課題を解決するための手段】
【0006】
本発明の一側面としてのグリップ型駆動装置は、ユーザが片手で保持する保持部を含む固定部と、該固定部に対してアクチュエータにより駆動される可動部とを有する。固定部は、第1の方向に延びる保持部と、該保持部における第1の面との間で前記片手を挟み込む挟持部と、保持部を保持した片手の指で操作される第1の操作部とを有する。可動部、第1の操作部および保持部が第1の方向においてこの順で配置されている。第1の操作部は、固定部のうち保持部よりも可動部側の部分における第1の面とは反対側の第2の面に配置されていることを特徴とする。
【発明の効果】
【0007】
本発明によれば、可動部および操作部を有するグリップ型駆動装置を、ユーザが片手で安定して保持することができる。
【図面の簡単な説明】
【0008】
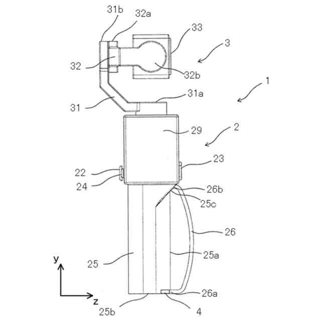
実施例のジンバルカメラの構成を示す斜視図。
ジンバルカメラの別の斜視図。
ジンバルカメラの側面図。
【発明を実施するための形態】
【0009】
以下、本発明の実施例について図面を参照しながら説明する。
【実施例】
【0010】
図1および図2はそれぞれ、本発明の実施例であるグリップ型駆動装置としてのジンバルカメラ1の互いに異なる方向から見た外観を示している。図3は、ジンバルカメラ1を側方(後述するx方向)から見て示している。図1、図2および図3において、互いに直交するx方向、y方向およびz方向はそれぞれ、ジンバルカメラ1の左右方向、上下方向および前後方向を示している。
(【0011】以降は省略されています)
この特許をJ-PlatPat(特許庁公式サイト)で参照する
関連特許
キヤノン株式会社
トナー
今日
キヤノン株式会社
トナー
今日
キヤノン株式会社
トナー
今日
キヤノン株式会社
トナー
5日前
キヤノン株式会社
電子機器
13日前
キヤノン株式会社
記録装置
21日前
キヤノン株式会社
撮像装置
20日前
キヤノン株式会社
記録装置
20日前
キヤノン株式会社
撮像装置
19日前
キヤノン株式会社
撮像装置
1日前
キヤノン株式会社
定着装置
19日前
キヤノン株式会社
撮像装置
13日前
キヤノン株式会社
収容装置
13日前
キヤノン株式会社
電子機器
13日前
キヤノン株式会社
撮像装置
21日前
キヤノン株式会社
表示装置
12日前
キヤノン株式会社
発光装置
12日前
キヤノン株式会社
電子機器
9日前
キヤノン株式会社
撮像装置
5日前
キヤノン株式会社
記録装置
5日前
キヤノン株式会社
電子機器
7日前
キヤノン株式会社
電子機器
21日前
キヤノン株式会社
定着装置
13日前
キヤノン株式会社
定着装置
28日前
キヤノン株式会社
定着装置
28日前
キヤノン株式会社
定着装置
28日前
キヤノン株式会社
電子機器
28日前
キヤノン株式会社
半導体装置
7日前
キヤノン株式会社
光学センサ
今日
キヤノン株式会社
現像剤容器
6日前
キヤノン株式会社
モジュール
今日
キヤノン株式会社
画像形成装置
28日前
キヤノン株式会社
画像形成装置
9日前
キヤノン株式会社
画像形成装置
5日前
キヤノン株式会社
画像形成装置
5日前
キヤノン株式会社
画像形成装置
5日前
続きを見る
他の特許を見る