TOP
|
特許
|
意匠
|
商標
特許ウォッチ
Twitter
他の特許を見る
公開番号
2025148309
公報種別
公開特許公報(A)
公開日
2025-10-07
出願番号
2025049441
出願日
2025-03-25
発明の名称
排便予測補助システム、排便予測補助方法及び排便予測補助プログラム
出願人
三洋化成工業株式会社
代理人
個人
,
個人
,
個人
,
個人
主分類
A61F
5/44 20060101AFI20250930BHJP(医学または獣医学;衛生学)
要約
【課題】データの蓄積が無い場合であっても、対象者(例えば、被介護者)の排便タイミングを従来よりも精度よく予測するための補助となる情報を提示することによりユーザ(例えば、介護者)の手間を省くことができるシステムを提供する。
【解決手段】対象者の放屁を検知するセンサ部と、前記対象者に関する対象者情報を取得する取得部と、前記センサ部により検知された放屁に関する放屁情報と前記取得部により取得された前記対象者情報とをユーザに対して提示する提示部と、を備え、前記ユーザによる前記対象者の排便予測を補助する、排便予測補助システム。
【選択図】図1
特許請求の範囲
【請求項1】
対象者の放屁を検知するセンサ部と、
前記対象者に関する対象者情報を取得する取得部と、
前記センサ部により検知された放屁に関する放屁情報と前記取得部により取得された前記対象者情報とをユーザに対して提示する提示部と、を備え、
前記ユーザによる前記対象者の排便予測を補助する、排便予測補助システム。
続きを表示(約 940 文字)
【請求項2】
対象者の放屁を検知するセンサ部と、
前記対象者に関する対象者情報を取得する取得部と、
前記センサ部により検知された放屁に関する放屁情報と前記取得部により取得された前記対象者情報とを記憶する記憶部と、
前記記憶部に記憶された前記放屁情報と前記対象者情報とに基づいて前記対象者の次回の排便に関する排便予測情報を推定する推定部と、を備えた、排便予測補助システム。
【請求項3】
前記センサ部が、センサと、該センサから出力される信号に基づいて、放屁があったことを判定する放屁判定部とを備えるものである、請求項1又は2に記載の排便予測補助システム。
【請求項4】
前記放屁情報が、前記センサから出力され、前記放屁判定部により放屁であると判定された信号の種類、強度及び検知時間のうちのいずれか1つ以上を含むものである、請求項3に記載の排便予測補助システム。
【請求項5】
前記対象者情報が、前記対象者を識別するための識別情報を含むものである、請求項1又は2に記載の排便予測補助システム。
【請求項6】
前記対象者情報が、前記対象者の食事情報、前記対象者の排泄情報、前記対象者の投薬情報及び前記対象者の運動情報とのうちの少なくとも1つを含む、請求項1又は2に記載の排便予測補助システム。
【請求項7】
前記排便予測情報が、次回の排便タイミング及び/又は次回の排便介助に必要な介助情報を含む、請求項2に記載の排便予測補助システム。
【請求項8】
前記センサが、ガスを検知可能なセンサである、請求項3に記載の排便予測補助システム。
【請求項9】
前記センサが、所定の時間間隔で検知を行うものである、請求項3に記載の排便予測補助システム。
【請求項10】
前記提示部が、前記放屁情報、前記対象者情報及び前記排便予測情報のうちの1つ以上を光及び/又は音を介してユーザに提示するものであり、
前記対象者情報が前記対象者を特定しないものである、請求項1又は2に記載の排便予測補助システム。
(【請求項11】以降は省略されています)
発明の詳細な説明
【技術分野】
【0001】
この発明は、排便予測補助システム、排便予測補助方法及び排便予測補助プログラムに関するものである。
続きを表示(約 4,100 文字)
【背景技術】
【0002】
例えば、介護現場において、排泄の失敗は被介護者にとって重大な自尊心の喪失であり、特に排便についてはその程度が大きい。介護者は可能な限り被介護者が自立的な排泄を行えるように介助行動を行うことが重要である。一方で、被介護者自身の体力や便意の認知の衰えなども相まって、介護者が適切なタイミングで被介護者をトイレに誘導することは困難である。
【0003】
しかしながら、従来は、おむつ内の便の状態をいち早く検知することは多く検討されてきたが(特許文献1、特許文献2)、排便を予測する有効な手法はない。また、排便を予測するシステムとして事前の排泄のリズムを参考にする検討もされているが(特許文献3)、過去の排泄タイミングに基づき次回排便の時刻を予測することから、使用に際する即時性がなく、また生活習慣が変化しないことが前提となっており、食事や運動習慣等の変化が考慮されていないため、健康状態や運動機能の変化を伴う場合は予測の精度が劣ると共に、介護者毎の大量のデータを採取してモデル化する必要があり、実際の介護現場で使用する際に障壁が大きいという問題がある。
【先行技術文献】
【特許文献】
【0004】
特開2022-163815号公報
特開2022-068409号公報
特開2021-121978号公報
【発明の概要】
【発明が解決しようとする課題】
【0005】
本発明は前述した問題に鑑みてなされたものであり、データの蓄積が無い場合であっても、対象者(例えば、被介護者)の排便タイミングを従来よりも精度よく予測するための補助となる情報を提示して、ユーザ(例えば、介護者)が被介護者を適切なタイミングでトイレに誘導したり、適切な時期におむつ交換等を行ったりすることで、対象者(例えば、被介護者)の自尊心を向上させるとともに、トイレへの誘導やおむつ交換等といった重労働を頻繁に行うことによるユーザの負担を取り除くことができるシステムを提供することを目的とする。
【課題を解決するための手段】
【0006】
すなわち本発明に係る排便予測補助システム及び排便予測補助方法及び排便予測補助プログラムは、以下の通りである。
[1]対象者の放屁を検知するセンサ部と、前記対象者に関する対象者情報を取得する取得部と、前記センサ部により検知された放屁に関する放屁情報と前記取得部により取得された前記対象者情報とをユーザに対して提示する提示部と、を備え、前記ユーザによる前記対象者の排便予測を補助する、排便予測補助システム。
[2]対象者の放屁を検知するセンサ部と、前記対象者に関する対象者情報を取得する取得部と、前記センサ部により検知された放屁に関する放屁情報と前記取得部により取得された前記対象者情報とを記憶する記憶部と、前記記憶部に記憶された前記放屁情報と前記対象者情報とに基づいて前記対象者の次回の排便に関する排便予測情報を推定する推定部とを備えた、排便予測補助システム。
[3]前記センサ部が、センサと、該センサから出力される信号に基づいて、放屁があったことを判定する放屁判定部とを備えるものである、[1]又は[2]に記載の排便予測補助システム。
[4]前記放屁情報が、前記センサから出力され、前記放屁判定部により放屁であると判定された信号の種類、強度及び検知時間のうちのいずれか1つ以上を含むものである、[3]に記載の排便予測補助システム。
[5]前記対象者情報が、前記対象者を識別するための識別情報を含むものである、[1]~[4]のいずれか一項に記載の排便予測補助システム。
[6]前記対象者情報が、前記対象者の食事情報、前記対象者の排泄情報、前記対象者の投薬情報及び前記対象者の運動情報とのうちの少なくとも1つを含む、[1]~[5]のいずれか一項に記載の排便予測補助システム。
[7]前記排便予測情報が、次回の排便タイミング及び/又は次回の排便介助に必要な介助情報を含む、[2]に記載の排便予測補助システム。
[8]前記センサが、ガスを検知可能なセンサである、[3]又は[4]に記載の排便予測補助システム。
[9]前記センサが、所定の時間間隔で検知を行うものである、[3]又は[4]に記載の排便予測補助システム。
[10]前記提示部が、前記放屁情報、前記対象者情報及び前記排便予測情報のうちの1つ以上を光及び/又は音を介してユーザに提示するものであり、
前記対象者情報が前記対象者を特定しないものである、[1]~[9]のいずれか一項に記載の排便予測補助システム。
[11]前記提示部が、前記放屁情報、前記対象者情報及び前記排便予測情報のうちの1つ以上をユーザに対して提示する端末をさらに備えた、[1]~[10]のいずれか一項に記載の排便予測補助システム。
[12]前記端末が、ポップアップ画面、表示画面の色調変化及び表示画面の明度変化のうちの1つ以上により前記排便予測情報を表示する、[11]に記載の排便予測補助システム。
[13]前記推定部が、前記記憶部に記憶された前記放屁情報と前記対象者情報とを含む教師データに基づいて得られた機械学習モデルを用いて前記対象者の次回の排便予測情報を推定するものである、[2]又は[7]に記載の排便予測補助システム。
[14]対象者の放屁をセンサ部により検知し、前記対象者に関する対象者情報を取得し、前記センサ部により検知された放屁に関する放屁情報と取得した前記対象者情報とをユーザに対して提示する、排便予測補助方法。
[15]対象者の放屁をセンサ部により検知し、前記対象者に関する対象者情報を取得し、前記センサ部により検知された放屁に関する放屁情報と取得した前記対象者情報とを記憶し、記憶された前記放屁情報と前記対象者情報とに基づいて前記対象者の次回の排便に関する排便予測情報を推定する排便予測補助方法。
[16]センサ部により検知された対象者の放屁に関する放屁情報と取得部により取得された前記対象者に関する対象者情報とを含む教師データに基づいて得られた機械学習モデルを用いて前記対象者の次回の排便に関する排便予測情報を推定する推定部としての機能をコンピュータに発揮させることを特徴とする排便予測補助プログラム。
[17]センサ部により検知された対象者の放屁に関する放屁情報と取得部により取得された前記対象者に関する対象者情報とを含む教師データを取得する教師データ受付部と、前記教師データ受付部によって取得された前記教師データに基づいて前記対象者の次回の排便に関する排便予測情報を推定するための機械学習モデルを生成する機械学習モデル生成部とを備える、機械学習装置。
[18]センサ部により検知された対象者の放屁に関する放屁情報と取得部により取得された前記対象者に関する対象者情報とを含む教師データを取得し、取得された前記教師データに基づいて前記対象者の次回の排便に関する排便予測情報を推定するための機械学習モデルを生成する機械学習方法。
[19]センサ部により検知された対象者の放屁に関する放屁情報と取得部により取得された前記対象者に関する対象者情報とを含む教師データを取得するデータ受付部と、前記データ受付部によって取得された前記教師データに基づいて前記対象者の次回の排便に関する排便予測情報を推定するための機械学習モデルを生成する機械学習モデル生成部としての機能をコンピュータに発揮させる、機械学習プログラム。
【発明の効果】
【0007】
本発明によれば、データの蓄積が無い場合であっても、対象者の排便タイミングを従来よりも精度よく予測するための補助となる情報を提示することにより、ユーザ(例えば介護者)が被介護者を適切なタイミングでトイレに誘導したり、適切な時期におむつ交換等を行ったりすることで、対象者(例えば、被介護者)の自尊心を向上させるとともに、トイレへの誘導やおむつ交換等といった重労働を頻繁に行うことによるユーザの負担を取り除くことができる。
【図面の簡単な説明】
【0008】
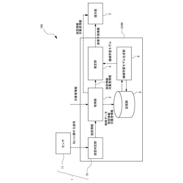
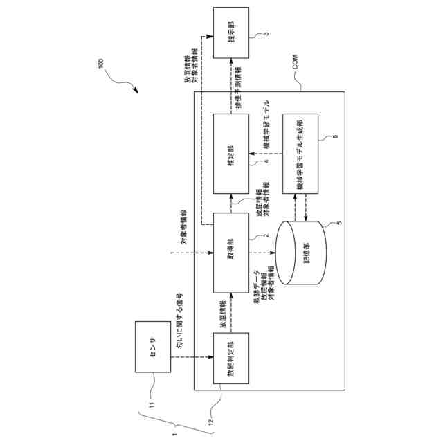
本発明の一実施形態に係る排便予測補助システムの全体模式図。
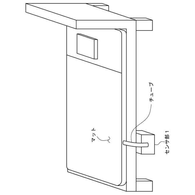
本実施形態に係る排便予測補助システムのセンサ部付近の構造を説明する図。
本実施形態に係る排便予測補助システムによって排便予測を補助する手順及び予測結果を示す模式図。
本実施形態に係る排便予測補助システムによって排便予測を補助する手順及び予測結果を示す模式図。
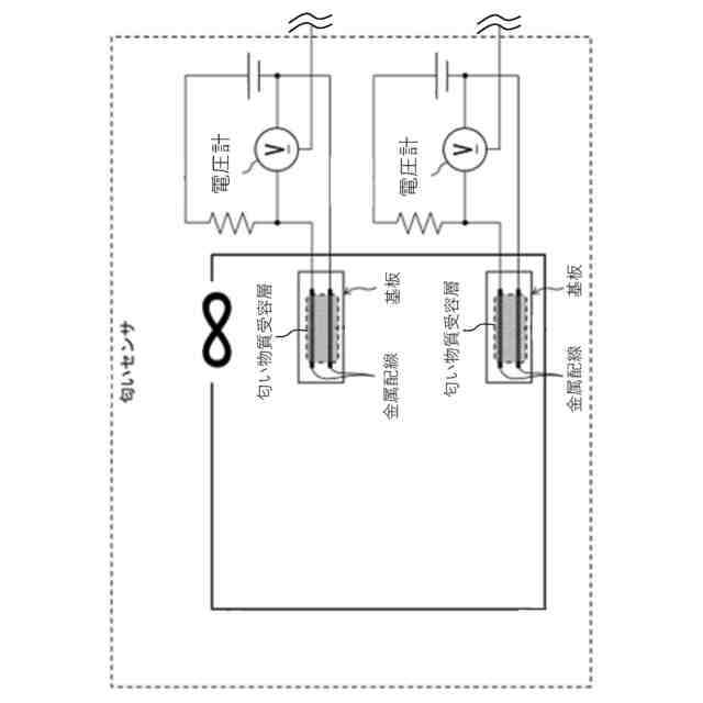
本実施形態に係る排便予測補助システムに用いられているセンサを示す模式図。
本発明に係る他の実施形態に係る機械学習装置を示す模式図。
本発明の一実施例に係る排便予測補助システムのセンサ部付近の構造を説明する図。
図7に示すセンサ部による放屁の検出結果を示すグラフ。
【発明を実施するための形態】
【0009】
以下に本発明の一実施形態について図面を参照して説明する。
【0010】
<本実施形態に係る排便予測補助システムの構成>
本実施形態に係る排便予測補助システム100は、ユーザによる対象者の排便予測を補助するものであり、例えば、図1に示すように、対象者の放屁を検知するセンサ部1と、前記対象者に関する対象者情報を取得する取得部2と、前記センサ部1により検知された放屁に関する放屁情報と前記取得部により取得された前記対象者情報とをユーザに対して提示する提示部3と、を備えるものである。
(【0011】以降は省略されています)
この特許をJ-PlatPat(特許庁公式サイト)で参照する
関連特許
三洋化成工業株式会社
水処理薬剤
1か月前
三洋化成工業株式会社
口腔ケア食品
4日前
三洋化成工業株式会社
温度差センサー
1か月前
三洋化成工業株式会社
熱成形用樹脂組成物
今日
三洋化成工業株式会社
植物用生育補助剤及び植物の生育方法
28日前
三洋化成工業株式会社
二次電池用正極組成物及び二次電池用正極の製造方法
4日前
三洋化成工業株式会社
二次電池用正極組成物、二次電池用正極及び二次電池
1か月前
三洋化成工業株式会社
二次電池用電極組成物、二次電池用電極、及び二次電池
1か月前
三洋化成工業株式会社
化粧料用組成物、化粧料及び化粧料用組成物の製造方法
8日前
三洋化成工業株式会社
二次電池用電極組成物、二次電池用電極、及び二次電池
1か月前
三洋化成工業株式会社
脂肪族アルコールアルキレンオキサイド付加物の製造方法
27日前
三洋化成工業株式会社
膜モジュールのシール材用ポリウレタン樹脂形成性組成物
1か月前
三洋化成工業株式会社
二次電池用セパレータ及び二次電池用セパレータの製造方法
12日前
三洋化成工業株式会社
情報処理システム、情報処理方法、制御プログラム、記録媒体
1か月前
三洋化成工業株式会社
植物用生育補助剤及び植物用生育補助剤を用いる植物の生育方法
26日前
三洋化成工業株式会社
香粧品レコメンドシステム、香粧品レコメンド方法及びプログラム
1か月前
三洋化成工業株式会社
情報処理システム、情報処理方法、制御プログラム、および記録媒体
29日前
三洋化成工業株式会社
情報処理システム、情報処理方法、制御プログラム、および記録媒体
29日前
三洋化成工業株式会社
排便予測補助システム、排便予測補助方法及び排便予測補助プログラム
今日
三洋化成工業株式会社
難燃性ポリウレタンフォーム製造用ポリオール組成物及び難燃性ポリウレタンフォーム
今日
個人
健康器具
7か月前
個人
歯茎みが品
8か月前
個人
鼾防止用具
7か月前
個人
短下肢装具
2か月前
個人
脈波測定方法
7か月前
個人
洗井間専家。
6か月前
個人
白内障治療法
6か月前
個人
導電香
8か月前
個人
前腕誘導装置
2か月前
個人
嚥下鍛錬装置
3か月前
個人
マッサージ機
8か月前
個人
脈波測定方法
7か月前
個人
アイマスク装置
1か月前
個人
胸骨圧迫補助具
1か月前
個人
歯の修復用材料
3か月前
個人
クリップ
8か月前
続きを見る
他の特許を見る