TOP
|
特許
|
意匠
|
商標
特許ウォッチ
Twitter
他の特許を見る
10個以上の画像は省略されています。
公開番号
2025145637
公報種別
公開特許公報(A)
公開日
2025-10-03
出願番号
2024045925
出願日
2024-03-22
発明の名称
保護画像の生成方法及びプログラム
出願人
学校法人 名城大学
代理人
弁理士法人グランダム特許事務所
主分類
G06T
5/60 20240101AFI20250926BHJP(計算;計数)
要約
【課題】学習されたモデルによって出力される画像に特定のパターンを生じさせることができる保護画像の生成方法及びプログラムを提供する。
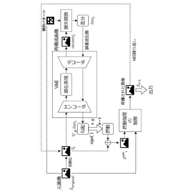
【解決手段】保護画像の生成方法は、対象画像である入力画像に基づく画像と標的パターンに基づく画像との差分を計算する差分計算工程と、対象画像に対する差分が小さくなるように入力画像から減算する摂動を計算する摂動計算工程と、対象画像を摂動に基づいて更新して更新画像を取得する画像取得工程と、を備えている。保護画像の生成方法は、画像取得工程で取得する更新画像を差分計算工程の入力画像として差分計算工程、摂動計算工程、及び画像取得工程を繰り返し行って取得する更新画像を、対象画像の保護画像として生成する。
【選択図】図6
特許請求の範囲
【請求項1】
対象画像である入力画像に基づく画像と標的パターンに基づく画像との差分を計算する差分計算工程と、
前記対象画像に対する差分が小さくなるように前記入力画像から減算する摂動を計算する摂動計算工程と、
前記対象画像を前記摂動に基づいて更新して更新画像を取得する画像取得工程と、
を備え、
前記画像取得工程で取得する前記更新画像を前記差分計算工程の前記入力画像として前記差分計算工程、前記摂動計算工程、及び前記画像取得工程を繰り返し行って取得する前記更新画像を、前記対象画像の保護画像として生成する
保護画像の生成方法。
続きを表示(約 1,300 文字)
【請求項2】
前記対象画像を前記入力画像として変分オートエンコーダのエンコーダに入力して潜在表現を取得する潜在表現取得工程と、
前記潜在表現を前記変分オートエンコーダのデコーダに入力して再構成画像を取得する再構成画像取得工程と、
前記再構成画像と標的パターンとの差分を計算する前記差分計算工程と、
前記対象画像に対する差分が小さくなるように前記入力画像から減算する摂動を計算する前記摂動計算工程と、
前記対象画像を前記摂動に基づいて更新して更新画像を取得する前記画像取得工程と、
を備え、
前記画像取得工程で取得する前記更新画像を前記潜在表現取得工程の前記入力画像として前記潜在表現取得工程、前記再構成画像取得工程、前記差分計算工程、前記摂動計算工程、及び前記画像取得工程を繰り返し行って取得する前記更新画像を、前記対象画像の保護画像として生成する
請求項1に記載の保護画像の生成方法。
【請求項3】
前記対象画像である前記入力画像と標的パターンとを同じ条件で拡散する拡散工程と、
拡散された前記入力画像から予測ノイズを予測する予測工程と、
予測された前記予測ノイズを用いて拡散した前記入力画像と拡散した前記標的パターンとを逆拡散する逆拡散工程と、
逆拡散した前記入力画像と逆拡散した前記標的パターンとの差分を計算する前記差分計算工程と、
前記対象画像に対する差分が小さくなるように前記入力画像から減算する摂動を計算する前記摂動計算工程と、
前記対象画像を前記摂動に基づいて更新して更新画像を取得する前記画像取得工程と、
を備え、
前記画像取得工程で取得する前記更新画像を前記拡散工程の前記入力画像として前記拡散工程、前記予測工程、前記逆拡散工程、前記差分計算工程、前記摂動計算工程、及び前記画像取得工程を繰り返し行って取得する前記更新画像を、前記対象画像の保護画像として生成する
請求項1に記載の保護画像の生成方法。
【請求項4】
前記拡散工程では、
前記入力画像を変分オートエンコーダのエンコーダに入力して第1潜在表現を取得し、前記第1潜在表現に対して拡散用ノイズを加算して拡散するとともに、
前記標的パターンを前記変分オートエンコーダのエンコーダに入力して第2潜在表現を取得し、前記第2潜在表現に対して前記拡散用ノイズを加算して拡散する
請求項3に記載の保護画像の生成方法。
【請求項5】
前記画像取得工程では、前記入力画像から前記摂動を減算した画像と前記対象画像とを比較して予め決められた設定値を超えないように前記摂動を調整して、調整した前記摂動を前記対象画像に加算して前記更新画像を取得する
請求項1から請求項4のいずれか一項に記載の保護画像の生成方法。
【請求項6】
請求項1から請求項4のいずれか一項に記載の保護画像の生成方法をコンピュータに実行させるプログラム。
発明の詳細な説明
【技術分野】
【0001】
本発明は、保護画像の生成方法及びプログラムに関する。
続きを表示(約 1,400 文字)
【背景技術】
【0002】
近年、深層ニューラルネットワーク(DNN)を始めとする人工知能(AI)技術は目覚ましい進歩を遂げている。特に、自然言語による指示を基に画像やテキストを生成する生成AIは、多岐にわたる応用が期待されており、多くの画像生成サービスが公開されている。
【0003】
一方で、これらの画像生成AIは、一部で不適切な利用の問題を引き起こす。例えば、インターネット上等に公開された画像がその権利者に無断で生成時の条件付けとして用いられる等、インターネット上の画像が許可なく生成に冒用される問題が発生している。さらに、権利侵害だけでなく、事実とは異なる情報を含む画像が生成されることで、SNS等において悪意あるユーザによってフェイクニュースの流布等に利用される可能性がある。
【0004】
そこで、画像生成AIに対して、無許可でのコンテンツ利用を防ぐことを実現する対策手法が求められている。例えば、特許文献1に開示される1ピクセル攻撃サンプルの生成方法は、認識対象画像の画素点の位置Pの各画素値をトラバーサルし、且つ各数値の予め設定したニューラルネットワークNにおける認識確率が最も低い時の画素値V’を取得し、認識対象画像Xにおける画素位置Pの画素値をV’に修正し、敵対的サンプルX’を得るステップを含む。この構成によって、認識対象画像の1つの画素点を変更してニューラルネットワークが画像を正確に認識する確率を低下させている。
【先行技術文献】
【特許文献】
【0005】
特開2020-170495号公報
【発明の概要】
【発明が解決しようとする課題】
【0006】
特許文献1に開示されるような攻撃サンプルの生成方法では、コンテンツ保護が十分になされておらず、より一層のコンテンツ保護が求められている。
【0007】
本発明は、上記従来の事情に鑑みてなされたものであって、学習されたモデルによって出力される画像に特定のパターンを生じさせることができる保護画像の生成方法及びプログラムを提供することを一つの目的とする。
【課題を解決するための手段】
【0008】
本開示の保護画像の生成方法は、
対象画像である入力画像に基づく画像と標的パターンに基づく画像との差分を計算する差分計算工程と、
前記対象画像に対する差分が小さくなるように前記入力画像から減算する摂動を計算する摂動計算工程と、
前記対象画像を前記摂動に基づいて更新して更新画像を取得する画像取得工程と、
を備え、
前記画像取得工程で取得する前記更新画像を前記差分計算工程の前記入力画像として前記差分計算工程、前記摂動計算工程、及び前記画像取得工程を繰り返し行って取得する前記更新画像を、前記対象画像の保護画像として生成する。
【0009】
本開示のプログラムは、上記保護画像の生成方法をコンピュータに実行させる。
【発明の効果】
【0010】
本開示に係る技術は、学習されたモデルによって出力される画像に特定のパターンを生じさせることができる。
【図面の簡単な説明】
(【0011】以降は省略されています)
この特許をJ-PlatPat(特許庁公式サイト)で参照する
関連特許
学校法人 名城大学
部材
6か月前
学校法人千葉工業大学
光電変換素子
5か月前
学校法人 名城大学
中心線の検出方法
5か月前
学校法人 名城大学
レーザ端面の形成方法
3か月前
学校法人 名城大学
窒化物半導体発光素子
9か月前
学校法人 名城大学
結晶成長用基板の作製方法
3か月前
学校法人 名城大学
半導体発光素子用エピウエハ
3か月前
学校法人名古屋電気学園
通信アダプタ及び通信システム
7か月前
学校法人 名城大学
摺動部材及び摺動部材の製造方法
5日前
学校法人 名城大学
保護画像の生成方法及びプログラム
1か月前
学校法人 名城大学
保護画像の生成方法及びプログラム
1か月前
学校法人 名城大学
単層カーボンナノチューブの製造方法
2か月前
学校法人 名城大学
軟骨診断システムおよび生体診断システム
6か月前
学校法人 名城大学
LEDデバイス、及びLEDデバイスの製造方法。
2か月前
豊田合成株式会社
III族窒化物半導体の製造方法
7か月前
株式会社IHI
被膜を備える摺動部品及び被膜の形成方法
7か月前
学校法人 名城大学
窒化物半導体発光素子の製造方法、及び窒化物半導体発光素子
3か月前
豊田合成株式会社
III族窒化物半導体およびその製造方法
3か月前
株式会社小糸製作所
半導体発光素子および半導体発光素子の製造方法
4か月前
株式会社小糸製作所
半導体発光素子、および半導体発光素子の製造方法
4か月前
株式会社小糸製作所
半導体発光素子、および半導体発光素子の製造方法
4か月前
河村電器産業株式会社
無線給電システム、無線給電装置及び無線給電方法
3か月前
株式会社島津製作所
微生物分析用試料の調製方法、微生物の分析方法、微生物の識別方法および微生物分析用キット
9か月前
個人
詐欺保険
1か月前
個人
縁伊達ポイン
1か月前
個人
5掛けポイント
24日前
個人
職業自動販売機
17日前
個人
RFタグシート
1か月前
個人
QRコードの彩色
1か月前
個人
ペルソナ認証方式
1か月前
個人
地球保全システム
2か月前
個人
自動調理装置
1か月前
個人
情報処理装置
27日前
個人
残土処理システム
1か月前
個人
農作物用途分配システム
1か月前
個人
タッチパネル操作指代替具
1か月前
続きを見る
他の特許を見る