TOP
|
特許
|
意匠
|
商標
特許ウォッチ
Twitter
他の特許を見る
10個以上の画像は省略されています。
公開番号
2025145338
公報種別
公開特許公報(A)
公開日
2025-10-03
出願番号
2024045456
出願日
2024-03-21
発明の名称
半導体装置の製造方法
出願人
株式会社レゾナック
代理人
個人
,
個人
,
個人
,
個人
主分類
H01L
21/52 20060101AFI20250926BHJP(基本的電気素子)
要約
【課題】埋込部でのボイドを抑制できる半導体装置の製造方法を提供する。
【解決手段】この半導体装置の製造方法は、第1の半導体チップ3が搭載された基板2と、第2の半導体チップ4に接着層24が積層された接着層付き半導体チップ31とを準備する準備工程と、接着層24が基板2を向くようにして接着層付き半導体チップ31を基板2に熱圧着し、基板2と第2の半導体チップ4との間で第1の半導体チップ3を埋め込む埋込部5を形成する形成工程と、を含み、形成工程では、接着層24において第1の半導体チップに当接する当接領域Rを圧着前に部分的に加熱する。
【選択図】図8
特許請求の範囲
【請求項1】
第1の半導体チップが搭載された基板と、第2の半導体チップに接着層が積層された接着層付き半導体チップとを準備する準備工程と、
前記接着層が前記基板を向くようにして前記接着層付き半導体チップを前記基板に熱圧着し、前記基板と前記第2の半導体チップとの間で前記第1の半導体チップを埋め込む埋込部を形成する形成工程と、を含み、
前記形成工程では、前記接着層において前記第1の半導体チップに当接する当接領域を圧着前に部分的に加熱する、半導体装置の製造方法。
続きを表示(約 210 文字)
【請求項2】
前記形成工程では、前記基板と共に前記第1の半導体チップを加熱し、前記当接領域を前記第1の半導体チップに接触させて所定時間止めた後、前記接着層付き半導体チップを前記基板に圧着する、請求項1記載の半導体装置の製造方法。
【請求項3】
前記形成工程では、レーザ光の照射によって前記当接領域を加熱した後、前記接着層付き半導体チップを前記基板に圧着する、請求項1記載の半導体装置の製造方法。
発明の詳細な説明
【技術分野】
【0001】
本開示は、半導体装置の製造方法に関する。
続きを表示(約 1,500 文字)
【背景技術】
【0002】
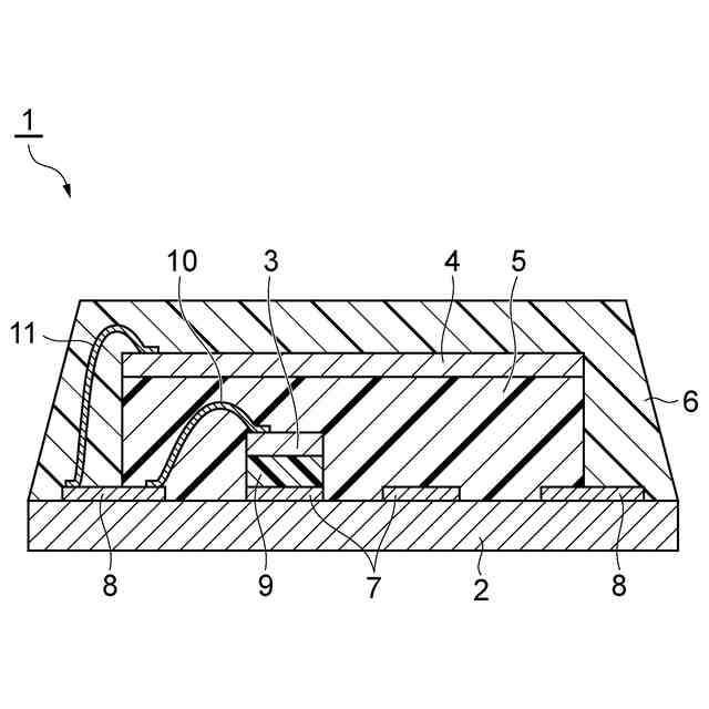
近年、多段に積層された半導体チップによって高容量化されたスタックドMCP(Multi Chip Package)が普及している。スタックドMCPの例として、チップ埋込型の半導体パッケージが挙げられる。半導体チップが接着フィルムによって埋め込まれた半導体パッケージの構造は、FOD(Film Over Die)と称される。FODが採用された半導体パッケージの一例として、基板の一面に配置されたコントローラチップを、接着フィルムを用いた埋込部によって基板とメモリチップとの間で埋め込む構造のものがある(例えば特許文献1参照)。
【先行技術文献】
【特許文献】
【0003】
特開2014-175459号公報
【発明の概要】
【発明が解決しようとする課題】
【0004】
FOD構造を有する半導体パッケージの製造においては、半導体チップが接着フィルムを用いた埋込部によって十分に埋め込まれること(埋込性)が求められている。埋込性に関しては、ボイドの抑制の両立が重要となっている。ボイドとは、基板とメモリチップとの間で埋込部内に空隙が生じてしまう現象である。埋込部でボイドが生じると、半導体パッケージの信頼性に影響することが考えられる。
【0005】
本開示は、上記課題の解決のためになされたものであり、埋込部でのボイドを抑制できる半導体装置の製造方法を提供することを目的とする。
【課題を解決するための手段】
【0006】
本開示の要旨は、以下に示すとおりである。
【0007】
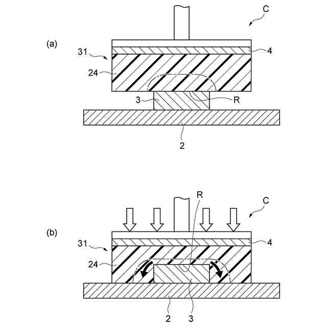
[1]第1の半導体チップが搭載された基板と、第2の半導体チップに接着層が積層された接着層付き半導体チップとを準備する準備工程と、前記接着層が前記基板を向くようにして前記接着層付き半導体チップを前記基板に熱圧着し、前記基板と前記第2の半導体チップとの間で前記第1の半導体チップを埋め込む埋込部を形成する形成工程と、を含み、前記形成工程では、前記接着層において前記第1の半導体チップに当接する当接領域を圧着前に部分的に加熱する、半導体装置の製造方法。
【0008】
この半導体装置の製造方法では、埋込部を形成する形成工程において、基板上の第1の半導体チップに当接する接着層の当接領域を圧着前に部分的に加熱する。接着層を圧着前に部分的に加熱することにより、その後の圧着の際に接着層の当接領域の近傍で接着層の流動及び荷重による変形が生じ得る。したがって、この半導体装置の製造方法では、第1の半導体チップの周囲の空気の残留が解消され、埋込部でのボイドを抑制できる。
【0009】
[2]前記形成工程では、前記基板と共に前記第1の半導体チップを加熱し、前記当接領域を前記第1の半導体チップに接触させて所定時間止めた後、前記接着層付き半導体チップを前記基板に圧着する、[1]記載の半導体装置の製造方法。この場合、第1の半導体チップの加熱温度と、第1の半導体チップと当接領域との当接時間とによって、接着層への入熱量を制御できる。したがって、接着層の部分的な加熱を簡便に実施できる。
【0010】
[3]前記形成工程では、レーザ光の照射によって前記当接領域を加熱した後、前記接着層付き半導体チップを前記基板に圧着する、[1]記載の半導体装置の製造方法。この場合、レーザ光の照射条件によって、接着層への入熱量及び加熱エリアを制御できる。したがって、接着層の部分的な加熱を簡便に実施できる。
【発明の効果】
(【0011】以降は省略されています)
この特許をJ-PlatPat(特許庁公式サイト)で参照する
関連特許
株式会社レゾナック
冷却装置
4日前
株式会社レゾナック
半導体装置の製造方法
3日前
株式会社レゾナック
半導体装置の製造方法及びフィレット形成抑制方法
3日前
株式会社レゾナック
磁性異物分離装置、磁性異物分離方法、及び封止用樹脂組成物の製造方法
4日前
株式会社レゾナック
半導体パッケージ用基板及び半導体パッケージ用基板の製造方法
7日前
株式会社レゾナック
感光性樹脂組成物、それを用いたドライフィルム、プリント配線板、及びプリント配線板の製造方法
3日前
個人
安全なNAS電池
1か月前
日本発條株式会社
積層体
7日前
個人
フリー型プラグ安全カバー
1か月前
東レ株式会社
多孔質炭素シート
26日前
キヤノン株式会社
電子機器
26日前
エイブリック株式会社
半導体装置
28日前
ローム株式会社
半導体装置
5日前
ローム株式会社
半導体装置
26日前
ローム株式会社
半導体装置
5日前
エイブリック株式会社
半導体装置
28日前
ローム株式会社
半導体装置
5日前
ローム株式会社
半導体装置
3日前
個人
防雪防塵カバー
7日前
株式会社ティラド
面接触型熱交換器
18日前
ニチコン株式会社
コンデンサ
19日前
ニチコン株式会社
コンデンサ
19日前
株式会社GSユアサ
蓄電装置
7日前
個人
半導体パッケージ用ガラス基板
6日前
株式会社ホロン
冷陰極電子源
3日前
株式会社GSユアサ
蓄電装置
3日前
沖電気工業株式会社
アンテナ
1か月前
株式会社GSユアサ
蓄電装置
1か月前
株式会社GSユアサ
蓄電装置
1か月前
株式会社GSユアサ
蓄電装置
1か月前
東レ株式会社
ガス拡散層の製造方法
26日前
オムロン株式会社
電磁継電器
1か月前
太陽誘電株式会社
全固体電池
3日前
ローム株式会社
電子装置
7日前
株式会社ヨコオ
コネクタ
28日前
日本特殊陶業株式会社
保持装置
7日前
続きを見る
他の特許を見る