TOP
|
特許
|
意匠
|
商標
特許ウォッチ
Twitter
他の特許を見る
公開番号
2025146453
公報種別
公開特許公報(A)
公開日
2025-10-03
出願番号
2024047252
出願日
2024-03-22
発明の名称
半導体装置の製造方法及びフィレット形成抑制方法
出願人
株式会社レゾナック
代理人
個人
,
個人
,
個人
,
個人
主分類
H01L
21/60 20060101AFI20250926BHJP(基本的電気素子)
要約
【課題】ボンディング対象物にチップをボンディングする工程においてフィレットの形成を抑制できる半導体装置の製造方法を提供する。
【解決手段】(a)半導体ウェハと、半導体ウェハ上に配置された接着剤層とを備える積層体を準備する工程と、(b)積層体をダイシングすることにより、半導体チップと、半導体チップ上に配置された接着剤片とを備える、複数の接着剤片付きチップを得る工程と、(c)ボンディング対象物に対して接着剤片付きチップをボンディングする工程とを備え、接着剤層及び接着剤片はいずれも、接着性を有する樹脂成分と、樹脂成分の中に分散しているフィラーとを含み、(b)工程の実施後であり且つ(c)工程の実施前において接着剤片の表面に向けてプラズマを照射する、あるいは、(b)工程の実施前において接着剤層の表面に向けてプラズマを照射する、半導体装置の製造方法。
【選択図】図5
特許請求の範囲
【請求項1】
(a)半導体ウェハと、前記半導体ウェハ上に配置された接着剤層とを備える積層体を準備する工程と、
(b)前記積層体をダイシングすることにより、半導体チップと、前記半導体チップ上に配置された接着剤片とを備える、複数の接着剤片付きチップを得る工程と、
(c)ボンディング対象物に対して前記接着剤片付きチップをボンディングする工程と、
を備え、
前記接着剤層及び前記接着剤片はいずれも、接着性を有する樹脂成分と、前記樹脂成分の中に分散しているフィラーとを含み、
(b)工程の実施後であり且つ(c)工程の実施前において、前記接着剤片の表面に向けてプラズマを照射する、半導体装置の製造方法。
続きを表示(約 790 文字)
【請求項2】
(a)半導体ウェハと、前記半導体ウェハ上に配置された接着剤層とを備える積層体を準備する工程と、
(b)前記積層体をダイシングすることにより、半導体チップと、前記半導体チップ上に配置された接着剤片とを備える、複数の接着剤片付きチップを得る工程と、
(c)ボンディング対象物に対して前記接着剤片付きチップをボンディングする工程と、
を備え、
前記接着剤層及び前記接着剤片はいずれも、接着性を有する樹脂成分と、前記樹脂成分の中に分散しているフィラーとを含み、
(b)工程の実施前において、前記接着剤層の表面に向けてプラズマを照射する、半導体装置の製造方法。
【請求項3】
前記プラズマの照射により、前記接着剤片の表面近傍の前記樹脂成分を除去する、請求項1に記載の半導体装置の製造方法。
【請求項4】
前記プラズマの照射により、前記接着剤層の表面近傍の前記樹脂成分を除去する、請求項2に記載の半導体装置の製造方法。
【請求項5】
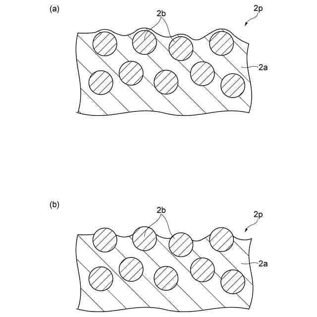
前記プラズマの照射前、前記接着剤片の表面近傍において前記樹脂成分に埋もれていた前記フィラーが前記プラズマの照射後、前記接着剤片の表面に露出している、請求項1に記載の半導体装置の製造方法。
【請求項6】
前記プラズマの照射前、前記接着剤層の表面近傍において前記樹脂成分に埋もれていた前記フィラーが前記プラズマの照射後、前記接着剤層の表面に露出している、請求項2に記載の半導体装置の製造方法。
【請求項7】
接着性を有する樹脂成分と、前記樹脂成分の中に分散しているフィラーとを含む接着フィルムを使用して半導体装置を製造するプロセスにおいて、前記接着フィルムの表面に向けてプラズマを照射する、フィレット形成抑制方法。
発明の詳細な説明
【技術分野】
【0001】
本開示は半導体装置の製造方法及びフィレット形成抑制方法に関する。
続きを表示(約 2,200 文字)
【背景技術】
【0002】
従来、例えば、TSV(Through-Silicon Via)の技術を用いて基板上に複数の半導体チップが積層された半導体装置を製造する方法が知られている(例えば、特許文献1,2参照)。このような方法では、基板と複数の半導体チップとの間にフィルム状接着剤等のアンダーフィル材を配置することで、基板上に、複数の半導体チップを積層する。
【先行技術文献】
【特許文献】
【0003】
国際公開第2023/074474号
米国特許出願公開第2021/210397号明細書
【発明の概要】
【発明が解決しようとする課題】
【0004】
フィルム状接着剤は接続時に流動するため、基板と複数の半導体チップとの間から流動した接着剤がはみ出して、複数のフィレットが形成される。フィレットは、基板と半導体チップとの間からはみ出した接着剤(又はその硬化物)であり、基板と半導体チップとの間から突出している。このため、フィレットは外部応力を受けやすく、フィレットが外部応力を受けると、半導体チップが破損する可能性がある。
【0005】
なお、特許文献1には、フィレットの発生量を低減することを課題として、アンダーフィル材として、光硬化性及び熱硬化性を有する第1の接着剤領域と光硬化性を有さず熱硬化性を有する第2の接着剤領域とを有する半導体用フィルム状接着剤が記載されている。しかし、特許文献1に記載された技術は、特定のアンダーフィル材を用いる必要があるため、汎用性の点で改善の余地があった。
【0006】
本開示は、ボンディング対象物に半導体チップをボンディングする工程においてフィレットが形成されることを抑制できる半導体装置の製造方法を提供する。また、本開示は、接着性を有する樹脂成分と、樹脂成分の中に分散しているフィラーとを含む接着フィルムを使用して半導体装置を製造するプロセスにおけるフィレット形成を抑制する方法を提供する。
【課題を解決するための手段】
【0007】
本開示の一側面は半導体装置の製造方法に関する。この製造方法は、(a)半導体ウェハと、半導体ウェハ上に配置された接着剤層とを備える積層体を準備する工程と、(b)積層体をダイシングすることにより、半導体チップと、半導体チップ上に配置された接着剤片とを備える、複数の接着剤片付きチップを得る工程と、(c)ボンディング対象物に対して接着剤片を介して半導体チップをボンディングする工程とを備え、接着剤層及び接着剤片はいずれも、接着性を有する樹脂成分と、樹脂成分の中に分散しているフィラーとを含み、(b)工程の実施後であり且つ(c)工程の実施前において、接着剤片の表面に向けてプラズマを照射する、あるいは、(b)工程の実施前において、接着剤層の表面に向けてプラズマを照射する。
【0008】
本開示の一側面はフィレット形成抑制方法に関する。この方法は、接着性を有する樹脂成分と、樹脂成分の中に分散しているフィラーとを含む接着フィルムを使用して半導体装置を製造するプロセスにおいて、接着フィルムの表面に向けてプラズマを照射することを含む。なお、ここでいう「接着フィルム」は上記の「接着剤層」及び「接着剤片」を包含する概念である。
【発明の効果】
【0009】
本開示によれば、ボンディング対象物に半導体チップをボンディングする工程においてフィレットの形成を抑制できる半導体装置の製造方法が提供される。また、本開示によれば、接着性を有する樹脂成分と、前記樹脂成分の中に分散しているフィラーとを含む接着フィルムを使用して半導体装置を製造するプロセスにおけるフィレット形成を抑制する方法が提供される。
【図面の簡単な説明】
【0010】
図1は、半導体ウェハと接着剤層とを備える積層体の一例を模式的に示す断面図である。
図2は、バックグラインドに使用する積層フィルムの一例を模式的に示す断面図である。
図3は、図1に示す積層体をダイシングしている様子を模式的に示す断面図である。
図4は、ボンディング対象物に対してチップをボンディングしている様子を模式的に示す断面図である。
図5は、接着剤片の表面に向けてプラズマを照射している様子を模式的に示す断面図である。
図6(a)は、プラズマ照射前における接着剤片の表面近傍を模式的に示す断面図であり、図6(b)はプラズマ照射後における接着剤片の表面近傍を模式的に示す断面図である。
図7は、接着剤層の表面に向けてプラズマを照射している様子を模式的に示す断面図である。
図8(a)~図8(c)は比較例1の結果を示す画像である。
図9(a)~図9(c)は実施例1の結果を示す画像である。
図10(a)は比較例1の接着剤片の表面を拡大して示すFESEM画像であり、図10(b)は実施例1の接着剤片の表面を拡大して示すFESEM画像である。
図11は比較例2及び実施例2~4の結果を示す表である。
【発明を実施するための形態】
(【0011】以降は省略されています)
この特許をJ-PlatPat(特許庁公式サイト)で参照する
関連特許
個人
安全なNAS電池
1か月前
東レ株式会社
多孔質炭素シート
26日前
日本発條株式会社
積層体
7日前
エイブリック株式会社
半導体装置
28日前
ローム株式会社
半導体装置
26日前
キヤノン株式会社
電子機器
26日前
ローム株式会社
半導体装置
3日前
ローム株式会社
半導体装置
5日前
エイブリック株式会社
半導体装置
28日前
ローム株式会社
半導体装置
5日前
個人
防雪防塵カバー
7日前
ローム株式会社
半導体装置
5日前
株式会社GSユアサ
蓄電装置
1か月前
株式会社GSユアサ
蓄電装置
3日前
株式会社ティラド
面接触型熱交換器
18日前
株式会社GSユアサ
蓄電装置
7日前
個人
半導体パッケージ用ガラス基板
6日前
東レ株式会社
ガス拡散層の製造方法
26日前
太陽誘電株式会社
全固体電池
3日前
オムロン株式会社
電磁継電器
1か月前
株式会社ホロン
冷陰極電子源
3日前
ニチコン株式会社
コンデンサ
19日前
ニチコン株式会社
コンデンサ
19日前
株式会社ヨコオ
コネクタ
28日前
日本特殊陶業株式会社
保持装置
1か月前
ローム株式会社
電子装置
7日前
TDK株式会社
電子部品
3日前
日本特殊陶業株式会社
保持装置
5日前
日本特殊陶業株式会社
保持装置
3日前
日本特殊陶業株式会社
保持装置
7日前
トヨタ自動車株式会社
二次電池
7日前
マクセル株式会社
配列用マスク
18日前
日本特殊陶業株式会社
保持装置
3日前
東レエンジニアリング株式会社
実装装置
3日前
ローム株式会社
半導体装置
7日前
ローム株式会社
半導体装置
27日前
続きを見る
他の特許を見る