TOP
|
特許
|
意匠
|
商標
特許ウォッチ
Twitter
他の特許を見る
公開番号
2025145289
公報種別
公開特許公報(A)
公開日
2025-10-03
出願番号
2024045389
出願日
2024-03-21
発明の名称
内燃機関の制御回路及び自動二輪車
出願人
カワサキモータース株式会社
代理人
弁理士法人有古特許事務所
主分類
F02D
45/00 20060101AFI20250926BHJP(燃焼機関;熱ガスまたは燃焼生成物を利用する機関設備)
要約
【課題】排気ガスの状態を安定化する内燃機関の制御回路を提供する
【解決手段】車両の内燃機関の制御回路は、前記内燃機関がアイドル状態であるという第1条件が満足されるか否かを判定することと、前記内燃機関の排気流路に前記内燃機関を迂回した空気が送り込まれる状態であるという第2条件が満足されるか否かを判定することと、空燃比センサによって前記内燃機関の排気ガスから検出される空燃比に関する空燃比情報を取得することと、前記第1条件及び前記第2条件が満足されるとき、前記空燃比情報に基づき、空燃比の増加及び減少に対応するように前記内燃機関への燃料供給量を増加及び減少する第1フィードバック制御を実行することとを行うように構成される。
【選択図】図2
特許請求の範囲
【請求項1】
車両の内燃機関の制御回路であって、
前記内燃機関がアイドル状態であるという第1条件が満足されるか否かを判定することと、
前記内燃機関の排気流路に前記内燃機関を迂回した空気が送り込まれる状態であるという第2条件が満足されるか否かを判定することと、
空燃比センサによって前記内燃機関の排気ガスから検出される空燃比に関する情報である空燃比情報を取得することと、
前記第1条件及び前記第2条件が満足されるとき、前記空燃比情報に基づき、空燃比の増加及び減少に対応するように前記内燃機関への燃料供給量を増加及び減少する第1フィードバック制御を実行することと、を行うように構成される
制御回路。
続きを表示(約 1,600 文字)
【請求項2】
前記車両が備える変速機が、前記変速機のギヤが前記内燃機関と駆動力を伝達可能に接続されていないニュートラルギヤ状態である第3条件が満足されるか否かを判定するようにさらに構成され、
前記制御回路は、前記第1条件及び前記第2条件に加えて、前記第3条件が満足されるとき、前記第1フィードバック制御を実行する
請求項1に記載の制御回路。
【請求項3】
前記第2条件が満足されないとき、前記空燃比情報に基づき、空燃比の増加及び減少に対応するように前記内燃機関への燃料供給量を増加及び減少する第2フィードバック制御であって、前記第1フィードバック制御と異なる空燃比の制限に従った第2フィードバック制御を実行することと、
前記第2フィードバック制御が実行中でないという第4条件が満足されるか否かを判定することとを行うようにさらに構成され、
前記制御回路は、前記第1条件及び前記第2条件に加えて、前記第4条件が満足されるとき、前記第1フィードバック制御を実行する
請求項1に記載の制御回路。
【請求項4】
前記第2条件が満足されないとき、前記空燃比情報に基づき、空燃比の増加及び減少に対応するように前記内燃機関への燃料供給量を増加及び減少する第2フィードバック制御であって、空燃比をリッチへ遷移させる燃料供給量の上限を制限する第3制限値と空燃比をリーンへ遷移させる燃料供給量の下限を制限する第4制限値との間の領域内に収まるように前記内燃機関への燃料供給量を調整する第2フィードバック制御を実行するようにさらに構成され、
前記制御回路は、前記第1フィードバック制御では、空燃比をリッチへ遷移させる燃料供給量の上限を制限する第1制限値と空燃比をリーンへ遷移させる燃料供給量の下限を制限する第2制限値との間の領域内に収まるように前記内燃機関への燃料供給量を調整し、
前記第1制限値は、前記第3制限値よりも小さい、又は、前記第2制限値は、前記第4制限値よりも大きい
請求項1に記載の制御回路。
【請求項5】
前記第1制限値は、理論空燃比又は前記理論空燃比よりもリーンな空燃比に対応する燃料供給量の制限値である
請求項4に記載の制御回路。
【請求項6】
前記第1フィードバック制御では、
前記空燃比情報に基づき、空燃比がリッチへ遷移する第1状態を検出すると、前記内燃機関への燃料供給量を減少し、
前記空燃比情報に基づき、空燃比がリーンへ遷移する第2状態を検出すると、前記内燃機関への燃料供給量を増加する
請求項1に記載の制御回路。
【請求項7】
前記第1フィードバック制御では、前記第1状態において、一定の燃料供給量を維持するように前記内燃機関への燃料供給量を調整する
請求項6に記載の制御回路。
【請求項8】
燃料供給量を増加、減少又は一定に維持することは、理論空燃比に対応する基準燃料供給量を増減する割合である補正係数を増加、減少又は一定に維持することである
請求項1から7のいずれか一項に記載の制御回路。
【請求項9】
請求項1に記載の制御回路と、
前記内燃機関と、
前記内燃機関に空気を導入する吸気流路と前記内燃機関から排気ガスを導出する前記排気流路とを接続する供給流路と、前記供給流路を開放及び閉鎖する弁とを含む二次エア供給構造と、
前記排気流路において、排気ガスの流通方向で前記供給流路よりも下流に配置される前記空燃比センサと、を備え、
前記制御回路は、前記弁の開閉状態に基づき、前記第2条件が満足されることを判定する
自動二輪車。
発明の詳細な説明
【技術分野】
【0001】
本開示は、内燃機関の制御回路及び自動二輪車に関する。
続きを表示(約 1,900 文字)
【背景技術】
【0002】
特許文献1は、アイドル運転域の運転状態において二次エアが排気ポートに供給される内燃機関を開示する。内燃機関の制御装置は、アイドル運転域では、二次エア供給後の排ガスの空燃比がリーン状態となるように燃料噴射量を制御する。
【先行技術文献】
【特許文献】
【0003】
特開2012-136970号公報
【発明の概要】
【発明が解決しようとする課題】
【0004】
二次エア供給後の排ガスの空燃比をリーン状態とするためには、二次エアの流量の増加が必要になる。二次エアの流量は不安定であるため、排気ガスの状態及び内燃機関の挙動が不安定になり得る。
そこで本開示の一態様は、排気ガスの状態を安定化する内燃機関の制御回路を提供することを目的とする。
【課題を解決するための手段】
【0005】
本開示の一態様に係る制御回路は、車両の内燃機関の制御回路であって、前記内燃機関がアイドル状態であるという第1条件が満足されるか否かを判定することと、前記内燃機関の排気流路に前記内燃機関を迂回した空気が送り込まれる状態であるという第2条件が満足されるか否かを判定することと、空燃比センサによって前記内燃機関の排気ガスから検出される空燃比に関する情報である空燃比情報を取得することと、前記第1条件及び前記第2条件が満足されるとき、前記空燃比情報に基づき、空燃比の増加及び減少に対応するように前記内燃機関への燃料供給量を増加及び減少する第1フィードバック制御を実行することとを行うように構成される。
【図面の簡単な説明】
【0006】
図1は、図1は、例示的な実施の形態に係る車両の構成の一例を示す側面図である。
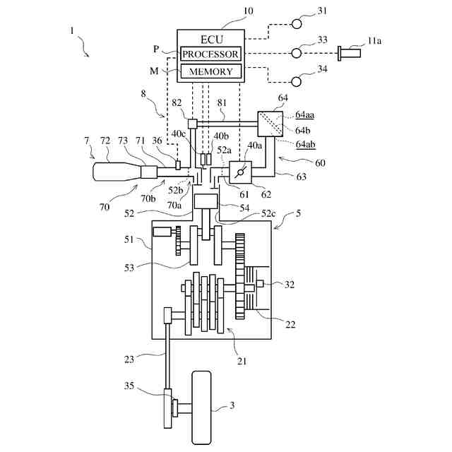
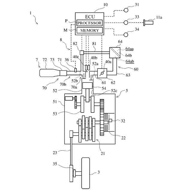
図2は、図1の自動二輪車1の動力系統の一例を示す模式図である。
図3は、二次エア制御弁が閉状態である場合での第2フィードバック制御中の空燃比センサの検出信号、空燃比の推定値、及び燃料噴射量の補正係数の経時的な挙動の一例を示す図である。
図4は、二次エア制御弁が開状態である場合での第1フィードバック制御中の空燃比センサの検出信号、空燃比の推定値、及び燃料噴射量の補正係数の経時的な挙動の一例を示す図である。
図5は、実施の形態に係るECUのフィードバック制御の動作の一例を示すフローチャートである。
【発明を実施するための形態】
【0007】
以下において、本開示の例示的な実施の形態を、図面を参照しつつ説明する。以下で説明する実施の形態は、いずれも包括的又は具体的な例を示すものである。以下の実施の形態における構成要素のうち、最上位概念を示す独立請求項に記載されていない構成要素については、任意の構成要素として説明される。添付の図面における各図は、模式的な図であり、必ずしも厳密に図示されたものでない。各図において、実質的に同一の構成要素に対しては同一の符号を付しており、重複する説明は省略又は簡略化される場合がある。
【0008】
図1を参照しつつ、例示的な実施の形態に係る車両1を説明する。図1は、例示的な実施の形態に係る車両1の構成の一例を示す側面図である。車両1は、1人以上の人を載せて移動することができる移動体である。車両1は、内燃機関を備えるものであればよい。車両1の例は、自動車及び自動二輪車を含み得る。例えば、自動車は、自動車を移動する3つ以上の車輪を含み得る。自動二輪車は、自動二輪車を移動する3つ以下の車輪を含み得る。自動二輪車の例は、人が跨って搭乗する鞍乗型の車両、及び、シートの前方に足踏台を有するスクータ型の車両を含み得る。自動車の例は、自動三輪車及びバギー車を含み得る。
【0009】
以下において、車両1として、鞍乗型の自動二輪車を例示して説明する。このため、「車両1」は、「自動二輪車1」と称される場合がある。
【0010】
ここで、本明細書及び請求項において、上方向、上方、下方向、下方、前方向、前方、後方向、後方、左方向、左方、右方向、右方、側方向及び側方は、水平面上に配置された状態の自動二輪車1を基準とする方向である。上方向及び上方は、水平面から自動二輪車1に向かう方向を指し、下方向及び下方は、自動二輪車1から水平面に向かう方向を指す。前方向及び前方は、自動二輪車1の前進方向を指す。後方向、後方、左方向、左方、右方向、右方、側方向及び側方は、前方向又は前方に対する方向を指す。
(【0011】以降は省略されています)
この特許をJ-PlatPat(特許庁公式サイト)で参照する
関連特許
トヨタ自動車株式会社
車両
27日前
トヨタ自動車株式会社
車両
1か月前
トヨタ自動車株式会社
車両
1か月前
ダイハツ工業株式会社
車両
25日前
スズキ株式会社
車両の制御装置
18日前
ダイハツ工業株式会社
制御装置
24日前
ダイハツ工業株式会社
制御装置
24日前
ダイハツ工業株式会社
制御装置
24日前
スズキ株式会社
内燃機関の制御装置
27日前
トヨタ自動車株式会社
内燃機関
16日前
トヨタ自動車株式会社
車両の制御装置
16日前
株式会社SUBARU
エンジン制御装置
18日前
株式会社SUBARU
エンジン制御装置
24日前
トヨタ自動車株式会社
内燃機関の制御装置
27日前
朝日電装株式会社
スロットルグリップ装置
6日前
個人
流体式推力方向制御装置
6日前
株式会社IHI原動機
脈動減衰装置
16日前
トヨタ自動車株式会社
車両の制御装置
1か月前
トヨタ自動車株式会社
閾値の設定装置
6日前
トヨタ自動車株式会社
エンジン制御装置
2日前
日産自動車株式会社
内燃機関
2日前
本田技研工業株式会社
内燃機関の制御装置
16日前
株式会社豊田自動織機
車両
26日前
日産自動車株式会社
内燃機関
2日前
トヨタ自動車株式会社
内燃機関の制御装置
27日前
株式会社デンソートリム
エンジン制御装置
2日前
本田技研工業株式会社
EGRバルブ制御装置
6日前
トヨタ自動車株式会社
エンジンシステムの診断装置
18日前
トヨタ自動車株式会社
エンジン制御装置
6日前
トヨタ自動車株式会社
内燃機関の燃料供給装置
6日前
トヨタ自動車株式会社
内燃機関の燃料供給装置
2日前
トヨタ自動車株式会社
インジェクタの制御装置
4日前
ヤンマーホールディングス株式会社
エンジン装置
4日前
ヤンマーホールディングス株式会社
エンジン装置
4日前
ヤンマーホールディングス株式会社
エンジン装置
4日前
ヤンマーホールディングス株式会社
エンジン装置
4日前
続きを見る
他の特許を見る