TOP
|
特許
|
意匠
|
商標
特許ウォッチ
Twitter
他の特許を見る
10個以上の画像は省略されています。
公開番号
2025145261
公報種別
公開特許公報(A)
公開日
2025-10-03
出願番号
2024045350
出願日
2024-03-21
発明の名称
壁用下地部材及び壁パネル
出願人
日本製鉄株式会社
代理人
アクシス国際弁理士法人
主分類
E04B
1/82 20060101AFI20250926BHJP(建築物)
要約
【課題】遮音性を向上できる壁用下地部材を提供する。
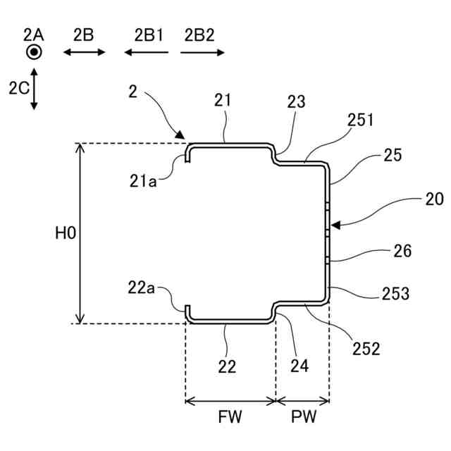
【解決手段】本発明による壁用下地部材2は、ウェブ部20と、ウェブ部20の両端部から第1方向2B1に延びる第1フランジ部21及び第2フランジ部22とを有する長手状の形鋼からなり、第1フランジ部21及び第2フランジ部22の少なくとも一方の外面に面材が接合される壁用下地部材2であって、ウェブ部20には、一端が第1フランジ部21に接続された第1基面23と、一端が第2フランジ部22に接続された第2基面24と、第1基面23及び第2基面24の他端から第1方向2B1とは逆向きの第2方向2B2に突出された凸部25とが設けられている。
【選択図】図2
特許請求の範囲
【請求項1】
ウェブ部と、前記ウェブ部の両端部から第1方向に延びる第1フランジ部及び第2フランジ部とを有する長手状の形鋼からなり、前記第1フランジ部及び第2フランジ部の少なくとも一方の外面に面材が接合される壁用下地部材であって、
前記ウェブ部には、一端が前記第1フランジ部に接続された第1基面と、一端が前記第2フランジ部に接続された第2基面と、前記第1基面及び前記第2基面の他端から前記第1方向とは逆向きの第2方向に突出された凸部とが設けられている、
壁用下地部材。
続きを表示(約 1,200 文字)
【請求項2】
前記凸部には、前記第1基面の前記他端から前記第2方向に延びる第1突面と、前記第2基面の前記他端から前記第2方向に延びる第2突面と、前記第1突面及び前記第2突面の先端間を接続する第3突面とが設けられており、
前記第3突面には、材軸方向に延びる複数の長孔が千鳥状に設けられている、
請求項1に記載の壁用下地部材。
【請求項3】
前記材軸方向に係る前記長孔の幅W1と、前記材軸方向に係る前記長孔の間の幅W2との比W1:W2が10:1であり、
前記複数の長孔は、前記材軸方向に直交する高さ方向に互いに離間された複数の列をなすように配置されており、前記複数の長孔の列のうち前記第1フランジ部に最も近い前記長孔の列を第1列としたとき、前記形鋼の高さH0と、前記第1突面の上面から前記第1列の上端までの距離D0との比H0:D0が100:23である、
請求項2に記載の壁用下地部材。
【請求項4】
前記材軸方向に係る前記長孔の幅W1と、前記材軸方向に係る前記長孔の間の幅W2との比W1:W2が10:1である、
請求項2に記載の壁用下地部材。
【請求項5】
前記長孔の幅W1が60mmであり、前記長孔の間の幅W2が6mmである、
請求項4に記載の壁用下地部材。
【請求項6】
前記複数の長孔は、前記材軸方向に直交する高さ方向に互いに離間された複数の列をなすように配置されており、前記複数の長孔の列のうち前記第1フランジ部に最も近い前記長孔の列を第1列としたとき、前記形鋼の高さH0と、前記第1突面の上面から前記第1列の上端までの距離D0との比H0:D0が100:23である、
請求項2に記載の壁用下地部材。
【請求項7】
前記形鋼の高さH0が100mmであり、前記第1突面の上面から前記第1列の上端までの距離D0が23mmである、
請求項6に記載の壁用下地部材。
【請求項8】
降伏点が400N/mm
2
以上かつ780N/mm
2
以下の鋼材により前記形鋼が構成されている、
請求項1に記載の壁用下地部材。
【請求項9】
前記第1基面及び前記第2基面の前記他端からの前記第2方向に係る前記凸部の突出幅は、10mm以上かつ前記第1フランジ部及び前記第2フランジ部の幅以下である、
請求項1に記載の壁用下地部材。
【請求項10】
それぞれが請求項1から9までのいずれか1項に記載の壁用下地部材からなり、材軸方向に直交する幅方向に互いに間隔を置いて配置された複数の壁用下地部材と、
前記複数の壁用下地部材の前記第1フランジ部及び第2フランジ部の少なくとも一方の外面に接合された少なくとも1枚の面材と
を備える、壁パネル。
発明の詳細な説明
【技術分野】
【0001】
本発明は、面材が接合される壁用下地部材及び壁パネルに関する。
続きを表示(約 1,900 文字)
【背景技術】
【0002】
例えば下記の特許文献1~3等に示されているように、壁用の下地材として形鋼が用いられている。
【0003】
特許文献1には、「上階側及び下階側に固定された上部ランナー及び下部ランナーと、上部ランナー及び下部ランナーに上端部及び下端部が挿入されたスタッドと、スタッドに固定された石膏ボードと、それらで囲まれた中空部に充填されたグラスウールとを備え、スタッドと上部ランナーが面内方向に相対変位することにより建物の層間変位を吸収するようにした軽量鉄骨間仕切り壁であって、スタッドの両側面と石膏ボードとの間に敷目板を千鳥配置の状態に介在させ、上部ランナーとして、横幅がスタッドの横幅よりも大きく且つスタッドの横幅とスタッドの両側に配置される敷目板の厚さとの和より小さいものを使用し、スタッドの上端部両側面と上部ランナーの内側面との間には敷目板の上端より高い位置においてスタッドに貼着した弾性緩衝材を介在させ、ボードと上部ランナーの外側面との間に隙間を形成したことを特徴とする軽量鉄骨間仕切り壁」が開示されている。特許文献1の「スタッド」が下地材に相当する。
【0004】
特許文献2には、「被保持部に直交して構成される基盤、該基盤の両側から直角状に延在する支持部及び該基盤の中央部に形成され該支持部と同方向に形成される膨出部から構成され、該膨出部の両側に複数の遮音開口部を配置して成る遮音部を形成することを特徴とする遮音保持部材」が開示されている。特許文献2の「遮音保持部材」が下地材に相当する。
【0005】
特許文献3には、「互いに一定寸法離間して配置されて、間仕切壁の壁面を形成する一対の壁板間に、吸音材と、上下方向に延在する間柱とが、前記間仕切壁の連続する方向に沿って交互に配設された構成とされ、前記間柱が、前記双方の壁板と直交して位置する基部と、該基部の両端から前記双方の壁板に沿って延出する延出部とを一体に形成してなる断面視略コ字状とされ、前記基部には、上下方向に連続する溝が折り曲げ形成されていることを特徴とする間仕切壁構造」が開示されている。特許文献3の「間柱」が下地材に相当する。
【先行技術文献】
【特許文献】
【0006】
特開2010-242298号公報
特開2012-26191号公報
特開平8-260597号公報
【発明の概要】
【発明が解決しようとする課題】
【0007】
特許文献1のように下地材(スタッド)の両側に面材(敷目板及び石膏ボード)を配置したとき、一方の側の音を下地材が他方の側に伝え、遮音性が下がる傾向にある。
【0008】
特許文献2,3のように下地材のウェブ部(特許文献2の基盤及び特許文献3の基部)に凹部(特許文献2の膨出部及び特許文献3の溝)が形成されることで、音の伝達経路となるウェブ部を実質的に長くでき、遮音性を向上できる可能性が有る。しかしながら、遮音性の更なる向上が求められている。
【0009】
本発明は、上記のような課題を解決するためになされたものであり、その目的の一つは、遮音性を向上できる壁用下地部材及び壁パネルを提供することである。
【課題を解決するための手段】
【0010】
以下、説明のため「C形鋼」、「弓形鋼」及び「凸形鋼」との用語を使用することがある。
「C形鋼」は、ウェブ部と、ウェブ部の両端部から第1方向に延びる第1フランジ部及び第2フランジ部とを有する断面C形の形鋼(溝形鋼)を意味する(図17の左側参照)。
「弓形鋼」は、C形鋼のウェブ部に凹部が設けられたものである。すなわち、「弓形鋼」は、ウェブ部と、ウェブ部の両端部から第1方向に延びる第1フランジ部及び第2フランジ部とを有し、一端が第1フランジ部に接続された第1基面と、一端が第2フランジ部に接続された第2基面と、第1基面及び第2基面の他端から第1方向に突出された凹部とがウェブ部に設けられている形鋼を意味する(図17の中央参照)。
「凸形鋼」は、C形鋼のウェブ部に凸部が設けられたものである。すなわち、「凸形鋼」は、ウェブ部と、ウェブ部の両端部から第1方向に延びる第1フランジ部及び第2フランジ部とを有し、一端が第1フランジ部に接続された第1基面と、一端が第2フランジ部に接続された第2基面と、第1基面及び第2基面の他端から第1方向とは逆向きの第2方向に突出された凸部とがウェブ部に設けられている形鋼を意味する(図17の右側参照)。
(【0011】以降は省略されています)
この特許をJ-PlatPat(特許庁公式サイト)で参照する
関連特許
日本製鉄株式会社
剪断機
10日前
日本製鉄株式会社
鋼部品
1日前
日本製鉄株式会社
床構造
10日前
日本製鉄株式会社
床構造
10日前
日本製鉄株式会社
ボルト
10日前
日本製鉄株式会社
鋼部品
1日前
日本製鉄株式会社
ボルト
1か月前
日本製鉄株式会社
構造部材
20日前
日本製鉄株式会社
管理装置
1か月前
日本製鉄株式会社
耐火構造物
22日前
日本製鉄株式会社
鍛鋼ロール
今日
日本製鉄株式会社
鍛鋼ロール
今日
日本製鉄株式会社
耐火構造物
22日前
日本製鉄株式会社
耐火構造物
22日前
日本製鉄株式会社
リクレーマ
1か月前
日本製鉄株式会社
学習システム
2日前
日本製鉄株式会社
転炉精錬方法
20日前
日本製鉄株式会社
高Ni合金板
1か月前
日本製鉄株式会社
高炉の操業方法
28日前
日本製鉄株式会社
溶鉄の製造方法
1か月前
日本製鉄株式会社
高炉の操業方法
1か月前
日本製鉄株式会社
高炉の操業方法
1日前
日本製鉄株式会社
溶鉄の製造方法
1日前
日本製鉄株式会社
高炉の冷却構造
1か月前
日本製鉄株式会社
ステンレス鋼板
1か月前
日本製鉄株式会社
合成梁及び床構造
20日前
日本製鉄株式会社
スラグの処理方法
今日
日本製鉄株式会社
鋼の連続鋳造方法
今日
日本製鉄株式会社
焼結鉱の製造方法
今日
日本製鉄株式会社
鋼の連続鋳造方法
6日前
日本製鉄株式会社
鋼矢板の製造方法
今日
日本製鉄株式会社
金属材の製造方法
6日前
日本製鉄株式会社
スポット溶接継手
28日前
日本製鉄株式会社
モールドパウダー
今日
日本製鉄株式会社
焼結鉱の製造方法
28日前
日本製鉄株式会社
焼結鉱の製造方法
20日前
続きを見る
他の特許を見る