TOP
|
特許
|
意匠
|
商標
特許ウォッチ
Twitter
他の特許を見る
10個以上の画像は省略されています。
公開番号
2025145086
公報種別
公開特許公報(A)
公開日
2025-10-03
出願番号
2024045092
出願日
2024-03-21
発明の名称
中継システム、中継装置、及びプログラム
出願人
株式会社デンソー
代理人
名古屋国際弁理士法人
主分類
H04L
12/46 20060101AFI20250926BHJP(電気通信技術)
要約
【課題】通信速度の異なる複数種類の下位プロトコルを用い、かつ、上位プロトコルの変換を伴う中継システムにおいて通信効率を向上させ。
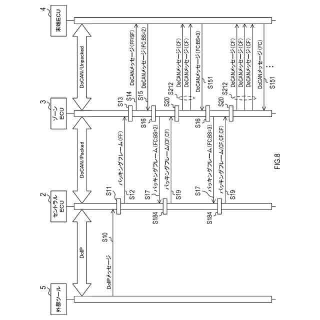
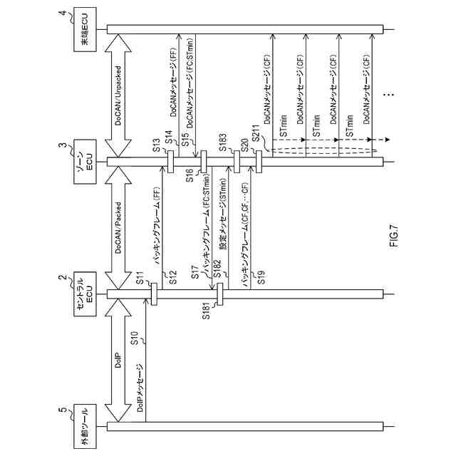
【解決手段】車載システムにおいて、セントラルECU2のプロトコル変換部21、24は、外部ツールとの間で送受信される第1メッセージと、末端ECUとの間で送受信される第2メッセージとを相互に変換する。パッキング部22は、プロトコル変換部21から供給される1つ以上の第2メッセージを結合した結合メッセージを、第3下位プロトコルによってゾーンECU3に送信する。アンパッキング部23は、第3下位プロトコルによってソーンECU3から受信する結合メッセージから、1つ以上の第2メッセージを抽出して、プロトコル変換部24に供給する。
【選択図】図3
特許請求の範囲
【請求項1】
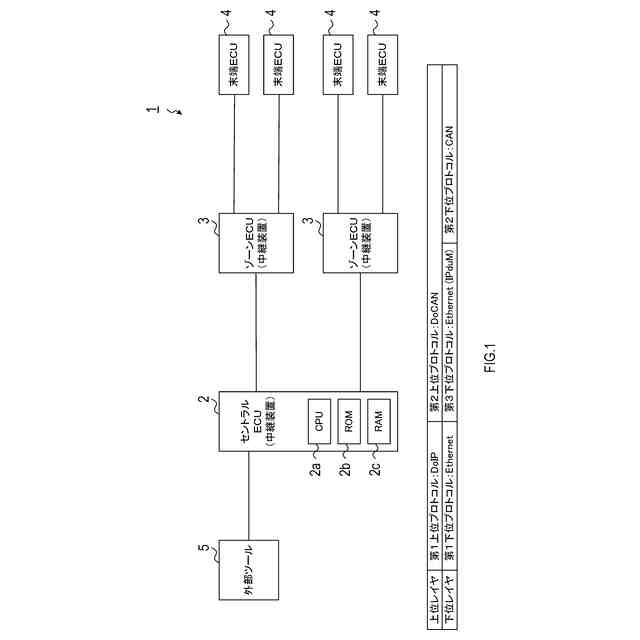
第1電子装置(5)と第2電子装置(4)との通信を中継する中継システムであって、
第1下位プロトコルにより前記第1電子装置と接続され、第1上位プロトコルを用いて前記第1電子装置とのデータの授受を行い、第2上位プロトコルを用いて前記第2電子装置とのデータの授受を行うように構成された第1中継装置(2)と、
第2下位プロトコルにより前記第2電子装置と接続され、前記第2下位プロトコルより長いペイロードを有したフレームを使用する第3下位プロトコルにより前記第1中継装置と接続された第2中継装置(3)と、
を備え、
前記第1中継装置は、
前記第1電子装置との間で送受信される前記第1上位プロトコル及び前記第1下位プロトコルを用いる第1メッセージと、前記第2上位プロトコル及び前記第2下位プロトコルを用いる第2メッセージとを相互に変換するように構成されたプロトコル変換部(21,24)と、
前記プロトコル変換部から供給される1つ以上の前記第2メッセージを結合した結合メッセージを、前記第3下位プロトコルによって前記第2中継装置に送信するように構成された第1パッキング部(22)と、
前記第3下位プロトコルによって前記第2中継装置から受信する前記結合メッセージから、1つ以上の前記第2メッセージを抽出して、前記プロトコル変換部に供給するように構成された第1アンパッキング部(23)と、
を備え、
前記第2中継装置は、
前記第2電子装置から受信する1つ以上の前記第2メッセージを結合した前記結合メッセージを、前記第3下位プロトコルによって前記第1中継装置に送信するように構成された第2パッキング部(32)と、
前記第3下位プロトコルによって前記第1中継装置から受信する前記結合メッセージを分離することで得られる1つ以上の前記第2メッセージを、個別に前記第2電子装置に送信するように構成された第2アンパッキング部(31)と、
を備える、
中継システム。
続きを表示(約 2,000 文字)
【請求項2】
請求項1に記載の中継システムであって、
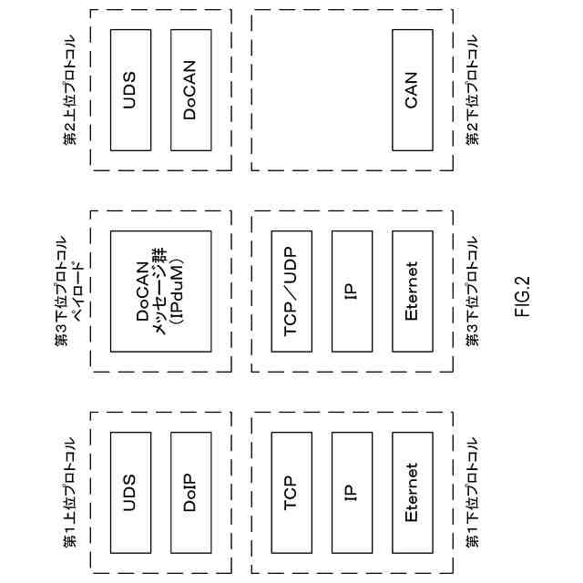
前記第1上位プロトコルがDoIPであり、
前記第2上位プロトコルがDoCANである、
中継システム。
【請求項3】
請求項1に記載の中継システムであって、
前記第1下位プロトコルが、イーサネットであり、
前記第2下位プロトコルが、CAN又はCAN FDであり、
前記第3下位プロトコルが、CAN FD,CAN XL,イーサネット且つAUTOSARのIPduM、又はイーサネット且つIEEE1722のいずれかである
中継システム。
【請求項4】
請求項1に記載の中継システムであって、
前記第1パッキング部及び前記第2パッキング部は、前記第2メッセージの種類を識別する識別情報に従って、前記第2メッセージの結合の要否を判定するように構成された
中継システム。
【請求項5】
請求項1に記載の中継システムであって、
前記第2アンパッキング部は、復元された複数の前記第2メッセージを、前記第2電子装置へ送信するときに用いる送信間隔を、前記第1中継装置から送信される情報に基づいて変更するように構成された、
中継システム。
【請求項6】
請求項1に記載の中継システムであって、
前記第2パッキング部は、結合される前記第2メッセージの合計長が、上限値に達すること、及び前回の送信から一定時間が経過することのうち、少なくともいずれかが成立した場合に、前記第1中継装置への送信を行うように構成された
中継システム。
【請求項7】
第1下位プロトコルにより第1電子装置と接続され、第2下位プロトコルにより第2電子装置と接続されたサブ中継装置と共に、前記第1電子装置と前記第2電子装置との通信を中継する中継システムを構成する中継装置であって、
前記第1電子装置との間で送受信される第1上位プロトコル及び前記第1下位プロトコルを用いる第1メッセージと、第2上位プロトコル及び前記第2下位プロトコルを用いる第2メッセージとを相互に変換するように構成されたプロトコル変換部と、
前記プロトコル変換部から供給される1つ以上の前記第2メッセージを結合した結合メッセージを、前記第2下位プロトコルより長いペイロードを有したフレームを使用する第3下位プロトコルによって前記サブ中継装置に送信するように構成された第1パッキング部と、
前記第3下位プロトコルによって前記第2中継装置から受信する前記結合メッセージから、1つ以上の前記第2メッセージを抽出して、前記プロトコル変換部に供給するように構成された第1アンパッキング部と、
を備える、中継装置。
【請求項8】
コンピュータを、
第1下位プロトコルにより第1電子装置と接続され、第1上位プロトコルを用いて前記第1電子装置とのデータの授受を行い、第2上位プロトコルを用いて第2電子装置とのデータの授受を行うように構成された第1中継装置と、
第2下位プロトコルにより前記第2電子装置と接続され、前記第2下位プロトコルより長いペイロードを有したフレームを使用する第3下位プロトコルにより前記第1中継装置と接続され、前記第1電子装置と前記第2電子装置との通信を中継する中継システムを前記第1中継装置と共に構成する第2中継装置と、
として機能させるためのプログラムであって、
前記第1中継装置は、
前記第1電子装置との間で送受信される前記第1上位プロトコル及び前記第1下位プロトコルを用いる第1メッセージと、前記第2上位プロトコル及び前記第2下位プロトコルを用いる第2メッセージとを相互に変換するように構成されたプロトコル変換部と、
前記プロトコル変換部から供給される1つ以上の前記第2メッセージを結合した結合メッセージを、前記第3下位プロトコルによって前記第2中継装置に送信するように構成された第1パッキング部と、
前記第3下位プロトコルによって前記第2中継装置から受信する前記結合メッセージから、1つ以上の前記第2メッセージを抽出して、前記プロトコル変換部に供給するように構成された第1アンパッキング部と、
を備え、
前記第2中継装置は、
前記第2電子装置から受信する1つ以上の前記第2メッセージを結合した前記結合メッセージを、前記第3下位プロトコルによって前記第1中継装置に送信するように構成された第2パッキング部と、
前記第3下位プロトコルによって前記第1中継装置から受信する前記結合メッセージを分離することで得られる1つ以上の前記第2メッセージを、個別に前記第2電子装置に送信するように構成された第2アンパッキング部と、
を備える、
プログラム。
発明の詳細な説明
【技術分野】
【0001】
本開示は、複数の電子制御装置間でデータを中継する技術に関する。
続きを表示(約 1,700 文字)
【背景技術】
【0002】
ゾーンアーキテクチャを採用する車載ネットワークでは、CAN通信を利用するECUは、ゾーンECUの配下に接続され、ゾーンECU同士、及びゾーンECUとセントラルECUとは、イーサネットやCAN FD等、CANよりも高速なバスにて接続される。CAN、及びイーサネットは登録商標である。イーサネットやCAN FDにて、低速かつメッセージサイズが小さいCAN通信のフレームを逐次中継すると、通信効率が低下する。
【0003】
下記特許文献1には、複数のCANメッセージをイーサネットフレームにパッキングして中継を行う技術が記載されている。
【先行技術文献】
【特許文献】
【0004】
特開2022-91585号公報
【発明の概要】
【発明が解決しようとする課題】
【0005】
ところで、イーサネットにおける診断通信であるDoIPが普及している。しかしながら、現段階では、車両内には、通信インタフェースとしてCANしか持たないECUが多数存在する。CANは、登録商標である。従って、DoIPを用いるイーサネットの外部ツールで、ECUの診断を行うには、DoIPとDoCANとの間で相互にプロトコル変換を行う必要がある。
【0006】
しかしながら、発明者の詳細な検討の結果、特許文献1に記載の従来技術は、単純にメッセージをパッキングして、下位レイヤのプロトコル(以下、下位プロトコル)を変換するのみである。従って、種々の上位レイヤのプロトコル(以下、上位プロトコル)が使用される中継システムに、従来技術を適用した場合、機能が不十分であるという課題が見出された。
【0007】
本開示の1つの局面は、通信速度の異なる複数種類の下位プロトコルを用い、かつ上位プロトコルの変換を伴う中継システムにおいて通信効率を向上させる技術を提供する。
【課題を解決するための手段】
【0008】
本開示の一態様は、第1電子装置(5)と第2電子装置(4)との通信を中継する中継システムであって、第1中継装置(2)と、第2中継装置(3)と、を備える。第1中継装置は、第1下位プロトコルにより第1電子装置と接続され、第1上位プロトコルを用いて第1電子装置とのデータの授受を行い、第2上位プロトコルを用いて第2電子装置とのデータの授受を行うように構成される。第2中継装置は、第2下位プロトコルにより第2電子装置と接続され、第2下位プロトコルより長いペイロードを有したフレームを使用する第3下位プロトコルにより第1中継装置と接続される。
【0009】
第1中継装置は、プロトコル変換部(21,24)と、第1パッキング部(22)と、第1アンパッキング部(23)と、を備える。プロトコル変換部は、第1電子装置との間で送受信される第1上位プロトコル及び第1下位プロトコルを用いる第1メッセージと、第2上位プロトコル及び第2下位プロトコルを用いる第2メッセージとを相互に変換するように構成される。第1パッキング部は、プロトコル変換部から供給される1つ以上の第2メッセージを結合した結合メッセージを、第3下位プロトコルによって第2中継装置に送信するように構成される。第1アンパッキング部は、第3下位プロトコルによって第2中継装置から受信する結合メッセージから、1つ以上の第2メッセージを抽出して、プロトコル変換部に供給するように構成される。
【0010】
第2中継装置は、第2パッキング部(32)と、第2アンパッキング部(31)と、を備える。第2パッキング部は、第2電子装置から受信する1つ以上の第2メッセージを結合した結合メッセージを、第3下位プロトコルによって第1中継装置に送信するように構成される。第2アンパッキング部は、第3下位プロトコルによって第1中継装置から受信する結合メッセージを分離することで得られる1つ以上の第2メッセージを、個別に第2電子装置に送信するように構成される。
(【0011】以降は省略されています)
この特許をJ-PlatPat(特許庁公式サイト)で参照する
関連特許
WHISMR合同会社
収音装置
23日前
アイホン株式会社
電気機器
17日前
キヤノン株式会社
撮像装置
1か月前
キヤノン電子株式会社
画像読取装置
24日前
個人
ワイヤレスイヤホン対応耳掛け
15日前
株式会社リコー
画像形成装置
1か月前
株式会社リコー
画像形成装置
1か月前
キヤノン株式会社
撮像システム
17日前
大日本印刷株式会社
写真撮影装置
16日前
パテントフレア株式会社
超高速電波通信
1か月前
有限会社フィデリックス
マイクロフォン
1日前
株式会社JVCケンウッド
通信システム
1日前
沖電気工業株式会社
画像形成装置
5日前
株式会社小糸製作所
画像照射装置
1か月前
株式会社松平商会
携帯機器カバー
26日前
国立大学法人電気通信大学
小型光学装置
1か月前
日本無線株式会社
無線通信システム
26日前
株式会社リコー
画像形成装置
1か月前
株式会社国際電気
遠隔監視システム
1か月前
日本無線株式会社
無線通信システム
9日前
日本無線株式会社
無線通信システム
1か月前
株式会社JVCケンウッド
スピーカ
24日前
日本無線株式会社
無線通信システム
1か月前
株式会社大林組
監視システム
1か月前
日本無線株式会社
無線通信システム
1か月前
株式会社デンソー
装置及び方法
24日前
トヨタ自動車株式会社
通信装置
1か月前
日本信号株式会社
可視光通信システム
5日前
株式会社セガ
写真シール作成機
26日前
株式会社村田製作所
高周波回路
1か月前
日本放送協会
広視野角撮像装置
5日前
日本放送協会
広視野角撮像装置
5日前
株式会社デンソー
通信装置
1か月前
株式会社デンソー
装置および方法
1か月前
株式会社デンソー
装置および方法
1か月前
株式会社デンソー
装置および方法
1か月前
続きを見る
他の特許を見る