TOP
|
特許
|
意匠
|
商標
特許ウォッチ
Twitter
他の特許を見る
10個以上の画像は省略されています。
公開番号
2025144942
公報種別
公開特許公報(A)
公開日
2025-10-03
出願番号
2024044878
出願日
2024-03-21
発明の名称
通信及びセンシングのための装置、方法、及びプログラム
出願人
株式会社デンソー
代理人
個人
主分類
H04W
76/10 20180101AFI20250926BHJP(電気通信技術)
要約
【課題】広域ネットワーク内で、通信及びセンシングのためのローカルネットワークを形成する。
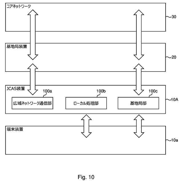
【解決手段】通信及びセンシングを実行する装置10Aは、ローカルネットワーク内で、端末装置10aとセンシング信号を交換することによってセンシングを実行し、ローカルネットワーク内で、端末装置と通信信号を交換することによって通信を実行し、基地局装置20及び/又はコアネットワーク30と制御信号を交換する、ように構成された制御部及び通信部を含む。制御信号を交換することによって、装置のモビリティがコアネットワークによって管理される。
【選択図】図10
特許請求の範囲
【請求項1】
通信及びセンシングを実行する装置(10A)であって、
ローカルネットワーク内で、端末装置(10a)とセンシング信号を交換することによってセンシングを実行し、
前記ローカルネットワーク内で、前記端末装置と通信信号を交換することによって通信を実行し、
基地局装置(20)及び/又はコアネットワーク(30)と制御信号を交換する、ように構成された制御部及び通信部を備え、
前記制御信号を交換することによって、前記装置のモビリティが前記コアネットワークによって管理される、
装置。
続きを表示(約 830 文字)
【請求項2】
前記制御部及び前記通信部は、前記端末装置との通信を終端するように更に構成されている、請求項1に記載の装置。
【請求項3】
前記制御部及び前記通信部は、前記端末装置との通信を集約し、前記基地局装置に前記集約した通信を送信するように更に構成されている、請求項1に記載の装置。
【請求項4】
前記制御部及び前記通信部は、一定の時間間隔で、前記基地局装置に前記集約した通信を送信するように更に構成されている、請求項3に記載の装置。
【請求項5】
前記制御部及び前記通信部は、前記端末装置からの要求に応答して、前記基地局装置に前記集約した通信を送信するように更に構成されている、請求項3に記載の装置。
【請求項6】
前記ローカルネットワーク内で使用される通信信号の伝送方式は、前記基地局装置との通信に使用される通信信号の伝送方式とは異なる、請求項1に記載の装置。
【請求項7】
前記ローカルネットワーク内で使用される無線アクセス技術(RAT)は、前記基地局装置との通信に使用されるRATとは異なる、請求項1に記載の装置。
【請求項8】
前記装置は、第1の装置(10T)及び第2の装置(10R)を含み、
前記第1の装置は、前記センシング信号を送信するように構成され、
前記第2の装置は、前記センシング信号を受信するように構成されている、
請求項1に記載の装置。
【請求項9】
前記第1の装置は、前記ローカルネットワーク内で、前記端末装置と前記通信信号を交換するように更に構成されている、請求項8に記載の装置。
【請求項10】
前記第2の装置は、前記ローカルネットワーク内で、前記端末装置と前記通信信号を交換するように更に構成されている、請求項8に記載の装置。
(【請求項11】以降は省略されています)
発明の詳細な説明
【技術分野】
【0001】
本発明は、通信及びセンシングのための装置、方法、及びプログラムに関し、特に、通信及びセンシングのためのローカルネットワーク(Local Network)を形成する装置、方法、及びプログラムに関する。
続きを表示(約 1,900 文字)
【背景技術】
【0002】
第3世代パートナーシッププロジェクト(Third Generation Partnership Project、3GPP(登録商標))は、5G NR(Fifth Generation New Radio)と称される無線通信仕様を規定し、その無線仕様の技術開発が進展している。
【0003】
また、5G NRに続いて、beyond 5G、つまり、第6世代の無線通信仕様である6Gシステムが検討され始めている。6Gシステムでは、センシングソリューションに関する技術仕様が検討されている。センシングソリューションは、ドップラー効果を利用して、放出した電波の周波数スペクトルの変化を分析することによって、検知対象を検知するものである。
【0004】
非特許文献1は、6Gシステムにおいて検討されているセンシングソリューションの概要を記載している。今後、センシングソリューションに関する技術仕様が検討及び規定されていくことが予想される。
【先行技術文献】
【非特許文献】
【0005】
de Lima, C., Belot, D., Berkvens, R., Bourdoux, A., Dardari, A., Guillaud, M., Isomursu, M., Lohan, E.-S., Miao, Y., Barreto, A. N., Aziz, M. R. K., Saloranta, J., Sanguanpuak, T., Sarieddeen, H., Seco-Granados, G., Suutala, J., Svensson, T., Valkama, M., Wymeersch, H., & van Liempd, B. (Eds.). (2020), ‘6G White Paper on Localization and Sensing’, [White paper]. (6G Research Visions, No. 12). University of Oulu., [online], 令和2年6月30日, [令和6年2月19日検索], インターネット<URL:http://urn.fi/urn:isbn:9789526226743>
【発明の概要】
【発明が解決しようとする課題】
【0006】
上述したセンシングソリューションを実現するために、多数の端末装置が、センシング用信号を送信することが予想される。また、センシングと同時に通信を行うために、多数の端末装置が、通信用信号を送信することが予想される。
【0007】
工場などの閉域、つまり、ローカルエリア内で通信及びセンシングを行う場合、ローカルエリア内でセンシング用信号及び通信用信号を処理するエッジコンピュータが必要になる。非特許文献1は、ローカルエリア内でセンシング用信号及び通信用信号を処理する技術について何ら開示していない。
【0008】
以上の事情に鑑み、本発明は、広域ネットワーク内で、通信及びセンシングのためのローカルネットワークを形成する技術を提供する。
【課題を解決するための手段】
【0009】
上記目的を達成するために、本発明における装置は、通信及びセンシングを実行する装置(10A)であって、ローカルネットワーク内で、端末装置(10a)とセンシング信号を交換することによってセンシングを実行し、前記ローカルネットワーク内で、前記端末装置と通信信号を交換することによって通信を実行し、基地局(20)及び/又はコアネットワーク(30)と制御信号を交換する、ように構成された制御部及び通信部を含み、前記制御信号を交換することによって、前記装置のモビリティが前記コアネットワークによって管理される。
【0010】
更に、本発明における方法は、通信及びセンシングを実行する装置(10A)によって実行される方法であって、ローカルネットワーク内で、端末装置(10a)とセンシング信号を交換することによってセンシングを実行することと、前記ローカルネットワーク内で、前記端末装置と通信信号を交換することによって通信を実行することと、基地局(20)及び/又はコアネットワーク(30)と制御信号を交換することと、を含み、前記制御信号を交換することによって、前記装置のモビリティが前記コアネットワークによって管理される。
(【0011】以降は省略されています)
この特許をJ-PlatPat(特許庁公式サイト)で参照する
関連特許
株式会社デンソー
車載器
1日前
株式会社デンソー
接合体
15日前
株式会社デンソー
ねじ部材
1日前
株式会社デンソーエレクトロニクス
発音装置
5日前
株式会社デンソーエレクトロニクス
発音装置
23日前
株式会社デンソー
太陽電池
17日前
株式会社デンソー
ステータ
16日前
株式会社デンソー
ステータ
1日前
株式会社デンソー
電子装置
5日前
株式会社デンソー
ステータ
16日前
株式会社デンソー
ステータ
1日前
株式会社デンソー
半導体装置
1日前
株式会社デンソー
レーダ装置
5日前
株式会社デンソー
通信システム
5日前
株式会社デンソー
電波吸収装置
5日前
株式会社デンソー
電子制御装置
16日前
株式会社デンソー
小型電動車両
17日前
株式会社デンソー
電子制御装置
5日前
株式会社デンソー
光位相変調器
15日前
株式会社デンソーウェーブ
光学読取装置
17日前
株式会社デンソー
電力変換装置
1日前
株式会社デンソー
電力変換装置
9日前
株式会社デンソーエアクール
換気空調装置
2日前
株式会社デンソー
制御システム
8日前
株式会社デンソー
フィルタ回路
9日前
株式会社デンソー
装置及び方法
24日前
株式会社デンソー
電圧変換回路
16日前
株式会社デンソーテン
車載映像装置
1日前
株式会社デンソー
電子制御装置
1日前
株式会社デンソー
ステータコア
8日前
株式会社デンソー
通信システム
24日前
株式会社デンソー
電気化学セル
5日前
株式会社デンソー
光導波路構造体
23日前
株式会社デンソー
インバータ装置
17日前
株式会社デンソー
画像符号化装置
3日前
株式会社デンソー
ゲート駆動装置
15日前
続きを見る
他の特許を見る