TOP
|
特許
|
意匠
|
商標
特許ウォッチ
Twitter
他の特許を見る
10個以上の画像は省略されています。
公開番号
2025144662
公報種別
公開特許公報(A)
公開日
2025-10-03
出願番号
2024044446
出願日
2024-03-21
発明の名称
イヤーデバイス、イヤーデバイス通知システム、イヤーデバイス通知方法及びプログラム
出願人
カシオ計算機株式会社
代理人
個人
主分類
H04R
25/00 20060101AFI20250926BHJP(電気通信技術)
要約
【課題】距離に応じてハウリング音を変化させて、イヤーデバイスをより見つけやすくする。
【解決手段】イヤーデバイス100は、無線信号を受信する通信部160と、設定された第1入力レベルで、周囲の音を音データとして取得する音取得部130と、設定された第1出力レベルで、取得された音データに応じた音を出力する音出力部140と、無線信号の受信強度に基づいて、少なくとも第1入力レベル及び第1出力レベルのいずれかをハウリングが発生するレベルに変更指示する制御部110と、を備える。
【選択図】図2
特許請求の範囲
【請求項1】
無線信号を受信する通信部と、
設定された第1入力レベルで、周囲の音を音データとして取得する音取得部と、
設定された第1出力レベルで、取得された前記音データに応じた音を出力する音出力部と、
前記無線信号の受信強度に基づいて、少なくとも前記第1入力レベル及び前記第1出力レベルのいずれかをハウリングが発生するレベルに変更指示する制御部と、
を備えるイヤーデバイス。
続きを表示(約 1,200 文字)
【請求項2】
前記制御部は、
前記受信強度に基づいて、前記第1入力レベルを第2入力レベルに変更する時間と、前記第1入力レベルを前記第2入力レベルに変更しない時間と、の間隔を制御する、
請求項1に記載のイヤーデバイス。
【請求項3】
前記制御部は、
前記受信強度に基づいて、前記第1出力レベルを第2出力レベルに変更する時間と、前記第1出力レベルを前記第2出力レベルに変更しない時間と、の間隔を制御する、
請求項1に記載のイヤーデバイス。
【請求項4】
前記制御部は、
前記変更指示する際に、ハウリング抑制機能の停止を指示する、
請求項1に記載のイヤーデバイス。
【請求項5】
前記イヤーデバイスがユーザの耳に装着されていることを検出する装着検出部をさらに備え、
前記制御部は、
前記装着検出部が前記耳に装着されていることを検出していない場合に、前記変更指示を実行し、
前記装着検出部が前記耳に装着されていることを検出している場合に、前記変更指示を実行しない、
請求項1に記載のイヤーデバイス。
【請求項6】
イヤーデバイスと、携帯端末と、を備え、
前記イヤーデバイスは、
無線信号を受信する通信部と、
設定された第1入力レベルで、周囲の音を音データとして取得する音取得部と、
設定された第1出力レベルで、取得された前記音データに応じた音を出力する音出力部と、
前記無線信号の受信強度に基づいて、少なくとも前記入力レベル及び前記出力レベルのいずれかをハウリングが発生するレベルに変更指示する制御部と、
を備え、
前記携帯端末は、
操作入力を受け付ける操作入力部と、
前記イヤーデバイスに無線信号を送信する端末通信部と、
を備える、
イヤーデバイス通知システム。
【請求項7】
制御部が、
設定された第1入力レベルで、周囲の音を音データとして取得し、
設定された第1出力レベルで、取得された前記音データに応じた音を出力し、
無線信号の受信強度に基づいて、少なくとも前記入力レベル及び前記出力レベルのいずれかをハウリングが発生するレベルに変更指示する、
イヤーデバイス通知方法。
【請求項8】
制御部に、
設定された第1入力レベルで、周囲の音を音データとして取得し、
設定された第1出力レベルで、取得された前記音データに応じた音を出力し、
無線信号の受信強度に基づいて、少なくとも前記入力レベル及び前記出力レベルのいずれかをハウリングが発生するレベルに変更指示する、
処理を実行させるプログラム。
発明の詳細な説明
【技術分野】
【0001】
本発明は、イヤーデバイス、イヤーデバイス通知システム、イヤーデバイス通知方法及びプログラムに関する。
続きを表示(約 1,400 文字)
【背景技術】
【0002】
ワイヤレスイヤホン、補聴器等のイヤーデバイスは、小型軽量なので、落としたり置き忘れたりすると、見つけるのが困難である。イヤーデバイスを見つけやすくするために、特許文献1には、サーチ信号を受信したときにハウリング音を発生させる補聴器が開示されている。
【先行技術文献】
【特許文献】
【0003】
登録実用新案3148939号公報
【発明の概要】
【発明が解決しようとする課題】
【0004】
特許文献1に開示されている補聴器は、サーチ信号を受信するとハウリング音を発生させるので、ユーザはハウリング音を手がかりにして補聴器を見つけることができる。しかし、実際にはハウリング音だけでは、どの辺りに補聴器があるのかがわかりにくい場合がある。
【0005】
本発明は上記実情に鑑みてなされたものであり、距離に応じてハウリング音を変化させて、イヤーデバイスをより見つけやすくすることができるイヤーデバイス、イヤーデバイス通知システム、イヤーデバイス通知方法及びプログラムを提供することを目的とする。
【課題を解決するための手段】
【0006】
上記目的を達成するため、本発明に係るイヤーデバイスの一態様は、
無線信号を受信する通信部と、
設定された第1入力レベルで、周囲の音を音データとして取得する音取得部と、
設定された第1出力レベルで、取得された前記音データに応じた音を出力する音出力部と、
前記無線信号の受信強度に基づいて、少なくとも前記第1入力レベル及び前記第1出力レベルのいずれかをハウリングが発生するレベルに変更指示する制御部と、
を備える。
【発明の効果】
【0007】
本発明によれば、距離に応じてハウリング音を変化させて、イヤーデバイスをより見つけやすくすることができる。
【図面の簡単な説明】
【0008】
イヤーデバイス通知システムの一例を示す図である。
イヤーデバイスの機能構成の一例を示す図である。
携帯端末の機能構成の一例を示す図である。
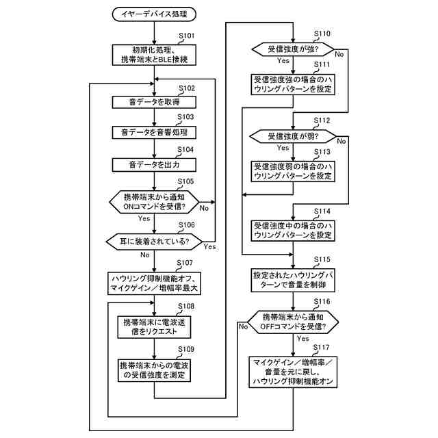
イヤーデバイス処理の手順の一例を示すフローチャートである。
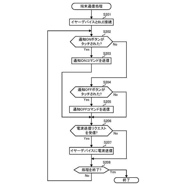
端末通信処理の手順の一例を示すフローチャートである。
ハウリングパターンテーブルの一例を示す図である。
イヤーデバイスを1つ備えるイヤーデバイス通知システムの一例を示す図である。
イヤーデバイス通知システムの他の一例を示す図である。
イヤーデバイスの機能構成の他の一例を示す図である。
【発明を実施するための形態】
【0009】
イヤーデバイス通知システム等について図面を参照して説明する。なお、図中同一又は相当する部分には同一符号を付す。
【0010】
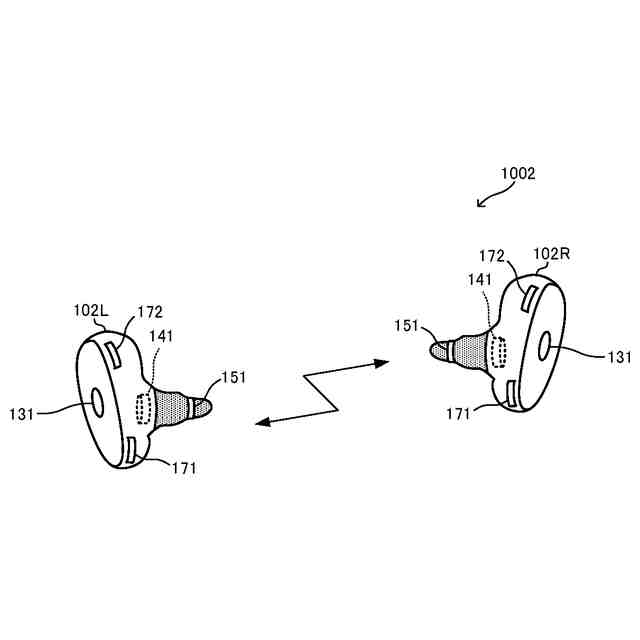
イヤーデバイス通知システム1000は、図1に示すように、ユーザが耳に装着して用いる集音器を含む補聴器であるイヤーデバイス100(右耳に装着するイヤーデバイス100Rと左耳に装着するイヤーデバイス100Lとを区別する必要がない場合には、イヤーデバイス100と言う)と、ユーザが携帯して用いる携帯端末200と、を備え、これらがBluetooth(登録商標)等の近距離無線通信規格により通信接続して動作する。
(【0011】以降は省略されています)
この特許をJ-PlatPat(特許庁公式サイト)で参照する
関連特許
WHISMR合同会社
収音装置
23日前
アイホン株式会社
電気機器
17日前
キヤノン株式会社
撮像装置
1か月前
個人
ワイヤレスイヤホン対応耳掛け
15日前
株式会社リコー
画像形成装置
1か月前
キヤノン電子株式会社
画像読取装置
24日前
株式会社リコー
画像形成装置
1か月前
株式会社リコー
画像形成装置
1か月前
キヤノン株式会社
撮像システム
17日前
ブラザー工業株式会社
読取装置
1か月前
株式会社小糸製作所
画像照射装置
1か月前
株式会社JVCケンウッド
通信システム
1日前
キヤノン電子株式会社
シート材搬送装置
1か月前
株式会社松平商会
携帯機器カバー
26日前
沖電気工業株式会社
画像形成装置
5日前
国立大学法人電気通信大学
小型光学装置
1か月前
パテントフレア株式会社
超高速電波通信
1か月前
大日本印刷株式会社
写真撮影装置
16日前
有限会社フィデリックス
マイクロフォン
1日前
日本無線株式会社
無線通信システム
1か月前
日本無線株式会社
無線通信システム
9日前
日本無線株式会社
無線通信システム
26日前
株式会社国際電気
遠隔監視システム
1か月前
株式会社リコー
画像形成装置
1か月前
日本無線株式会社
無線通信システム
1か月前
日本無線株式会社
無線通信システム
1か月前
株式会社JVCケンウッド
スピーカ
24日前
株式会社大林組
監視システム
1か月前
株式会社セガ
写真シール作成機
26日前
日本放送協会
広視野角撮像装置
5日前
日本放送協会
広視野角撮像装置
5日前
サクサ株式会社
ダウンロード支援装置
1か月前
トヨタ自動車株式会社
通信装置
1か月前
株式会社デンソー
装置及び方法
24日前
株式会社村田製作所
高周波回路
1か月前
日本信号株式会社
可視光通信システム
5日前
続きを見る
他の特許を見る