TOP
|
特許
|
意匠
|
商標
特許ウォッチ
Twitter
他の特許を見る
10個以上の画像は省略されています。
公開番号
2025144448
公報種別
公開特許公報(A)
公開日
2025-10-02
出願番号
2024044231
出願日
2024-03-19
発明の名称
がん治療装置、及びがん治療システム
出願人
公立大学法人横浜市立大学
代理人
弁理士法人ITOH
,
個人
,
個人
主分類
A61N
2/04 20060101AFI20250925BHJP(医学または獣医学;衛生学)
要約
【課題】小型化可能ながん治療装置を提供する。
【解決手段】本がん治療装置は、生体に磁界を印加するがん治療装置であって、筐体と、
前記筐体に設けられた磁界発生部と、外部装置と接続可能な接続部と、前記接続部を移動させることで、前記接続部の全部が前記筐体の内部に配置される状態、又は、前記接続部の少なくとも一部が前記筐体の外部に配置される状態、のどちらか一方にするスライド機構と、を有する。
【選択図】図19
特許請求の範囲
【請求項1】
生体に磁界を印加するがん治療装置であって、
筐体と、
前記筐体に設けられた磁界発生部と、
外部装置と接続可能な接続部と、
前記接続部を移動させることで、前記接続部の全部が前記筐体の内部に配置される状態、又は、前記接続部の少なくとも一部が前記筐体の外部に配置される状態、のどちらか一方にするスライド機構と、を有する、がん治療装置。
続きを表示(約 750 文字)
【請求項2】
前記がん治療装置が運搬されるときに、前記接続部の全部が、前記スライド機構によって前記筐体の内部に配置される、請求項1に記載のがん治療装置。
【請求項3】
上面視において、前記接続部の全部が前記筐体の内部に配置されたときの前記がん治療装置の面積は、800mm×750mm以下である、請求項1に記載のがん治療装置。
【請求項4】
前記接続部は、前記外部装置から前記筐体の内部に冷却液が供給される供給口である、請求項1に記載のがん治療装置。
【請求項5】
前記磁界発生部に電流を供給する電源部をさらに備え、
前記磁界発生部は交流磁界を発生し、
前記電源部は、前記磁界発生部に交流電流を供給する、請求項1に記載のがん治療装置。
【請求項6】
前記磁界発生部はコイルを有する、請求項1に記載のがん治療装置。
【請求項7】
前記がん治療装置により治療されるがんは、悪性神経膠腫、悪性黒色腫、悪性中皮腫及び口腔がんの少なくとも1つである、請求項1に記載のがん治療装置。
【請求項8】
請求項1から請求項7のいずれか1項に記載のがん治療装置と、
前記生体を載置する載置台と、を備える、がん治療システム。
【請求項9】
前記磁界発生部は、上面視において、前記筐体の内側における前方又は後方のどちらか一方に配置され、
前記載置台は、上面視において、前記筐体の外側における前方に配置される、請求項8に記載のがん治療システム。
【請求項10】
前記接続部は、上面視において、前記筐体の外側における前方に配置される、請求項8に記載のがん治療システム。
発明の詳細な説明
【技術分野】
【0001】
本開示は、がん治療装置、及びがん治療システムに関する。
続きを表示(約 2,000 文字)
【背景技術】
【0002】
従来から、様々な種類の療法を用いたがん治療装置が提案されている。
【0003】
例えば、特許文献1には、コイルに交流電流を流すことで交流磁界を発生させ、発生させた交流磁界をがん患部組織に印加することで、がん細胞の増殖を抑制するがん治療装置が開示されている。
【発明の概要】
【発明が解決しようとする課題】
【0004】
がん治療装置の運搬や移動、設置等を容易にする観点では、がん治療装置は小型であることが好ましい。しかしながら、特許文献1に記載のがん治療装置では、筐体内に配置された電源部等を冷却する冷却水を外部装置から筐体内に供給する供給口等の、外部装置と接続する接続部が、筐体から突出することで、がん治療装置が大型化する場合がある。
【0005】
本開示は、小型化可能ながん治療装置を提供することを目的とする。
【課題を解決するための手段】
【0006】
本開示の一態様に係るがん治療装置は、生体に磁界を印加するがん治療装置であって、筐体と、前記筐体に設けられた磁界発生部と、外部装置と接続可能な接続部と、前記接続部を移動させることで、前記接続部の全部が前記筐体の内部に配置される状態、又は、前記接続部の少なくとも一部が前記筐体の外部に配置される状態、のどちらか一方にするスライド機構と、を有する。
【発明の効果】
【0007】
本開示によれば、小型化可能ながん治療装置を提供することができる。
【図面の簡単な説明】
【0008】
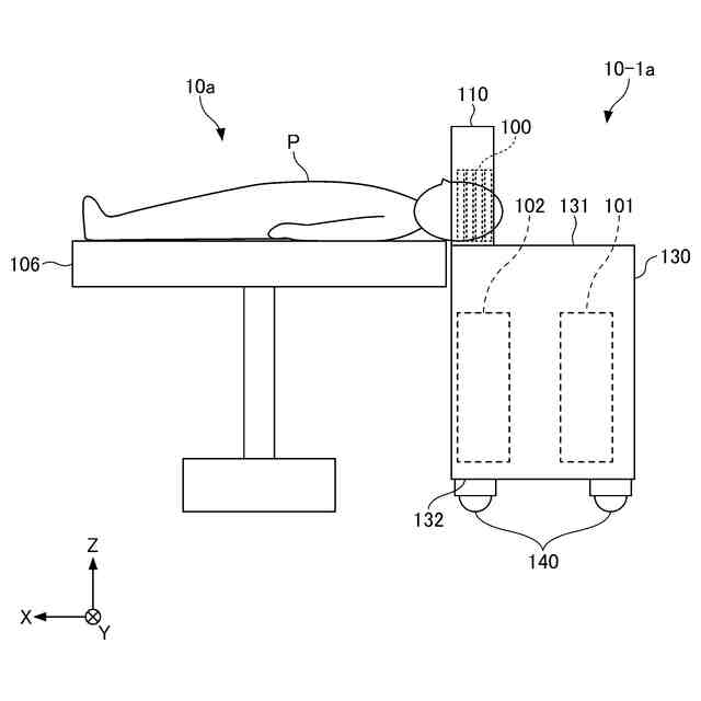
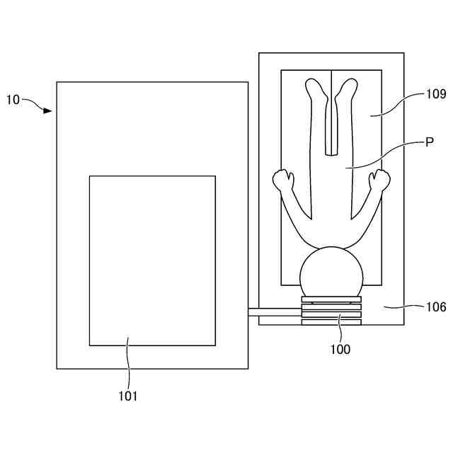
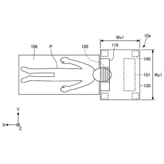
本開示の実施形態に係るがん治療システムの使用状態を示す模式的上面図である。
本開示の実施形態に係るがん治療システムの使用状態を示す患者の頭部側から視た模式図である。
本開示の実施形態に係るがん治療システムの使用状態を示す模式的側面図である。
本開示の実施形態に係るがん治療装置が備える磁界発生部の模式的斜視図である。
本開示の実施形態に係るがん治療装置が備えるコイルの模式的切断斜視図である。
本開示の第1実施形態に係るがん治療システムの模式的上面図である。
本開示の第1実施形態に係るがん治療システムの模式的側面図である。
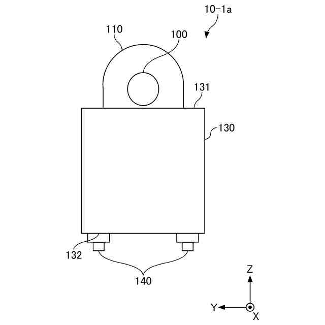
本開示の第1実施形態に係るがん治療装置の模式的正面図である。
比較例に係るがん治療装置の模式的上面図である。
比較例に係るがん治療システムの模式的側面図である。
比較例に係るがん治療装置の模式的正面図である。
本開示の第1実施形態に係るがん治療システムが設置された部屋の様子の第1例を示す模式的上面図である。
本開示の第1実施形態に係るがん治療システムが設置された部屋の様子の第2例を示す模式的上面図である。
本開示の第1実施形態に係るがん治療システムにおける温度測定部の配置例を示す模式的側面図である。
本開示の第1実施形態に係るがん治療システムの温度測定部が備える光ファイバの設置場所を説明する模式的正面図である。
本開示の第1実施形態に係るがん治療システムの載置台が備える可変機構による高さ調整を説明する模式的側面図である。
本開示の第2実施形態に係るがん治療装置の模式的正面図である。
本開示の第2実施形態に係るがん治療装置の模式的上面図である。
本開示の第2実施形態に係るがん治療装置の模式的側面図である。
本開示の第2実施形態に係るがん治療装置において接続部が筐体の内部に配置された様子を示す模式的上面図である。
本開示の第2実施形態に係るがん治療装置において接続部が筐体の内部に配置された様子を示す模式的側面図である。
本開示の第2実施形態に係るがん治療システムによるがん治療方法を示す図である。
【発明を実施するための形態】
【0009】
以下、図面を参照して本開示を実施するための形態について説明する。なお、本明細書及び図面において、実質的に同一の機能構成を有する構成要素については、同一の符号を付し、重複する説明を適宜省略する。また、理解を容易にするために、図面における各部の縮尺と、実際の縮尺とが異なる場合がある。
【0010】
平行、直角、直交、水平、垂直、上下、左右等の方向には、本開示の実施形態の効果を損なわない程度のずれが許容される。角部の形状は、直角に限られず、弓状に丸みを帯びてもよい。平行、直角、直交、水平、垂直には、略平行、略直角、略直交、略水平、略垂直が含まれてもよい。
(【0011】以降は省略されています)
この特許をJ-PlatPat(特許庁公式サイト)で参照する
関連特許
公立大学法人横浜市立大学
プログラム及び情報処理装置
3か月前
公立大学法人横浜市立大学
交流磁場発生装置、及びがん治療装置
1か月前
公立大学法人横浜市立大学
がん治療装置、及びがん治療システム
1か月前
公立大学法人横浜市立大学
がん治療装置、及びがん治療システム
1か月前
公立大学法人横浜市立大学
データ収集システムおよびプログラム
2か月前
公立大学法人横浜市立大学
肝細胞の可塑性誘導法
4か月前
公立大学法人横浜市立大学
がん治療装置、がん治療システム、がん治療装置の作動方法、及びがん治療装置による磁束密度の推定方法
1か月前
日鉄ケミカル&マテリアル株式会社
イムノクロマトストリップ、イムノクロマトキット、検出方法及び展開液
1か月前
シスメックス株式会社
モノクローナル抗体、Crtac1B測定用試薬、試薬キット及びCrtac1Bの測定方法
1か月前
個人
貼付剤
23日前
個人
簡易担架
5日前
個人
足踏み器具
12日前
個人
腋臭防止剤
5日前
個人
短下肢装具
4か月前
個人
前腕誘導装置
4か月前
個人
排尿補助器具
1か月前
個人
嚥下鍛錬装置
4か月前
個人
矯正椅子
5か月前
個人
汚れ防止シート
1か月前
個人
アイマスク装置
2か月前
個人
腰ベルト
26日前
個人
バッグ式オムツ
5か月前
個人
胸骨圧迫補助具
2か月前
個人
歯の修復用材料
4か月前
個人
ウォート指圧法
1か月前
個人
湿布連続貼り機。
3か月前
個人
陣痛緩和具
4か月前
個人
排尿排便補助器具
7日前
個人
哺乳瓶冷まし容器
3か月前
個人
美容セット
14日前
個人
歯の保護用シール
5か月前
個人
エア誘導コルセット
2か月前
株式会社八光
剥離吸引管
5か月前
株式会社コーセー
化粧料
1か月前
個人
性行為補助具
3か月前
個人
治療用酸化防御装置
2か月前
続きを見る
他の特許を見る