TOP
|
特許
|
意匠
|
商標
特許ウォッチ
Twitter
他の特許を見る
10個以上の画像は省略されています。
公開番号
2025144367
公報種別
公開特許公報(A)
公開日
2025-10-02
出願番号
2024044112
出願日
2024-03-19
発明の名称
アラーム管理装置、アラーム管理方法およびアラーム管理プログラム
出願人
横河電機株式会社
代理人
弁理士法人酒井国際特許事務所
主分類
G05B
23/02 20060101AFI20250925BHJP(制御;調整)
要約
【課題】各オペレータに対して必要なアラームを適切に提供することを目的とする。
【解決手段】監視対象の装置で複数のアラームの発生条件が成立した場合に、複数のアラームそれぞれが、アラーム発生を通知する画面への表示を抑制する抑制対象であるか否かを判定する判定部と、抑制対象であるアラームが存在する場合、アラームを監視する各ユーザの種別に応じて複数のアラームの表示形式を変更して各ユーザが閲覧する画面に出力し、抑制対象であるアラームが含まれていない場合、複数のアラームそれぞれを各ユーザが閲覧する画面に出力する表示制御部と、を備える。
【選択図】図1
特許請求の範囲
【請求項1】
監視対象の装置で複数のアラームの発生条件が成立した場合に、前記複数のアラームそれぞれが、アラーム発生を通知する画面への表示を抑制する抑制対象であるか否かを判定する判定部と、
前記抑制対象であるアラームが存在する場合、アラームを監視する各ユーザの種別に応じて前記複数のアラームの表示形式を変更して前記各ユーザが閲覧する画面に出力し、前記抑制対象であるアラームが含まれていない場合、前記複数のアラームそれぞれを前記各ユーザが閲覧する画面に出力する表示制御部と、
を備えることを特徴とするアラーム管理装置。
続きを表示(約 1,700 文字)
【請求項2】
前記表示制御部は、
前記抑制対象であるアラームが存在する場合、前記各ユーザのうち、各アラームの発生元である各装置を監視する第1のオペレータの前記画面には、前記複数のアラームの表示を抑制した状態を示すアラームを出力し、前記各装置を含むシステム全体を俯瞰的に監視する第2のオペレータの前記画面には、前記複数のアラームが存在し抑制されたアラームが存在する状態を示すアラームを出力する、
ことを特徴とする請求項1に記載のアラーム管理装置。
【請求項3】
前記表示制御部は、
前記抑制対象であるアラームが存在する場合、前記複数のアラームのうち最も優先度が高いアラームに対応する第1のシンボルに、抑制対象のアラームが存在することを示す情報を付加した第2のシンボルを生成し、
前記各ユーザのうち、各アラームの発生元である各装置を監視する第1のオペレータの前記画面には前記第1のシンボルを出力し、前記各装置を含むシステム全体を俯瞰的に監視する第2のオペレータの前記画面には、前記第2のシンボルを出力する、
ことを特徴とする請求項1または2に記載のアラーム管理装置。
【請求項4】
前記表示制御部は、
前記抑制対象のアラームが存在することを示す情報を付加した第2のシンボルを、形状と色との組み合わせにより生成することを特徴とする請求項3に記載のアラーム管理装置。
【請求項5】
前記表示制御部は、前記第1のオペレータと前記第2のオペレータのそれぞれの画面へのアラームの表示方法として、アラームを階層構造として表示することを特徴とする請求項2に記載のアラーム管理装置。
【請求項6】
前記監視対象の装置は、プラントを構成する装置であり、
前記表示制御部は、前記アラームを階層構造として表示し、
前記階層構造は、前記プラントのサイトと、サイトに含まれる各エリアと、各エリアに含まれる機能タグを有する、ことを特徴とする請求項5に記載のアラーム管理装置。
【請求項7】
前記表示制御部は、前記複数のアラームの状態を前記階層構造の下層から上層へ通知し、各階層における代表的なアラーム状態の情報を表示することを特徴とする請求項5に記載のアラーム管理装置。
【請求項8】
前記表示制御部は、前記第1のオペレータと前記第2のオペレータからの画面に表示するアラームの設定の要求を受け付け、前記各階層における代表的なアラーム状態の情報を表示することを特徴とする請求項7に記載のアラーム管理装置。
【請求項9】
コンピュータが、
監視対象の装置で複数のアラームの発生条件が成立した場合に、前記複数のアラームそれぞれが、アラーム発生を通知する画面への表示を抑制する抑制対象であるか否かの判定を実行し、
前記抑制対象であるアラームが存在する場合、アラームを監視する各ユーザの種別に応じて前記複数のアラームの表示形式を変更して前記各ユーザが閲覧する画面に出力し、前記抑制対象であるアラームが含まれていない場合、前記複数のアラームそれぞれを前記各ユーザが閲覧する画面に出力する表示制御を実行する
処理を実行することを特徴とするアラーム管理方法。
【請求項10】
コンピュータに、
監視対象の装置で複数のアラームの発生条件が成立した場合に、前記複数のアラームそれぞれが、アラーム発生を通知する画面への表示を抑制する抑制対象であるか否かの判定を実行し、
前記抑制対象であるアラームが存在する場合、アラームを監視する各ユーザの種別に応じて前記複数のアラームの表示形式を変更して前記各ユーザが閲覧する画面に出力し、前記抑制対象であるアラームが含まれていない場合、前記複数のアラームそれぞれを前記各ユーザが閲覧する画面に出力する表示制御を実行する
処理を実行させることを特徴とするアラーム管理プログラム。
発明の詳細な説明
【技術分野】
【0001】
本発明は、アラーム管理装置、アラーム管理方法およびアラーム管理プログラムに関する。
続きを表示(約 2,000 文字)
【背景技術】
【0002】
プロセスなどの異常を示すアラームを監視するアラーム管理システムが様々な分野で利用されている。例えば、プラントにおけるアラーム管理システムは、プラント現場における危険を早急に察知し、企業の財産を守り、プラント現場で活動する作業員の命を守るための機能である特性上から、ISA18.2やIEC62682といった、国際的な標準規格により厳格に標準化されている。上記の標準規格では、アラーム管理システムが満たすべきアラームの基本機能として、必須機能および推奨機能が定義されており、各制御システムベンダは、上記定義に沿ったアラーム管理システムを実装している。
【先行技術文献】
【特許文献】
【0003】
特開2022-177415号公報
【発明の概要】
【発明が解決しようとする課題】
【0004】
しかしながら、従来技術では、アラーム監視を行う様々なオペレータに対して、アラームの情報を柔軟に表現し提供することが困難である。例えば、複数のアラーム発生条件が成立した場合、監視を行うオペレータの端末装置には、複数のアラーム状態のシンボルを表示させるのではなく、最も優先度の高いアラーム状態のシンボルのみを代表的に表示させることが多くある。これは、他のアラーム状態のシンボルの表示を抑制し、オペレータが重大なアラームの対応に専念するためである。
【0005】
しかし、オペレータよりも俯瞰で現在状況を把握する上位オペレータが、マクロ視点での状態把握を行う際に、オペレータが監視するよりも範囲の広い、エリアやプラント単位の状況を監視する場合がある。この場合、上位オペレータは、代表的に表示されるアラーム状態のシンボルのみだけではなく、抑制された他のアラーム状態も把握しなければならない。そのため、プラントのアラーム監視における上位オペレータが抑制されたアラームの情報を柔軟に表現し提供することが困難である。
【0006】
本発明は、上記に鑑みてなされたものであって、各オペレータに対して必要なアラームを適切に提供することを目的とする。
【課題を解決するための手段】
【0007】
本発明は、プラントから出力されるアラームの出力情報に基づいて、優先度の高いアラームに付加情報として、他のアラームの抑制情報を付随させ表示する表示制御部と、を備えるアラーム管理装置を提供する。
【発明の効果】
【0008】
本発明は、上記に鑑みてなされたものであって、プラントのアラーム監視における上位オペレータが抑制されたアラームの情報を柔軟に表現し提供することができる。
【図面の簡単な説明】
【0009】
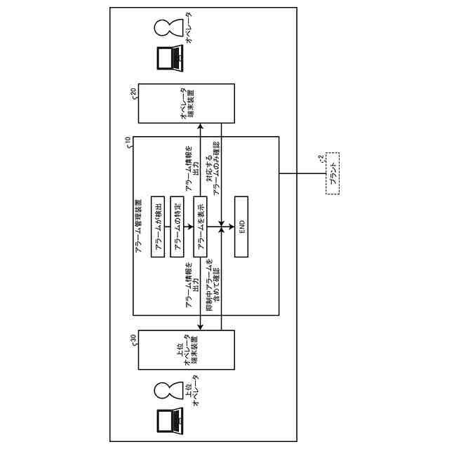
図1は、実施形態1に係るシステムの全体構成例を説明する図である。
図2は、実施例に係るアラームのシンボルの表示を説明する図である。
図3は、実施例に係る上位オペレータとオペレータのアラームの監視を説明する図である。
図4は、実施形態1に係るアラーム管理装置の処理の流れの一例を説明する図である。
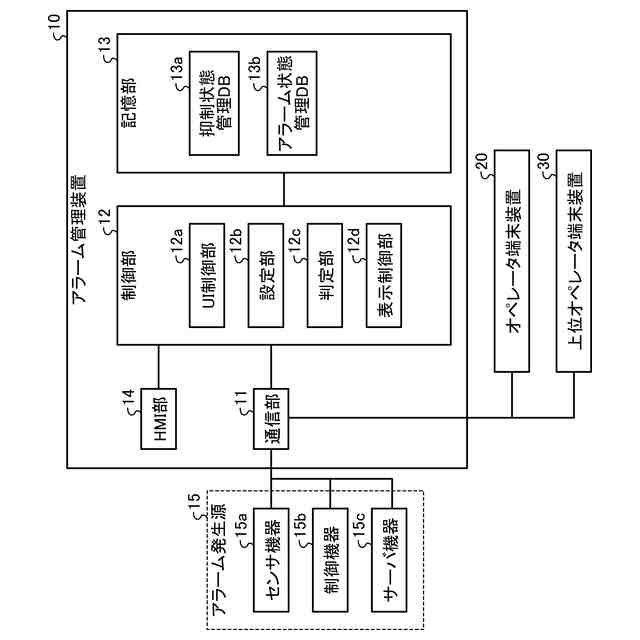
図5は、実施形態1に係るアラーム管理装置の機能構成を示すブロック図である。
図6は、抑制状態管理DBを説明する図である。
図7は、アラーム状態管理DBを説明する図である。
図8は、実施形態1に係るアラームのシンボルの表示の一例である。
図9は、実施形態1に係る表示制御部がオペレータ端末装置に表示するアラームの一例を示す図である。
図10は、実施形態1に係る表示制御部が上位オペレータ端末装置に表示するアラームの一例を示す図である。
図11は、実施形態1に係る処理の流れの一例を示すフローチャートである。
図12は、実施形態2に係るアラーム管理装置の機能構成を示すブロック図である。
図13は、設定情報DBを説明する図である。
図14は、実施形態2に係る階層構造の例を示す図である。
図15は、実施形態2に係る階層構造の例を示す図である。
図16は、実施形態2に係る上位オペレータとオペレータにそれぞれ表示される階層構造の表示の一例である。
図17は、実施形態に係るアラーム管理装置の機能を実現するコンピュータの一例を示すハードウェア構成図である。
【発明を実施するための形態】
【0010】
以下、実施形態を通じて本発明を説明するが、以下の実施形態は特許請求の範囲に係る発明を限定するものではない。また、実施形態の中で説明されている特徴の組み合わせの全てが発明の解決手段に必須であるとは限らない。
(【0011】以降は省略されています)
この特許をJ-PlatPat(特許庁公式サイト)で参照する
関連特許
横河電機株式会社
測定器
8日前
横河電機株式会社
温度測定装置
8日前
横河電機株式会社
藻類培養装置
18日前
横河電機株式会社
測定装置及び測定方法
5日前
横河電機株式会社
測定装置および測定方法
1か月前
横河電機株式会社
ベースマップの注釈付け
1か月前
横河電機株式会社
研磨用治具および研磨方法
18日前
横河電機株式会社
測定方法及び測定システム
8日前
横河電機株式会社
装置、方法及びプログラム
8日前
横河電機株式会社
フィールド機器及び診断方法
4日前
横河電機株式会社
装置、方法およびプログラム
18日前
横河電機株式会社
光パルス試験器及び測定方法
4日前
横河電機株式会社
測定装置および推定システム
1か月前
横河電機株式会社
装置、方法およびプログラム
28日前
横河電機株式会社
装置、方法およびプログラム
19日前
横河電機株式会社
装置、方法、およびプログラム
18日前
横河電機株式会社
菌体培養槽および菌体培養方法
6日前
横河電機株式会社
装置、方法、およびプログラム
5日前
横河電機株式会社
情報処理装置及び情報処理方法
27日前
横河電機株式会社
水処理システム及び水処理方法
1か月前
横河電機株式会社
蛍光読取装置および蛍光読取方法
6日前
横河電機株式会社
分散制御ノード(DCN)冗長性
4日前
横河電機株式会社
表面散乱型濁度計及び濁度測定方法
6日前
横河電機株式会社
メタン生成装置及びメタン生成方法
8日前
横河電機株式会社
制御装置、制御システム及び制御方法
1か月前
横河電機株式会社
測定装置、測定方法、及びプログラム
11日前
横河電機株式会社
測定装置、測定方法、及びプログラム
5日前
横河電機株式会社
測定装置、測定方法、及びプログラム
5日前
横河電機株式会社
解析装置、訓練装置およびプログラム
6日前
横河電機株式会社
診断システム、診断装置および診断方法
18日前
横河電機株式会社
情報処理装置、情報処理方法及びプログラム
4日前
横河電機株式会社
情報処理装置、更新方法及び更新プログラム
5日前
横河電機株式会社
一液型組成物、フラン樹脂硬化物及びキット
5日前
横河電機株式会社
評価装置、評価方法、および評価プログラム
18日前
横河電機株式会社
照射装置、照射方法、および照射プログラム
18日前
横河電機株式会社
情報処理装置、生成方法および生成プログラム
1か月前
続きを見る
他の特許を見る