TOP
|
特許
|
意匠
|
商標
特許ウォッチ
Twitter
他の特許を見る
10個以上の画像は省略されています。
公開番号
2025144254
公報種別
公開特許公報(A)
公開日
2025-10-02
出願番号
2024043943
出願日
2024-03-19
発明の名称
圧縮機
出願人
パナソニックIPマネジメント株式会社
代理人
個人
,
個人
主分類
F04B
39/00 20060101AFI20250925BHJP(液体用容積形機械;液体または圧縮性流体用ポンプ)
要約
【課題】本開示は、圧縮機の密封端子を保護するターミナルカバー部材内部の気密性を確保できる圧縮機ターミナルの密閉構造を提供する。
【解決手段】可燃性冷媒を圧縮する圧縮機本体部と、圧縮機本体部に設けられ外部と電気的に接続する配線が接続される密封端子と、圧縮機本体部の外表面側に設けられるシール部材と、シール部材を介して密封端子を覆うように取付けられるターミナルカバーと、ターミナルカバーを圧縮機本体部に固定する固定手段を備えた圧縮機であって、固定手段は、密封端子を中心に略対称の位置に設けられている圧縮機。
【選択図】図1
特許請求の範囲
【請求項1】
可燃性冷媒を圧縮する圧縮機本体部と、前記圧縮機本体部に設けられ外部と電気的に接続する配線が接続される密封端子と、前記圧縮機本体部の外表面側に設けられるシール部材と、前記シール部材を介して前記密封端子を覆うように取付けられるターミナルカバーと、前記ターミナルカバーを前記圧縮機本体部に固定する固定手段を備えた圧縮機であって、前記固定手段は、前記密封端子を中心に略対称の位置に設けられていることを特徴とする圧縮機。
続きを表示(約 430 文字)
【請求項2】
前記シール部材は略平面状であり、前記密封端子が前記圧縮機の天面に設けられた請求項1に記載の圧縮機。
【請求項3】
前記圧縮機の天面の前記シール部材が配置される部分に、略平面状である平面部を有する請求項1または2のいずれか一項に記載の圧縮機。
【請求項4】
前記固定手段は一端が前記圧縮機に溶接固定され、他端にねじ部を有するボルトと、前記ねじ部に取り付けられるナットと、からなる請求項1に記載の圧縮機。
【請求項5】
前記シール部材は、前記圧縮機の平面部に設置され、少なくとも前記密封端子の円筒部を囲むように構成された平面部と、前記ボルトが貫通する穴部とを有し、前記ターミナルカバーが前記シール部材とともに前記の平面部を覆い、シールするように構成される請求項1に記載の圧縮機。
【請求項6】
前記ターミナルカバーは、前記配線をシールした状態で保持できる請求項1に記載の圧縮機。
発明の詳細な説明
【技術分野】
【0001】
本開示は、密閉構造を備え該密閉構造に使用されるターミナルカバーを設けた圧縮機に関する。
続きを表示(約 1,400 文字)
【背景技術】
【0002】
特許文献1には、密閉容器に設けられ、密閉容器内のデバイスと電気的に接続する密封端子がカバーで覆われて保護された冷凍サイクル装置の圧縮機が開示されている。
【0003】
この圧縮機は、密封端子に接続されるリード線を通す配線用開口を有して密封端子を覆う端子カバーと、端子カバーを密閉容器に固定する固定部と、端子カバーと密閉容器との間に挟み込まれて気体の流通を阻害するシール部材と、端子カバーの配線用開口に配置されてリード線を保護し、30メッシュ以上の網目を有する金属製のブッシングと、を備え、端子カバーの内側と外側とは、0.9ミリメートル以下の隙間で繋がっている。
【0004】
また、特許文献2には、密封端子への配線の接続作業が容易にできて、密封端子のカバーの組立性を良好にできる圧縮機が開示されている。
【0005】
この圧縮機は、密閉容器と、密閉容器に収容される圧縮機構部と、圧縮機構部を駆動させる電動機と、密閉容器に設けられる密封端子と、密閉容器外部で密封端子に接続される配線と、密閉容器の外面側にて密封端子の周囲を囲む形状をなし、配線を保持する第1のカバーと、第1のカバーに蓋をするように取り付けられ、第1のカバーとともに密閉されたカバー内部空間を形成する第2のカバーと、第1のカバーおよび第2のカバーを密閉容器に取り付ける固定手段と、を備え、第1のカバーと第2のカバーとの当接面が密封端子の取り付け面に対して傾斜している。
【先行技術文献】
【特許文献】
【0006】
特開2021-032129号公報
特開2023-176502号公報
【発明の概要】
【発明が解決しようとする課題】
【0007】
本開示は、可燃性冷媒を圧縮する圧縮機であって、ターミナルカバー内への気体や液体などの異物の侵入を抑制することができる圧縮機を提供する。
【課題を解決するための手段】
【0008】
本開示における圧縮機は、可燃性冷媒を圧縮する圧縮機本体部と、圧縮機本体部に設けられ外部と電気的に接続する配線が接続される密封端子と、圧縮機本体部の外表面側に設けられるシール部材と、シール部材を介して密封端子を覆うように取付けられるターミナルカバーと、ターミナルカバーを圧縮機本体部に固定する固定手段を備えた圧縮機であって、固定手段は、密封端子を中心に略対称の位置に設けられている。
【発明の効果】
【0009】
本開示における圧縮機は、密閉容器に設けられた密封端子をターミナルカバーで覆う密閉構造を有し、ターミナルカバー内への気体や液体などの異物の侵入を抑制することができる。
【図面の簡単な説明】
【0010】
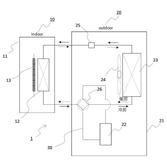
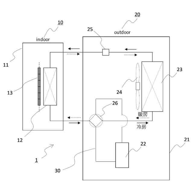
本開示の実施の形態に係る冷凍サイクル装置の概略図
組立時の圧縮機の上部の斜視図
組立時の圧縮機の平面図
圧縮機の上部の分解斜視図
(a)図3におけるA-A断面ならびに、(b)(c)密封端子の分解図
図3におけるB-B断面図
圧縮機に平面状のシール部材を乗せた平面図
図7からシール部材を除いた圧縮機の平面図
図7からシール部材を除いた圧縮機の斜視図
グロメットの参考図
【発明を実施するための形態】
(【0011】以降は省略されています)
この特許をJ-PlatPat(特許庁公式サイト)で参照する
関連特許
個人
海流製造装置。
29日前
株式会社スギノマシン
圧縮機
7日前
株式会社ツインバード
送風装置
27日前
株式会社ツインバード
送風装置
27日前
カヤバ株式会社
電動ポンプ
2か月前
株式会社不二越
蓄圧装置
2か月前
ビッグボーン株式会社
送風装置
1か月前
株式会社ノーリツ
ロータリ圧縮機
1か月前
サンデン株式会社
スクロール圧縮機
13日前
小倉クラッチ株式会社
ルーツブロア
2か月前
株式会社不二越
ベーンポンプ
2か月前
樫山工業株式会社
真空ポンプ
8日前
サンデン株式会社
スクロール圧縮機
13日前
サンデン株式会社
スクロール圧縮機
13日前
株式会社アイシン
ポンプケース
20日前
株式会社チロル
送風機、送風機付衣服
1か月前
株式会社島津製作所
真空ポンプ
27日前
エドワーズ株式会社
真空ポンプ
21日前
株式会社豊田自動織機
流体機械
1か月前
株式会社島津製作所
真空ポンプ
1か月前
株式会社豊田自動織機
電動圧縮機
2か月前
株式会社ナノバブル研究所
気液駆動装置
21日前
株式会社豊田自動織機
電動圧縮機
1か月前
株式会社豊田自動織機
電動圧縮機
1か月前
株式会社豊田自動織機
電動圧縮機
1か月前
NTN株式会社
電動オイルポンプ
14日前
株式会社豊田自動織機
電動圧縮機
1か月前
株式会社豊田自動織機
電動圧縮機
2か月前
株式会社豊田自動織機
電動圧縮機
1か月前
已久工業股ふん有限公司
空気圧縮機構造
2か月前
株式会社豊田自動織機
電動圧縮機
2か月前
株式会社荏原製作所
給水装置
2か月前
株式会社豊田自動織機
圧縮機
2か月前
株式会社豊田自動織機
圧縮機
2か月前
株式会社豊田自動織機
圧縮機
2か月前
テラル株式会社
ポンプ
7日前
続きを見る
他の特許を見る