TOP
|
特許
|
意匠
|
商標
特許ウォッチ
Twitter
他の特許を見る
公開番号
2025144030
公報種別
公開特許公報(A)
公開日
2025-10-02
出願番号
2024043592
出願日
2024-03-19
発明の名称
情報処理装置、踏切内危険検知システム、放置物検知システム、列車側方監視システム、道路監視システム、及び情報処理方法
出願人
株式会社国際電気
代理人
藤央弁理士法人
主分類
H04N
7/18 20060101AFI20250925BHJP(電気通信技術)
要約
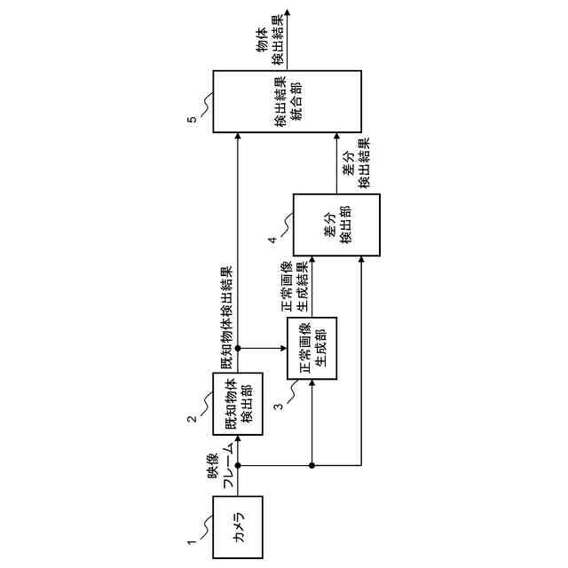
【課題】既知物体を除外して生成された正常画像を用いた未知物体を検出する。
【解決手段】情報処理装置であって、所定の演算処理を実行する演算装置と、前記演算装置がアクセス可能な記憶装置とを有する計算機によって構成され、前記演算装置が、センサが取得するデータから既知物体を検出した既知物体検出結果を出力する既知物体検出部と、前記演算装置が、前記既知物体検出結果を用いて、前記センサが複数時刻に取得したデータにおける既知物体以外の領域を合成して、前記正常データを生成する正常データ生成部と、前記演算装置が、前記正常データと前記センサが取得したデータを比較して、前記正常データと前記センサが取得したデータの差分を未知物体として検出した差分検出結果を出力する第一の差分検出部とを備える。
【選択図】図1
特許請求の範囲
【請求項1】
情報処理装置であって、
所定の演算処理を実行する演算装置と、前記演算装置がアクセス可能な記憶装置とを有する計算機によって構成され、
前記演算装置が、センサが取得するデータから既知物体を検出した既知物体検出結果を出力する既知物体検出部と、
前記演算装置が、前記既知物体検出結果を用いて、前記センサが複数時刻に取得したデータにおける既知物体以外の領域を合成して、前記正常データを生成する正常データ生成部と、
前記演算装置が、前記正常データと前記センサが取得したデータを比較して、前記正常データと前記センサが取得したデータの差分を未知物体として検出した差分検出結果を出力する第一の差分検出部とを備えることで、未知物体を高精度に検出できることを特徴とする情報処理装置。
続きを表示(約 1,800 文字)
【請求項2】
請求項1に記載の情報処理装置であって、
前記既知物体検出結果と前記差分検出結果を統合し、前記検出された既知物体と前記検出された未知物体を区別した物体検出結果、又は、前記検出された既知物体と前記検出された未知物体を区別しない物体検出結果の少なくとも一方を出力する検出結果統合部を備えることを特徴とする情報処理装置。
【請求項3】
請求項1に記載の情報処理装置であって、
前記正常データ生成部は、正常データの生成を示す正常データ生成完了フラグを出力し、
前記第一の差分検出部は、前記正常データ生成完了フラグが正常データの生成を示した後に差分を検出することで、良質な正常データを用いて好適に差分を検出できることを特徴とする情報処理装置。
【請求項4】
請求項1に記載の情報処理装置であって、
前記第一の差分検出部は、
前記正常データと前記センサが取得したデータから特徴量を抽出する特徴抽出器を有し、
前記特徴抽出器は、前記センサが取得したデータと異なる複数種類の物体の画像で学習されたものであることで、未知物体の特徴量を適切に抽出し、差分マップを生成できることを特徴とする情報処理装置。
【請求項5】
請求項4に記載の情報処理装置であって、
前記特徴抽出器は、前記正常データと前記センサが取得したデータから特徴量を抽出するニューラルネットワークを有し、
前記第一の差分検出部は、
前記ニューラルネットワークの中間層からの出力を用いて物体領域を示す差分マップを生成し、
前記差分マップに対してカーネルサイズが1以上の平均化フィルタを適用した後に閾値処理を実行して差分を検出することで、差分マップ上における微小サイズのノイズの影響を低減しつつ、データサイズに対して物体領域が小さい場合でも、顕著な差分を適切に検出できることを特徴とする情報処理装置。
【請求項6】
請求項1に記載の情報処理装置であって、
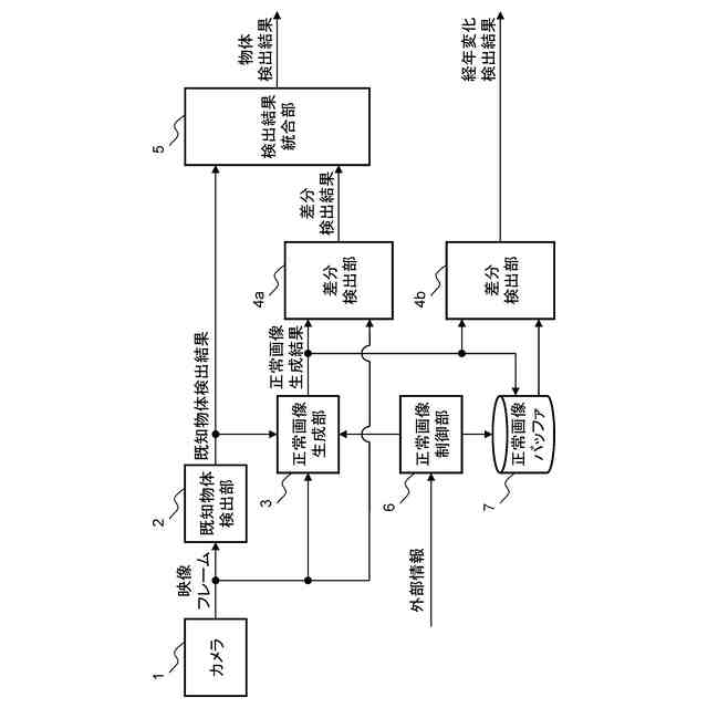
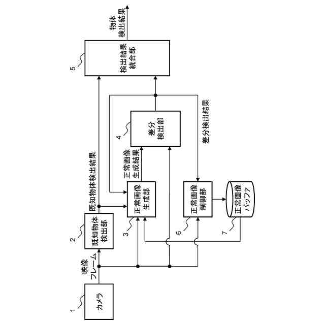
前記正常データ生成部は、前記差分検出結果が示す差分のデータ領域を除外する、又は、前記第一の差分検出部が出力する差分検出スコアが高いデータ領域ほど合成への寄与度を低く設定して、複数時刻に前記センサが取得したデータにおける既知物体及び未知物体以外の領域を合成して、検出された既知物体及び未知物体以外の領域が一致する正常データを生成することを特徴とする情報処理装置。
【請求項7】
請求項1に記載の情報処理装置であって、
画像全体の輝度の変化または差分が検出された領域の面積の少なくとも一つから得られるデータフレームの大域的な変化、又は外部から入力される情報の少なくとも一つをトリガとして、前記正常データ生成部に正常データの再生成を指示する正常データ制御部を備えることで、撮影条件の変化に応じて適切な正常画像を使用し、未知物体を好適に検知できることを特徴とする情報処理装置。
【請求項8】
請求項7に記載の情報処理装置であって、
前記正常データ生成部が生成した正常データを格納し、前記正常データ生成部からの指示に適する正常データを前記正常データ生成部に送る正常データバッファを備え、
前記正常データ生成部は、前記正常データバッファから送られた前記正常データを初期値として正常データの更新を行うことで、差分検出部を迅速に有効化できること特徴とする情報処理装置。
【請求項9】
請求項7に記載の情報処理装置であって、
前記正常データ生成部が生成した正常データを格納する正常データバッファと、
前記演算装置が、複数の前記正常データの差分を検出する第二の差分検出部とを備え、
前記第二の差分検出部は、異なる時刻の正常データを比較して、前記異なる時刻の正常データの差分を経年変化として検出した経年変化検出結果を出力するによって経年変化検出結果を出力することを特徴とする情報処理装置。
【請求項10】
請求項1に記載の情報処理装置であって、
前記データは画像データ又は点群データであることを特徴とする情報処理装置。
(【請求項11】以降は省略されています)
発明の詳細な説明
【技術分野】
【0001】
本発明は、情報処理装置及び情報処理方法に関する。
続きを表示(約 2,000 文字)
【背景技術】
【0002】
カメラが撮影した画像を正常状態の画像と比較して、異常を検出するシステムがある。例えば、鉄道の安全運行の支援を目的とした踏切内危険検知システムは、遮断桿が下りた後に踏切内に残存する歩行者や落下物等の物体を検出し、踏切内の異常を列車や指令所に通知する。踏切内危険検知システムは、踏切付近に設置されるカメラが撮影した画像から、踏切付近又は遠隔地に設置される解析装置を用いて物体を検出する方法が有用である。
【0003】
本技術分野の背景技術として、特許文献1(特開2021-183429号公報)、特許文献2(特開2023-174362号公報)、特許文献3(特開2021-33407号公報)がある。
【0004】
特許文献1には、線路又はそれに準じる軌道上を走行する鉄道車両が通過する踏切の監視領域若しくはその近傍に配設された情報処理装置と、前記鉄道車両を監視する監視センタ装置とを有し、前記監視領域における異常を検出して前記鉄道車両に通知する異常通知システムであって、前記情報処理装置は、前記踏切における画像に基づいて、前記鉄道車両が該踏切を通過するときに異常をもたらす可能性がある異常状態を検出する検出手段と、前記検出手段により検出された異常状態に対応する異常情報を前記監視センタ装置に対して通知する第1の通知手段とを有し、前記監視センタ装置は、前記情報処理装置から通知された異常情報と、前記鉄道車両から通知された位置情報とに基づいて、前記異常情報を通知する鉄道車両を判定する判定手段と、前記判定手段により判定された鉄道車両に対して前記異常情報を通知する第2の通知手段とを有する異常通知システムが記載されている。
【0005】
また、特許文献2には、入力画像から特徴量マップを生成する特徴量マップ生成ステップと、正常状態の画像から生成された特徴量マップの集合を用いて生成された特徴量マップと、前記入力画像の特徴量マップとの差分に基づいて差分特徴量マップを生成する差分特徴量マップ生成ステップと、複数の特徴量レベルにおいて生成された複数の前記差分特徴量マップを用いて異常マップを出力する異常マップ出力ステップとを有する画像異常検知方法が記載されている。
【0006】
また、特許文献3には、映像の各フレームから、過去フレームを統計的に処理した背景モデルを背景とする背景差分計算によりオブジェクトを抽出するオブジェクト抽出装置において、各フレームからオブジェクト領域を検出する手段と、フレーム間でのオブジェクト領域の変位情報を取得する手段と、前フレームに用いた背景差分閾値を前記変位情報に基づいて現フレームの対応する画素領域に移動して現フレームに用いる背景差分閾値を決定する手段と、前記背景モデルと現フレームとの差分を前記更新した背景差分閾値と比較する背景差分計算により現フレームの各画素を背景および前景のいずれかに識別する手段と、現フレームに基づいて前記背景モデルを更新する手段とを具備したことを特徴とするオブジェクト抽出装置が記載されている。
【先行技術文献】
【特許文献】
【0007】
特開2021-183429号公報
特開2023-174362号公報
特開2021-33407号公報
【発明の概要】
【発明が解決しようとする課題】
【0008】
前述した特許文献1に記載された技術では、踏切又はその周辺に侵入した車両又は人を検出するが、踏切内で危険をもたらす物体は人と車両だけではないため、未知の物体の検出が必要になる。
【0009】
本発明は、既知物体を除外した良質な正常画像を生成し、生成した正常画像を用いた未知物体を検出する情報処理装置及び方法の提供を目的とする。
【課題を解決するための手段】
【0010】
本願において開示される発明の代表的な一例を示せば以下の通りである。すなわち、所定の演算処理を実行する演算装置と、前記演算装置がアクセス可能な記憶装置とを有する計算機によって構成され、前記演算装置が、センサが取得するデータから既知物体を検出した既知物体検出結果を出力する既知物体検出部と、前記演算装置が、前記既知物体検出結果を用いて、前記センサが複数時刻に取得したデータにおける既知物体以外の領域を合成して、前記正常データを生成する正常データ生成部と、前記演算装置が、前記正常データと前記センサが取得したデータを比較して、前記正常データと前記センサが取得したデータの差分を未知物体として検出した差分検出結果を出力する第一の差分検出部とを備えることを特徴とする。
(【0011】以降は省略されています)
この特許をJ-PlatPat(特許庁公式サイト)で参照する
関連特許
キーコム株式会社
光伝送線路
今日
サクサ株式会社
中継装置
6日前
WHISMR合同会社
収音装置
1か月前
サクサ株式会社
中継装置
5日前
キヤノン株式会社
撮像装置
1か月前
アイホン株式会社
電気機器
27日前
サクサ株式会社
無線システム
4日前
個人
ワイヤレスイヤホン対応耳掛け
25日前
株式会社リコー
画像形成装置
1か月前
サクサ株式会社
無線通信装置
5日前
サクサ株式会社
無線通信装置
5日前
株式会社リコー
画像形成装置
1か月前
キヤノン電子株式会社
画像読取装置
1か月前
個人
発信機及び発信方法
4日前
キヤノン株式会社
撮像システム
27日前
日本電気株式会社
海底分岐装置
今日
国立大学法人電気通信大学
小型光学装置
1か月前
株式会社NTTドコモ
端末
今日
株式会社NTTドコモ
端末
今日
沖電気工業株式会社
画像形成装置
15日前
株式会社小糸製作所
画像照射装置
1か月前
パテントフレア株式会社
超高速電波通信
1か月前
沖電気工業株式会社
画像形成装置
7日前
株式会社松平商会
携帯機器カバー
1か月前
株式会社JVCケンウッド
通信システム
11日前
有限会社フィデリックス
マイクロフォン
11日前
大日本印刷株式会社
写真撮影装置
26日前
株式会社国際電気
遠隔監視システム
1か月前
個人
回動アームを構築する関節モジュール
7日前
日本無線株式会社
無線通信システム
1か月前
株式会社JVCケンウッド
スピーカ
1か月前
株式会社リコー
画像形成装置
1か月前
日本無線株式会社
無線通信システム
1か月前
日本無線株式会社
無線通信システム
1か月前
日本無線株式会社
無線通信システム
19日前
株式会社大林組
監視システム
1か月前
続きを見る
他の特許を見る