TOP
|
特許
|
意匠
|
商標
特許ウォッチ
Twitter
他の特許を見る
10個以上の画像は省略されています。
公開番号
2025143709
公報種別
公開特許公報(A)
公開日
2025-10-02
出願番号
2024043084
出願日
2024-03-19
発明の名称
情報処理装置、情報処理方法、およびプログラム
出願人
PayPay株式会社
代理人
個人
,
個人
,
個人
主分類
G06Q
50/10 20120101AFI20250925BHJP(計算;計数)
要約
【課題】複数の監視対象装置に対して、簡易かつ安価にセキュリティ対策を施すこと。
【解決手段】複数の監視対象装置の各々で動作するアプリケーションプログラムであるエージェント部によって収集された、前記複数の監視対象装置の各々のセキュリティに関するレポート情報を取得する取得部と、前記複数の監視対象装置の各々のセキュリティに関するレポート情報を集約し、集約された前記レポート情報にセキュリティ解析を実行する解析部と、前記セキュリティ解析の結果を可視化して端末装置に通知する通知部と、を備える、情報処理装置。
【選択図】図2
特許請求の範囲
【請求項1】
複数の監視対象装置の各々で動作するアプリケーションプログラムであるエージェント部によって収集された、前記複数の監視対象装置の各々のセキュリティに関するレポート情報を取得する取得部と、
前記複数の監視対象装置の各々のセキュリティに関するレポート情報を集約し、集約された前記レポート情報にセキュリティ解析を実行する解析部と、
前記セキュリティ解析の結果を可視化して端末装置に通知する通知部と、を備える、
情報処理装置。
続きを表示(約 1,200 文字)
【請求項2】
前記複数の監視対象装置の各々は、異なるサービスを提供する複数のサービスシステムのいずれかに属し、
前記解析部は、前記異なるサービスシステムに属する前記複数の監視対象装置の各々から取得された前記レポート情報を集約して、前記セキュリティ解析を実行する、
請求項1に記載の情報処理装置。
【請求項3】
前記解析部は、前記複数のサービスシステムの各々について前記セキュリティ解析を実行し、
前記通知部は、前記複数のサービスシステムの各々について実行された前記セキュリティ解析の結果を、前記複数のサービスシステムのセキュリティ管理端末にそれぞれ通知する、
請求項2に記載の情報処理装置。
【請求項4】
前記レポート情報は、前記複数の監視対象装置の各々へのアクセスに関するログデータを含み、
前記解析部は、集約された前記ログデータに前記セキュリティ解析を実行する、
請求項1に記載の情報処理装置。
【請求項5】
前記解析部は、前記セキュリティ解析として、前記レポート情報に基づいて、前記複数の監視対象装置が、前記複数の監視対象装置によって提供されるサービスのセキュリティ要件を満たすか否かを判定する、
請求項1に記載の情報処理装置。
【請求項6】
前記レポート情報は、前記複数の監視対象装置の各々に管理されるファイル又はプログラムに関するファイル監視データ、セキュリティ設定評価データ、脆弱性評価データのうちの少なくとも一つを含む、
請求項5に記載の情報処理装置。
【請求項7】
前記サービスは、電子決済サービスであり、
前記解析部は、前記レポート情報に基づいて、前記複数の監視対象装置が、電子決済サービスのセキュリティ要件を満たすか否かを判定する、
請求項5に記載の情報処理装置。
【請求項8】
コンピュータが、
複数の監視対象装置の各々で動作するアプリケーションプログラムであるエージェント部によって収集された、前記複数の監視対象装置の各々のセキュリティに関するレポート情報を取得し、
前記複数の監視対象装置の各々のセキュリティに関するレポート情報を集約し、集約された前記レポート情報にセキュリティ解析を実行し、
前記セキュリティ解析の結果を可視化して端末装置に通知する、
情報処理方法。
【請求項9】
コンピュータに、
複数の監視対象装置の各々で動作するアプリケーションプログラムであるエージェント部によって収集された、前記複数の監視対象装置の各々のセキュリティに関するレポート情報を取得させ、
前記複数の監視対象装置の各々のセキュリティに関するレポート情報を集約し、集約された前記レポート情報にセキュリティ解析を実行させ、
前記セキュリティ解析の結果を可視化して端末装置に通知させる、
プログラム。
発明の詳細な説明
【技術分野】
【0001】
本発明は、情報処理装置、情報処理方法、およびプログラムに関する。
続きを表示(約 2,000 文字)
【背景技術】
【0002】
従来、企業内に構築されているコンピュータシステムへのサイバー攻撃などのセキュリティイベントに対応するために、当該コンピュータシステム内の構成機器を監視する技術が開示されている。例えば、特許文献1には、コンピュータシステム内の監視対象装置からログデータを収集して解析し、不正を検知した場合、検知した不正をセキュリティ担当者に通知する技術が開示されている。
【先行技術文献】
【特許文献】
【0003】
特開2020-161017号公報
【発明の概要】
【発明が解決しようとする課題】
【0004】
しかしながら、上記の技術は、監視対象装置から専らログデータを取得するものであり、監視対象装置のセキュリティイベントを高度に分析することができない場合があった。さらに、従来の技術は、例えば、複数のサービスを提供するグループ会社によって管理される複数のシステムにセキュリティ対策を施す場合、それぞれのシステムに対する複雑な実装や多大なコストを伴うものであった。すなわち、複数の監視対象装置に対して、簡易かつ安価にセキュリティ対策を施せない場合があった。
【0005】
本発明は、このような事情を考慮してなされたものであり、複数の監視対象装置に対して、簡易かつ安価にセキュリティ対策を施すことができる情報処理装置、情報処理方法、およびプログラムを提供することを目的の一つとする。
【課題を解決するための手段】
【0006】
本発明の一態様は、複数の監視対象装置の各々で動作するアプリケーションプログラムであるエージェント部によって収集された、前記複数の監視対象装置の各々のセキュリティに関するレポート情報を取得する取得部と、前記複数の監視対象装置の各々のセキュリティに関するレポート情報を集約し、集約された前記レポート情報にセキュリティ解析を実行する解析部と、前記セキュリティ解析の結果を可視化して端末装置に通知する通知部と、を備える、情報処理装置である。
【発明の効果】
【0007】
本発明の一態様によれば、複数の監視対象装置に対して、簡易かつ安価にセキュリティ対策を施すことができる情報処理装置、情報処理方法、およびプログラムを提供することができる。
【図面の簡単な説明】
【0008】
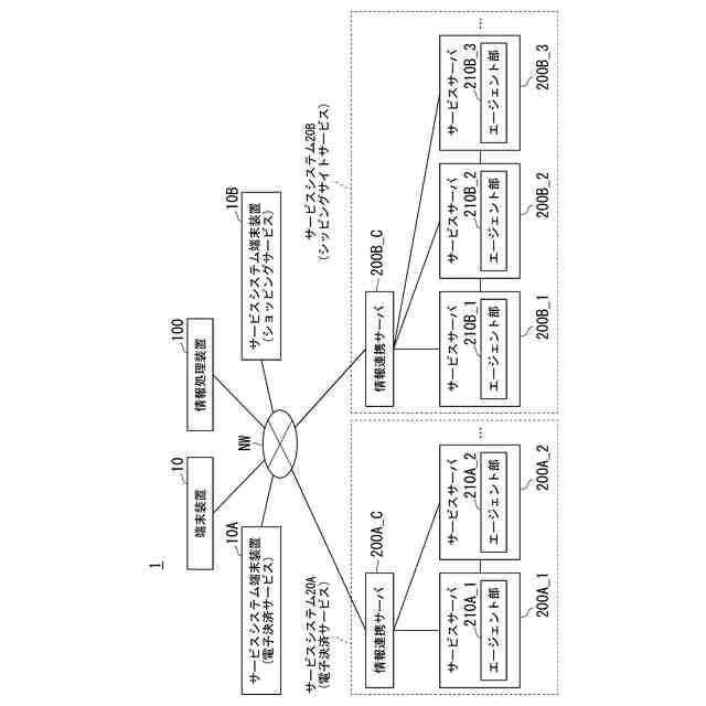
本実施形態に係る情報処理装置100を含むシステム1の例示的な構成図である。
本実施形態に係る情報処理装置100の例示的な構成図である。
本実施形態に係るサービスサーバ200の例示的な構成図である。
エージェント部210のログデータ収集機能212によって収集されるログデータ222の一例を示す図である。
エージェント部210のファイル監視機能214によって収集されるファイル監視データ224の一例を示す図である。
エージェント部210のセキュリティ設定評価機能216によって収集されるセキュリティ設定評価データ226の一例を示す図である。
エージェント部210の脆弱性評価機能218によって収集される脆弱性評価データ228の一例を示す図である。
端末装置10によって表示される、解析部120によるセキュリティ解析の結果の一例を示す図である。
端末装置10によって表示される、解析部120によるセキュリティ解析の結果の別の例を示す図である。
端末装置10によって表示される、解析部120によるセキュリティ解析の結果の別の例を示す図である。
本実施形態に係る情報処理装置100によって実行される処理の流れの一例を示すフローチャートである。
【発明を実施するための形態】
【0009】
以下、図面を参照し、本発明の情報処理装置、情報処理方法、およびプログラムの実施形態について説明する。
【0010】
[全体構成]
図1は、本実施形態に係る情報処理装置100を含むシステム1の例示的な構成図である。システム1は、例えば、端末装置10と、一以上のサービスシステム20と、情報処理装置100とを含む。本実施形態では、一例として、一以上のサービスシステム20が、電子決済サービスを提供するサービスシステム20Aと、ショッピングサイトサービスを提供するサービスシステム20Bによって構成される場合について説明する。これらサービスシステム20Aおよびサービスシステム20Bは、例えば、同一のグループ企業によって運営される。同一のグループ企業は、他の異なる数または種類のサービスシステムを提供していてもよい。
(【0011】以降は省略されています)
この特許をJ-PlatPat(特許庁公式サイト)で参照する
関連特許
PayPay株式会社
情報処理装置、情報処理方法、およびプログラム
2か月前
PayPay株式会社
情報処理装置、情報処理方法、およびプログラム
4日前
PayPay株式会社
情報処理装置、情報処理方法、およびプログラム
2か月前
PayPay株式会社
情報処理装置、情報処理方法、およびプログラム
2か月前
PayPay株式会社
情報処理装置、情報処理方法、およびプログラム
27日前
PayPay株式会社
情報処理装置、情報処理方法、およびプログラム
4日前
PayPay株式会社
情報処理装置、情報処理方法及び情報処理プログラム
11日前
PayPay株式会社
情報処理装置、情報処理方法及び情報処理プログラム
11日前
PayPay株式会社
情報処理装置、情報処理方法及び情報処理プログラム
11日前
PayPay株式会社
情報処理装置、情報処理方法、及び情報処理プログラム
1か月前
PayPay株式会社
情報処理装置、情報処理方法、及び情報処理プログラム
1か月前
PayPay株式会社
情報処理装置、情報処理装置の情報処理方法、およびプログラム
19日前
PayPay株式会社
辞書作成方法、辞書作成装置、プログラム、および情報提供装置
4日前
PayPay株式会社
情報処理装置、情報処理システム、情報処理方法、およびプログラム
2か月前
PayPay株式会社
アプリケーションプログラム、決済システム、および端末装置の制御方法
4日前
PayPay株式会社
アプリケーションプログラム、決済システム、および端末装置の制御方法
4日前
PayPay株式会社
決済サーバ、金融機関サーバ、決済システム、決済方法、およびプログラム
2か月前
PayPay株式会社
アプリケーションプログラム、決済システム、決済管理装置、およびプログラム
4日前
PayPay株式会社
情報処理装置、情報処理方法、およびプログラム
2か月前
PayPay株式会社
情報処理装置、情報処理方法、およびプログラム
4日前
PayPay株式会社
辞書作成方法、辞書作成装置、プログラム、および情報提供装置
4日前
PayPay株式会社
アプリケーションプログラム、決済システム、および端末装置の制御方法
4日前
PayPay株式会社
アプリケーションプログラム、決済システム、決済管理装置、およびプログラム
4日前
個人
詐欺保険
1か月前
個人
縁伊達ポイン
1か月前
個人
5掛けポイント
1か月前
個人
RFタグシート
1か月前
個人
職業自動販売機
25日前
個人
地球保全システム
2か月前
個人
QRコードの彩色
2か月前
個人
ペルソナ認証方式
1か月前
個人
自動調理装置
1か月前
個人
情報処理装置
1か月前
個人
立体グラフの利用方法
4日前
個人
農作物用途分配システム
1か月前
個人
残土処理システム
2か月前
続きを見る
他の特許を見る