TOP
|
特許
|
意匠
|
商標
特許ウォッチ
Twitter
他の特許を見る
10個以上の画像は省略されています。
公開番号
2025143502
公報種別
公開特許公報(A)
公開日
2025-10-01
出願番号
2025118089,2024082261
出願日
2025-07-14,2018-04-13
発明の名称
電子検出装置および電子ビーム検査装置
出願人
株式会社ホロン
代理人
個人
主分類
H01J
37/244 20060101AFI20250924BHJP(基本的電気素子)
要約
【目的】本発明は、電子検出装置および電子ビーム検査装置に関し、サンプルから放出された電子を高感度かつ低ノイズで検出することを目的とする。
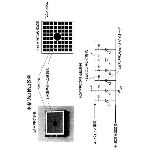
【構成】電子ビームを放出する電子銃と、放出された電子ビームを縮小してサンプルに照射する対物レンズと、サンプルに照射された電子ビームを平面走査する電子ビーム走査装置と、電子ビーム走査装置によって照射された電子ビームによってサンプルから放出された電子を、光に変換するシンチレータと、シンチレータからの光を、受光して電気信号に変換するMPPCと、MPPCの中央に形成された1次電子ビームの通過穴とを備え、シンチレータで変換した光を、MPPCが電気信号として検出し、電子を高感度かつ低ノイズに検出するように構成する。
【選択図】 図1
特許請求の範囲
【請求項1】
サンプルから放出された電子を検出する電子検出装置において、
電子ビームを放出する電子銃と、
前記放出された電子ビームを縮小してサンプルに照射する対物レンズと、
前記サンプルに照射された電子ビームを平面走査する電子ビーム走査装置と、
前記電子ビーム走査装置によって照射された電子ビームによってサンプルから放出された電子を、光に変換するシンチレータと、
前記シンチレータからの光を、受光して電気信号に変換するMPPCと、
前記MPPCの中央に形成された1次電子ビームの通過穴とを備え、
前記シンチレータで変換した光を、前記MPPCが電気信号として検出し、電子を高感度かつ低ノイズに検出することを特徴とする電子検出装置。
続きを表示(約 450 文字)
【請求項2】
前記サンプルから放出された電子のエネルギーを加速する手段として、サンプルに印加するバイアス電圧であることを特徴とする請求項1に記載の電子検出装置。
【請求項3】
前記電子のエネルギーを加速する手段が前記サンプルと前記シンチレータとの間に設けたメッシュに印加するバイアス電圧であることを特徴とする請求項1から請求項2のいずれかに記載の電子検出装置。
【請求項4】
前記加速された電子を分離するためのエネルギーフィルターを有することを特徴とする請求項1から請求項3のいずれかに記載の電子検出装置。
【請求項5】
前記エネルギーフィルターがメッシュであることを特徴とする請求項4に記載の電子検出装置。
【請求項6】
前記エネルギーフィルターがEXBであることを特徴とする請求項4に記載の電子検出装置。
【請求項7】
請求項1から請求項6のいずれかを組み込んだことを特徴とする電子ビーム検査装置。
発明の詳細な説明
【技術分野】
【0001】
本発明は、サンプルから放出された電子を検出する電子検出装置および電子ビーム検査装置に関するものである。
続きを表示(約 1,900 文字)
【背景技術】
【0002】
半導体デバイスはムーアの法則に従って、毎年縮小が進み、最先端デバイスでは量産段
階のデバイスでも最小フィーチャーサイズが20nmを切っている。小さなフィー
チャーサイズを実現するためには、より小さなパターンを形成できる露光技術が必要である。
【0003】
従来は波長193nmのレーザー光線が露光に使用されてきたが、光学的に分解できる
寸法限度を既に大きく超えているため、近年では波長が13.5nmのEUV光を利用する露光技術が精力的に進められている。
【0004】
この技術は日本発と言われる技術であるが、10年以上昔からASML(登録商標)等の会社で実用化に向けて研究開発されている。露光装置本体光学系はほぼ完成しているが、数年前までEUV露光装置は経済的量産に必要とされる100Wから200Wの光源パワーを得ることが出来ないため、20nm世代の露光に使用することはスキップされた。
【0005】
その代わりに既存の波長193nmを用いた露光プロセスを複数回繰り返し行うことでさらに小さなフィーチャーサイズを実現することができる、いわゆるダブルあるいはトリプル露光技術が発展した。
【0006】
原理上は波長193nmのレーザー光線を用いた液浸リソグラフィーを複数回繰り返す
ことにより幾らでも小さなパターンを作ることが可能である。しかし、従来よりも1ケタ高い精度のnmオーダーのアライメント精度が必要なことや193nm露光に最適化した化学増幅レジストの大きな分子構造から来る大きなラフネス等が繰り返し露光プロセスの制限になることが知られている。現在は、経済的限度と言われている露光プロセスを2回繰り返すダブルパターニングが実用に供せられており比較的構造の簡単なメモリーデバイスでは、20nmから16nmのライン&スペースを実現するために利用されている。
【0007】
構造の簡単なメモリーデバイスだけでなく、CPUやロジックデバイスも機能拡充や消
費電力低減のためにパターン縮小を行うことが必要である。ロジックデバイスは繰り返し
の無い複雑なパターンを利用するためロジックデバイスをダブルあるいはトリプル露光で
作るためには相当複雑なパターンが必要である。本来1回の露光で実現出来るパターンを
複数回の露光で利用可能な様に2枚のフォトマスク上のパターンに分割するためには非常
に複雑な計算が必要である。パターンによっては分割計算が発散するなどして必要な結果
が得られない場合がある。
【0008】
これらの複雑さを回避する目的で、コンプリメンタリーリソグラフィーと呼ばれる、主
にインテル(登録商標)が提唱しているリソグラフィー容易化技術が使われようとしている。この露光方法では、複雑なロジック回路をメモリー回路の様なL&Sの簡単なパターンに還元したパターンを利用することに特徴がある。このようにすることで、複雑なロジックデバイスのパターンを最も露光しやすいL&Sパターンとそのラインをカットするプロセスのみに限定しているため、複雑なパターン分割計算が必要なく、プロセスは簡単で、計算上は8nm程度まで行くとされている。
【0009】
以上述べたようにダブルパターニングやトリプルパターニング等の複雑な露光方法が使用されると、必要なフォトマスクは分割露光する度に増加し、従来以上に多くのマスク検査や精密な測定が要求されるようになる。例えば、ダブルパターニングでは、2枚のフォトマスクを順次重ねて用いるため、2枚のマスク間のマスク上に形成されているラインの絶対位置精度やアライメント精度が今まで以上に重要である。より細かいパターンを露光するための光学補正も複雑かつ、精密になる。インバースリソグラフィーを用いたマスクなどは、高次の回折光まで使用するため、補正に利用するパターンサイズはさらに小さい。マスクの生産に当たっては、従来は無視できていた大きさの欠陥がデバイス歩留まりに効いてくるなど、従来以上に欠陥密度を下げる必要があるし、細かいパーティクルも観察の対象になる。
【0010】
これらの傾向は従来の193nm露光に留まらず、今後、EUVが実用化されると、将来さらに小さなサイズで同様のマルチパターンング技術が使用されるため、検査必要量は指数関数的に増大していく傾向がある。
(【0011】以降は省略されています)
この特許をJ-PlatPat(特許庁公式サイト)で参照する
関連特許
株式会社ホロン
冷陰極電子源
4日前
株式会社ホロン
フォトマスク修正のドリフト補正装置およびフォトマスク修正のドリフト補正方法
1か月前
株式会社ホロン
電子検出装置および電子ビーム検査装置
6日前
個人
安全なNAS電池
1か月前
日本発條株式会社
積層体
8日前
東レ株式会社
多孔質炭素シート
27日前
ローム株式会社
半導体装置
6日前
キヤノン株式会社
電子機器
27日前
ローム株式会社
半導体装置
4日前
個人
防雪防塵カバー
8日前
ローム株式会社
半導体装置
6日前
エイブリック株式会社
半導体装置
29日前
エイブリック株式会社
半導体装置
29日前
ローム株式会社
半導体装置
6日前
ローム株式会社
半導体装置
27日前
株式会社GSユアサ
蓄電装置
4日前
株式会社ホロン
冷陰極電子源
4日前
個人
半導体パッケージ用ガラス基板
7日前
ニチコン株式会社
コンデンサ
20日前
東レ株式会社
ガス拡散層の製造方法
27日前
ニチコン株式会社
コンデンサ
20日前
株式会社ティラド
面接触型熱交換器
19日前
太陽誘電株式会社
全固体電池
4日前
株式会社GSユアサ
蓄電装置
8日前
株式会社ヨコオ
コネクタ
29日前
日本特殊陶業株式会社
保持装置
4日前
日本特殊陶業株式会社
保持装置
4日前
TDK株式会社
電子部品
4日前
ローム株式会社
電子装置
8日前
日本特殊陶業株式会社
保持装置
8日前
トヨタ自動車株式会社
二次電池
8日前
日本特殊陶業株式会社
保持装置
6日前
日本特殊陶業株式会社
保持装置
1か月前
マクセル株式会社
配列用マスク
19日前
住友電装株式会社
コネクタ
8日前
矢崎総業株式会社
コネクタ
11日前
続きを見る
他の特許を見る