TOP
|
特許
|
意匠
|
商標
特許ウォッチ
Twitter
他の特許を見る
10個以上の画像は省略されています。
公開番号
2025122681
公報種別
公開特許公報(A)
公開日
2025-08-22
出願番号
2024018237
出願日
2024-02-09
発明の名称
フォトマスク修正のドリフト補正装置およびフォトマスク修正のドリフト補正方法
出願人
株式会社ホロン
代理人
個人
主分類
G03F
1/74 20120101AFI20250815BHJP(写真;映画;光波以外の波を使用する類似技術;電子写真;ホログラフイ)
要約
【目的】本発明は、フォトマスク修正のドリフト補正装置およびフォトマスク修正のドリフト補正方法に関し、フォトマスク上の欠陥のある修正対象について、修正対象のSEM画像をもとに当該修正対象のドリフト補正を自動的に行うことを目的とする。
【構成】ノズルと、ステージと、SEM画像取得手段と、フォトマスクの上のパターンの欠陥のある修正対象に、ノズルからガスを噴射しかつ電子照射し、所定時間経過後にガス噴射を停止しかつ電子照射する、ことを繰り返すフォトマスク修正手段と、ガス噴射を停止しかつ電子照射するときに、SEM画像取得手段によりSEM画像を取得し、取得した複数のSEM画像を比較してドリフト量を算出するドリフト算出手段と、算出したドリフト量をもとに、電子照射する位置を補正あるいはステージの位置を補正する補正手段と
を備え、フォトマスクの欠陥のある修正対象のドリフト補正する。
【選択図】 図1
特許請求の範囲
【請求項1】
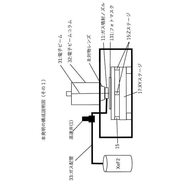
フォトマスクの欠陥を修正するときのドリフト補正するドリフト補正装置において、
フォトマスクの表面にガスを吹き付けるノズルと、
前記ノズルに対向して前記フォトマスクを保持するステージと、
前記フォトマスクに細く絞って電子照射しつつ走査して放出される電子を検出・増幅してSEM画像を取得するSEM画像取得手段と、
前記フォトマスクの上のパターンの欠陥のある修正対象に、前記ノズルからガスを噴射しかつ前記電子照射し、所定時間経過後に前記ガス噴射を停止しかつ前記電子照射する、ことを繰り返すフォトマスク修正手段と、
前記ガス噴射を停止しかつ前記電子照射するときに、前記SEM画像取得手段によりSEM画像を取得し、取得した複数のSEM画像を比較してドリフト量を算出するドリフト算出手段と、
前記算出したドリフト量をもとに、前記電子照射する位置を補正あるいは前記ステージの位置を補正する補正手段と
を備え、
フォトマスクの欠陥のある修正対象のドリフト補正することを特徴とするフォトマスク修正のドリフト補正装置。
続きを表示(約 1,000 文字)
【請求項2】
前記ノズルからガスを噴射しかつ前記電子照射のうちの電子照射、および所定時間経過後に前記ガス噴射を停止しかつ前記電子照射のうちの電子照射は、同一の前記修正対象への照射とすることを特徴とする請求項1に記載のフォトマスク修正のドリフト補正装置。
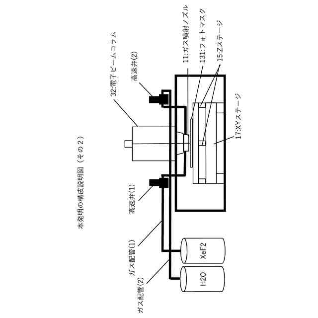
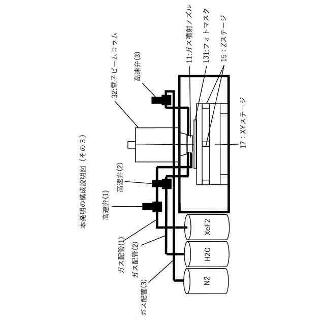
【請求項3】
前記ガスは、前記修正対象をエッチングするガス、あるいは前記修正対象をデポジションするガスとしたことを特徴とする請求項1から請求項2のいずれかに記載のフォトマスク修正のドリフト補正装置。
【請求項4】
前記エッチングするガスあるいは前記デポジションするガスの影響を除去するガスを噴射したことを特徴とする請求項3に記載のフォトマスク修正のドリフト補正装置。
【請求項5】
前記修正対象のチャージを中和するガスを噴射したことを特徴とする請求項1から請求項4のいずれかに記載のフォトマスク修正のドリフト補正装置。
【請求項6】
前記算出したドリフト量が所定閾値以上のときに、前記電子照射する位置を補正あるいは前記ステージの位置を補正することを特徴とする請求項1から請求項5のいずれかに記載のフォトマスク修正のドリフト補正装置。
【請求項7】
フォトマスクの欠陥を修正するときのドリフト補正するドリフト補正方法において、
フォトマスクの表面にガスを吹き付けるノズルと、
前記ノズルに対向して前記フォトマスクを保持するステージと
を設け、
前記フォトマスクに細く絞って電子照射しつつ走査して放出される2次電子を検出・増幅してSEM画像を取得するSEM画像取得ステップと、
前記フォトマスクの上のパターンの欠陥のある修正対象に、前記ノズルからガスを噴射しかつ前記電子照射し、所定時間経過後に前記ガス噴射を停止しかつ前記電子照射する、ことを繰り返すフォトマスク修正ステップと、
前記ガス噴射を停止しかつ前記電子照射するときに、前記SEM画像取得ステップによりSEM画像を取得し、取得した複数のSEM画像を比較してドリフト量を算出するドリフト算出ステップと、
前記算出したドリフト量をもとに、前記電子照射する位置を補正あるいは前記ステージの位置を補正する補正ステップと
を有し、
フォトマスクの欠陥のある修正対象のドリフト補正することを特徴とするフォトマスク修正のドリフト補正方法。
発明の詳細な説明
【技術分野】
【0001】
本発明は、フォトマスクの欠陥を修正する際のドリフト補正装置およびドリフト補正方法に関するものである。
続きを表示(約 910 文字)
【背景技術】
【0002】
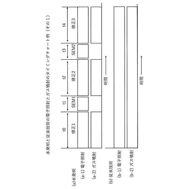
従来、マスク修正を行う際には、後述する図13の(a)に示す、フォトマスク位置のドリフトを補正するためのドリフト補正マーク74を必要とした。マスク修正装置には電子ビームコラム、XYステージがあるが、これらは電子ビーム照射による帯電現象やガス供給システムからの熱あるいはステージモーターが発生する熱によって熱膨張をするため位置ドリフトする性質を持っている。
【0003】
1つの欠陥を修正するために必要とされるマスク修正時間は短いもので数分、長いものでは数十分にも及ぶ。最先端フォトマスクの最小線幅は数十nmと非常に狭い。ミクロンオーダーのドリフトであれば、装置を構成する材料や帯電を起こしにくい工夫をすることで避けることが出来た。
【0004】
しかしながら、最先端のフォトマスク修正に求められる数nmの位置精度を実現するためには、上記の手法だけでは不足であり、修正途中に修正対象の画像観察を行い、ドリフト補正を行って所望の位置だけが確実に修正されるようにする必要があった。
【0005】
従来のマスク修正装置においては、例えばエッチングを行う際にはエッチングガスであるフッ化キセノンガスをずっとフォトマスク上に流し続け、エッチングプロセスを行うと共に、ドリフト補正マークをその状態で観察し補正を行っていた。
【0006】
ドリフト補正マークは画像観察時にエッチングを受けるため、エッチング最中に変形を起こす。フッ化キセノンガスではエッチングされにくい材料を選択してドリフト補正マークとして利用する。
【0007】
以下に図13の従来技術の説明図を簡単に説明する。
【0008】
図13は、従来技術の説明図を示す。
【0009】
図13の(a)は、フォトマスク上の欠陥のある修正対象71およびドリフト補正マーク74を設けた例を示す。
【0010】
図13の(a)において、修正対象71は、欠陥のある修正対象である。
(【0011】以降は省略されています)
この特許をJ-PlatPat(特許庁公式サイト)で参照する
関連特許
株式会社ホロン
冷陰極電子源
3日前
株式会社ホロン
フォトマスク修正のドリフト補正装置およびフォトマスク修正のドリフト補正方法
1か月前
株式会社ホロン
電子検出装置および電子ビーム検査装置
5日前
個人
監視用カメラ
4か月前
株式会社シグマ
絞りユニット
18日前
キヤノン株式会社
撮像装置
1か月前
キヤノン株式会社
撮像装置
11日前
キヤノン株式会社
撮像装置
17日前
平和精機工業株式会社
雲台
1か月前
株式会社リコー
画像形成装置
3か月前
株式会社リコー
画像形成装置
2か月前
株式会社イノン
接写補助装置
4か月前
株式会社リコー
画像形成装置
25日前
株式会社リコー
画像形成装置
7日前
株式会社リコー
画像形成装置
3か月前
株式会社リコー
画像形成装置
2か月前
株式会社リコー
画像形成装置
1か月前
株式会社リコー
画像形成装置
4か月前
株式会社リコー
画像形成装置
1か月前
株式会社リコー
画像形成装置
4か月前
株式会社リコー
画像形成装置
1か月前
キヤノン株式会社
画像形成装置
1か月前
シャープ株式会社
画像形成装置
1か月前
キヤノン株式会社
画像形成装置
2か月前
トヨタ自動車株式会社
撮像方法
3か月前
キヤノン株式会社
画像形成装置
1か月前
株式会社オプトル
プロジェクタ
1か月前
キヤノン株式会社
画像形成装置
1か月前
キヤノン株式会社
トナー
3か月前
キヤノン株式会社
画像形成装置
2か月前
キヤノン株式会社
トナー
3か月前
キヤノン株式会社
画像形成装置
2か月前
キヤノン株式会社
画像形成装置
2か月前
キヤノン株式会社
トナー
3か月前
キヤノン株式会社
トナー
3日前
キヤノン株式会社
画像形成装置
4か月前
続きを見る
他の特許を見る