TOP
|
特許
|
意匠
|
商標
特許ウォッチ
Twitter
他の特許を見る
公開番号
2025143157
公報種別
公開特許公報(A)
公開日
2025-10-01
出願番号
2024042936
出願日
2024-03-18
発明の名称
転がり軸受用保持器および転がり軸受
出願人
NTN株式会社
代理人
個人
,
個人
,
個人
主分類
F16C
33/44 20060101AFI20250924BHJP(機械要素または単位;機械または装置の効果的機能を生じ維持するための一般的手段)
要約
【課題】保持器強度を確保しつつ、樹脂成形体を位置決めするための凸部の除去加工が不要になり、樹脂部の剥離等、不具合の発生を防止できる転がり軸受用保持器、および該保持器を用いた転がり軸受を提供する。
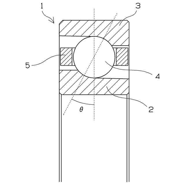
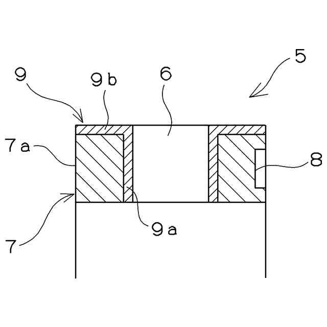
【解決手段】保持器5は、転がり軸受において複数の転動体を保持する転がり軸受用保持器であって、円環状の金属本体部7と、金属本体部7に一体化された樹脂部9とを有し、転動体を収容するポケット6は、樹脂部9で構成されるとともに、樹脂部9は、金属本体部7の外周面に形成されており、保持器5は、保持器5の軸方向端面を構成する金属本体部7の幅面7aに、軸方向に凹んだ凹部8を有する。
【選択図】図2
特許請求の範囲
【請求項1】
転がり軸受において複数の転動体を保持する転がり軸受用保持器であって、
前記保持器は、円環状の金属本体部と、該金属本体部に一体化された樹脂部とを有し、前記転動体を収容するポケットは、前記樹脂部で構成されるとともに、
前記樹脂部は、前記金属本体部の内周面または外周面に形成されており、
前記保持器は、該保持器の軸方向端面を構成する前記金属本体部の幅面に、軸方向に凹んだ凹部を有することを特徴とする転がり軸受用保持器。
続きを表示(約 630 文字)
【請求項2】
前記金属本体部は、前記幅面に前記凹部を複数有しており、これら凹部は周方向に等間隔に設けられていることを特徴とする請求項1記載の転がり軸受用保持器。
【請求項3】
前記凹部は、前記幅面内に閉じた有底形状の丸穴であり、前記金属本体部は、前記幅面において、前記ポケットと軸方向で重なる位置に前記凹部を有することを特徴とする請求項1または請求項2記載の転がり軸受用保持器。
【請求項4】
前記金属本体部は、内径側に位置する円環状の第1金属部と、外径側に位置し、前記第1金属部が嵌め合わせられる円環状の第2金属部とを有し、前記樹脂部によって前記第1金属部と前記第2金属部が接着されており、前記第1金属部は、その幅面に前記凹部を有することを特徴とする請求項1または請求項2記載の転がり軸受用保持器。
【請求項5】
前記第1金属部は、外周面に立体的網目状格子を構成する部分を有しており、前記第1金属部の前記幅面における前記凹部の深さは、前記幅面から前記立体的網目状格子を構成する部分までの厚みよりも小さいことを特徴とする請求項4記載の転がり軸受用保持器。
【請求項6】
内輪および外輪と、この内輪と外輪との間に介在する転動体と、この転動体を保持する保持器とを備えてなる転がり軸受であって、
前記保持器が、請求項1または請求項2記載の転がり軸受用保持器であることを特徴とする転がり軸受。
発明の詳細な説明
【技術分野】
【0001】
本発明は、転がり軸受用保持器および転がり軸受に関する。
続きを表示(約 1,500 文字)
【背景技術】
【0002】
液体水素や液体酸素といった極低温流体のロケットターボポンプ用軸受には、通常の油潤滑やグリース潤滑を使用することが困難である。そのため、転がり軸受用保持器をポリテトラフルオロエチレン(PTFE)樹脂として、転動体との摺動によって供給する固体潤滑が使用されている。PTFE樹脂が摺動によって軌道面や転動体に移着することで、軸受の潤滑性が確保される。
【0003】
一方、近年のロケット開発では小型化・高速化が望まれており、樹脂を母材とした保持器では強度面で懸念がある。これに対し、金属基材に固体潤滑剤を含む樹脂をインサート成形し、本体部と樹脂部とを一体化させた保持器が提案されている。
【0004】
例えば、特許文献1では、保持器強度をアルミニウムなどの金属基材で確保するとともに、転動体と摺動するポケット面、および、内輪または外輪と摺動する案内面が樹脂部によって形成されることで潤滑性を確保している。
【先行技術文献】
【特許文献】
【0005】
特許第6178117号公報
特開2023-33016号公報
【発明の概要】
【発明が解決しようとする課題】
【0006】
ところで、上記のような保持器では、樹脂成形後、転動体を収容するポケットを加工するため、成形体を位置決めする必要がある。しかし、成形体を位置決めする態様によっては、その後の加工などにより樹脂部が剥離するおそれがあり、また作業効率が低下するおそれがある。例えば、成形体に、ポケットを加工するため、成形体の幅面に凸部を設けて、位置決めすることがあるが、その場合、ポケットを加工後に凸部を除去加工する必要があり、除去加工の際、保持器外周面の樹脂部が剥離するおそれがある。
【0007】
本発明はこのような事情に鑑みてなされたものであり、保持器強度を確保しつつ、樹脂成形体を位置決めするための凸部の除去加工が不要になり、樹脂部の剥離等、不具合の発生を防止できる転がり軸受用保持器、および該保持器を用いた転がり軸受を提供することを目的とする。
【課題を解決するための手段】
【0008】
本発明の転がり軸受用保持器は、転がり軸受において複数の転動体を保持する転がり軸受用保持器であって、上記保持器は、円環状の金属本体部と、該金属本体部に一体化された樹脂部とを有し、上記転動体を収容するポケットは、上記樹脂部で構成されるとともに、上記樹脂部は、上記金属本体部の内周面または外周面に形成されており、上記保持器は、該保持器の軸方向端面を構成する上記金属本体部の幅面に、軸方向に凹んだ凹部を有することを特徴とする。
ここで、転がり軸受は、外輪と、内輪と、これら外輪と内輪との間に介在された転動体(玉)とを備えている。内輪および外輪の中心軸の軸心方向を「軸方向」とする。前記「軸方向」に直交する方向を「径方向」とする。「周方向」とは、内輪および外輪の中心軸の軸心において、軸心周りに一周する円周に沿った方向のことをいう。これらの方向の定義は以下の説明においても同じである。
【0009】
上記金属本体部は、上記幅面に上記凹部を複数有しており、これら凹部は周方向に等間隔に設けられていることを特徴とする。
【0010】
上記凹部は、上記幅面内に閉じた有底形状の丸穴であり、上記金属本体部は、上記幅面において、上記ポケットと軸方向で重なる位置に上記凹部を有することを特徴とする。
(【0011】以降は省略されています)
この特許をJ-PlatPat(特許庁公式サイト)で参照する
関連特許
NTN株式会社
ハンド
17日前
NTN株式会社
玉軸受
9日前
NTN株式会社
軸受装置
9日前
NTN株式会社
軸受装置
9日前
NTN株式会社
把持装置
17日前
NTN株式会社
作業装置
15日前
NTN株式会社
軸受装置
9日前
NTN株式会社
軸受装置
9日前
NTN株式会社
焼結軸受
9日前
NTN株式会社
把持装置
17日前
NTN株式会社
密封装置
15日前
NTN株式会社
荷積込装置
10日前
NTN株式会社
転がり軸受
10日前
NTN株式会社
転がり軸受
9日前
NTN株式会社
転がり軸受
17日前
NTN株式会社
状態監視装置
16日前
NTN株式会社
回転伝達装置
15日前
NTN株式会社
回転伝達装置
10日前
NTN株式会社
シール付軸受
15日前
NTN株式会社
回転伝達装置
10日前
NTN株式会社
車輪用軸受装置
10日前
NTN株式会社
車輪用軸受装置
15日前
NTN株式会社
保持器付きころ
19日前
NTN株式会社
リンク作動装置
11日前
NTN株式会社
軸受装置及び間座
10日前
NTN株式会社
状態監視システム
16日前
NTN株式会社
電動オイルポンプ
16日前
NTN株式会社
細胞配置の制御方法
19日前
NTN株式会社
電食防止転がり軸受
19日前
NTN株式会社
ブーツ付等速自在継手
8日前
NTN株式会社
シェル形針状ころ軸受
11日前
NTN株式会社
等速自在継手用ブーツ
8日前
NTN株式会社
流量制御バルブ用シール
17日前
NTN株式会社
軸受装置および機械装置
8日前
NTN株式会社
トリポード型等速自在継手
16日前
NTN株式会社
診断装置、および診断方法
19日前
続きを見る
他の特許を見る