TOP
|
特許
|
意匠
|
商標
特許ウォッチ
Twitter
他の特許を見る
公開番号
2025142976
公報種別
公開特許公報(A)
公開日
2025-10-01
出願番号
2024042634
出願日
2024-03-18
発明の名称
自動車用冷却部品および自動車用冷却部品の製造方法
出願人
株式会社山田製作所
代理人
個人
,
個人
,
個人
主分類
F04D
29/42 20060101AFI20250924BHJP(液体用容積形機械;液体または圧縮性流体用ポンプ)
要約
【課題】粉バリが内部に残りにくい自動車用冷却部品および自動車用冷却部品の製造方法を提供することである。
【解決手段】本開示の自動車用冷却部品は、ケースと、カバーと、を有する。ケースは、ケース開口の周縁に沿ってケース溶着部を有する。カバーは、ケース開口に対向するカバー開口を有する。カバーは、カバー開口の周縁に沿ってカバー溶着部を有する。中心軸に沿う方向が第1方向であり、中心軸に直交する方向が第2方向である。ケース溶着部およびカバー溶着部のうち一方を第1溶着部とし他方を第2溶着部とする。このとき、第1溶着部における第1方向の先端には、第2方向の内側から外側にかけて第2溶着部から離反するように傾斜する傾斜面が形成される。第2溶着部における第1方向の先端には、第1方向に交差する平面が形成される。第1溶着部と第2溶着部とが溶着により接合されている。
【選択図】図2
特許請求の範囲
【請求項1】
中心軸に沿う第1方向の端部にケース開口を有し、前記中心軸に直交する第2方向の内側にポンプの構成部品を収容し、前記ケース開口の周縁に沿ってケース溶着部を有するケースと、
前記ケースの前記第1方向に並んで配置され、前記ケース開口に対向するカバー開口を有し、前記カバー開口の周縁に沿ってカバー溶着部を有するカバーと、を有し、
前記ケース溶着部および前記カバー溶着部のうち一方を第1溶着部とし他方を第2溶着部としたとき、
前記第1溶着部における前記第1方向の先端には、前記第2方向の内側から外側にかけて前記第2溶着部から離反するように傾斜する傾斜面が形成され、
前記第2溶着部における前記第1方向の先端には、前記第1方向に交差する平面が形成され、
前記第1溶着部と前記第2溶着部とが溶着により接合されている、
自動車用冷却部品。
続きを表示(約 990 文字)
【請求項2】
前記第1溶着部と前記第2溶着部との間の溶着層から前記第2方向の外側に伸びる外側溶着バリの体積は、前記溶着層から前記第2方向の内側に伸びる内側溶着バリの体積より小さい、
請求項1に記載の自動車用冷却部品。
【請求項3】
前記第1溶着部および前記第2溶着部から前記第2方向の内側に離間して配置された内側立壁と、
前記第1溶着部および前記第2溶着部から前記第2方向の外側に離間して配置された外側立壁と、を有する、
請求項1または2に記載の自動車用冷却部品。
【請求項4】
中心軸に沿う第1方向の端部にケース開口を有し、前記中心軸に直交する第2方向の内側にポンプの構成部品を収容し、前記ケース開口の周縁に沿ってケース溶着部を有するケースと、
前記ケースの前記第1方向に並んで配置され、前記ケース開口に対向するカバー開口を有し、前記カバー開口の周縁に沿ってカバー溶着部を有するカバーと、を有するポンプにおいて、
前記ケース溶着部および前記カバー溶着部のうち一方を第1溶着部とし他方を第2溶着部としたとき、前記第1溶着部における前記第1方向の先端に、前記第2方向の内側から外側にかけて前記第2溶着部から離反するように傾斜する傾斜面が形成され、前記第2溶着部における前記第1方向の先端に、前記第1方向に交差する平面が形成されて、前記第1溶着部と前記第2溶着部とが溶着により接合される、
自動車用冷却部品の製造方法。
【請求項5】
前記第1溶着部の前記第1方向の先端における前記傾斜面の前記第2方向の内側に、前記第1方向に交差する平面が形成されて、前記第1溶着部と前記第2溶着部とが溶着により接合される、
請求項4に記載の自動車用冷却部品の製造方法。
【請求項6】
前記第1溶着部において前記溶着により溶融する領域を溶融領域としたとき、
前記傾斜面の前記第1方向の高さは、前記溶融領域の前記第1方向の高さより小さい、
請求項4または5に記載の自動車用冷却部品の製造方法。
【請求項7】
前記第2溶着部の前記第2方向の幅は、前記第1溶着部の前記第2方向の幅より大きい、
請求項4または5に記載の自動車用冷却部品の製造方法。
発明の詳細な説明
【技術分野】
【0001】
本開示は、自動車用冷却部品および自動車用冷却部品の製造方法に関する。
続きを表示(約 2,200 文字)
【背景技術】
【0002】
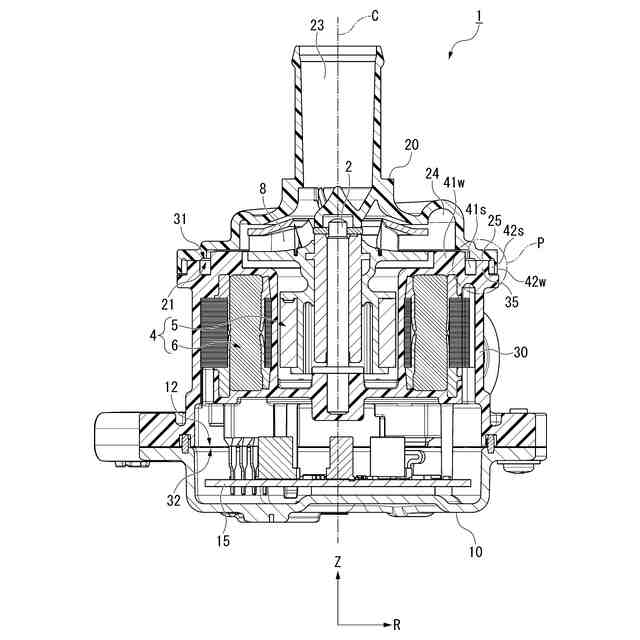
自動車用冷却部品として、エンジンとラジエータとの間で冷却水を循環させる電動ウォーターポンプ等が利用されている。電動ウォーターポンプ等のポンプは、ケースと、カバーと、を有する。ケースは、ポンプの構成部品を収容する。カバーは、ケースの開口を覆う。ケースおよびカバーは樹脂材料で形成され、振動溶着により接合される。振動溶着時の擦れにより粉バリが発生する。粉バリが内部に残りにくい自動車用冷却部品が求められる。
【先行技術文献】
【特許文献】
【0003】
特許第6891565号公報
【発明の概要】
【発明が解決しようとする課題】
【0004】
本開示が解決しようとする課題は、粉バリが内部に残りにくい自動車用冷却部品および自動車用冷却部品の製造方法を提供することである。
【課題を解決するための手段】
【0005】
上記課題を解決するために、本開示は以下の態様を採用した。
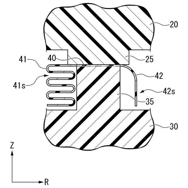
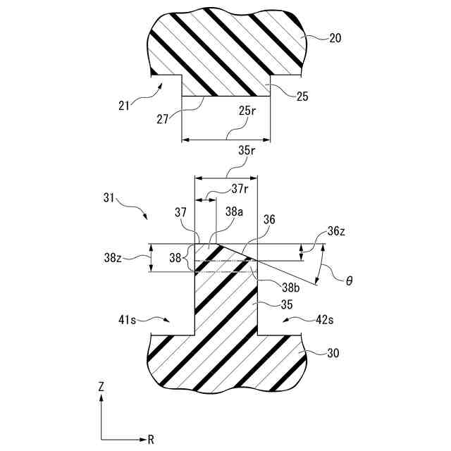
(1)本開示の一態様の自動車用冷却部品は、ケースと、カバーと、を有する。ケースは、中心軸に沿う第1方向の端部にケース開口を有する。ケースは、中心軸に直交する第2方向の内側に自動車用冷却部品の構成部品を収容する。ケースは、ケース開口の周縁に沿ってケース溶着部を有する。カバーは、ケースの第1方向に並んで配置される。カバーは、ケース開口に対向するカバー開口を有する。カバーは、カバー開口の周縁に沿ってカバー溶着部を有する。ケース溶着部およびカバー溶着部のうち一方を第1溶着部とし他方を第2溶着部とする。このとき、第1溶着部における第1方向の先端には、第2方向の内側から外側にかけて第2溶着部から離反するように傾斜する傾斜面が形成される。第2溶着部における第1方向の先端には、第1方向に交差する平面が形成される。第1溶着部と第2溶着部とが溶着により接合されている。
【0006】
第1溶着部の先端に傾斜面が形成されるので、第1溶着部と第2溶着部との当接部では、接触面積が小さくなり面圧が大きくなる。第1溶着部と第2溶着部との摩擦熱により、当接部の温度が迅速に上昇する。当接部の擦れが短時間で終了し、当接部が迅速に溶融する。これにより、当接部の擦れによる粉バリの発生が抑制される。第1溶着部の傾斜面は、第2方向の内側から順に、第2溶着部に当接する。粉バリが発生する部分の第2方向の内側は、既に溶融している。発生した粉バリが第2方向の内側に飛散しにくい。これにより、自動車用冷却部品の内側に粉バリが残りにくい。
【0007】
(2)上記(1)の態様の自動車用冷却部品において、第1溶着部と第2溶着部との間の溶着層から第2方向の外側に伸びる外側溶着バリの体積は、溶着層から第2方向の内側に伸びる内側溶着バリの体積より小さい。
第1溶着部の先端に傾斜面が形成されるので、第1溶着部の溶融領域の体積は、第2方向の内側から外側にかけて小さくなる。そのため、溶融領域の溶融により発生する外側溶着バリの体積は、内側溶着バリの体積より小さくなる。
【0008】
(3)上記(1)または(2)に記載の自動車用冷却部品において、自動車用冷却部品は、内側立壁と、外側立壁と、を有する。内側立壁は、第1溶着部および第2溶着部から第2方向の内側に離間して配置される。外側立壁は、第1溶着部および第2溶着部から第2方向の外側に離間して配置される。
内側立壁により、自動車用冷却部品の内側への内側溶着バリの流入が抑制される。外側立壁により、自動車用冷却部品の外側への外側溶着バリの流出が抑制される。
【0009】
(4)本開示の一態様の自動車用冷却部品の製造方法は、ケースと、カバーと、を有する自動車用冷却部品の製造方法である。ケースは、中心軸に沿う第1方向の端部にケース開口を有する。ケースは、中心軸に直交する第2方向の内側に自動車用冷却部品の構成部品を収容する。ケースは、ケース開口の周縁に沿ってケース溶着部を有する。カバーは、ケースの第1方向に並んで配置される。カバーは、ケース開口に対向するカバー開口を有する。カバーは、カバー開口の周縁に沿ってカバー溶着部を有する。ケース溶着部およびカバー溶着部のうち一方を第1溶着部とし他方を第2溶着部とする。第1溶着部における第1方向の先端に、第2方向の内側から外側にかけて第2溶着部から離反するように傾斜する傾斜面が形成され、第2溶着部における第1方向の先端に、第1方向に交差する平面が形成されて、第1溶着部と第2溶着部とが溶着により接合される。
【0010】
第1溶着部の先端に傾斜面が形成されるので、第1溶着部と第2溶着部との当接部では、接触面積が小さくなり面圧が大きくなる。第1溶着部と第2溶着部との摩擦熱により、当接部の温度が迅速に上昇する。当接部の擦れが短時間で終了し、当接部が迅速に溶融する。これにより、当接部の擦れによる粉バリの発生が抑制される。第1溶着部の傾斜面は、第2方向の内側から順に、第2溶着部に当接する。粉バリが発生する部分の第2方向の内側は、既に溶融している。発生した粉バリが第2方向の内側に飛散しにくい。これにより、自動車用冷却部品の内側に粉バリが残りにくい。
(【0011】以降は省略されています)
この特許をJ-PlatPat(特許庁公式サイト)で参照する
関連特許
株式会社山田製作所
シャフト連結構造
9日前
株式会社山田製作所
自動車用冷却部品および自動車用冷却部品の製造方法
11日前
個人
圧縮機
5か月前
個人
海流製造装置。
25日前
株式会社スギノマシン
圧縮機
3日前
株式会社ツインバード
送風装置
23日前
ダイニチ工業株式会社
空調装置
4か月前
株式会社ツインバード
送風装置
23日前
カヤバ株式会社
電動ポンプ
2か月前
ビッグボーン株式会社
送風装置
1か月前
株式会社不二越
蓄圧装置
2か月前
株式会社酉島製作所
ポンプ
4か月前
シャープ株式会社
送風装置
5か月前
株式会社酉島製作所
ポンプ
5か月前
株式会社ニクニ
液封式ポンプ装置
4か月前
シャープ株式会社
送風装置
5か月前
株式会社ノーリツ
ロータリ圧縮機
1か月前
シャープ株式会社
送風装置
5か月前
株式会社酉島製作所
ポンプ
3か月前
個人
携帯型扇風機用の送風ノズル
4か月前
サンデン株式会社
スクロール圧縮機
9日前
株式会社坂製作所
スクロール圧縮機
3か月前
小倉クラッチ株式会社
ルーツブロア
2か月前
株式会社不二越
ベーンポンプ
2か月前
樫山工業株式会社
真空ポンプ
4日前
株式会社ノーリツ
ロータリー圧縮機
3か月前
サンデン株式会社
スクロール圧縮機
9日前
サンデン株式会社
スクロール圧縮機
9日前
株式会社不二越
油圧ユニット
4か月前
株式会社島津製作所
真空ポンプ
1か月前
株式会社豊田自動織機
流体機械
1か月前
株式会社島津製作所
真空ポンプ
23日前
株式会社アイシン
ポンプケース
16日前
株式会社チロル
送風機、送風機付衣服
1か月前
エドワーズ株式会社
真空ポンプ
17日前
個人
連結式螺旋翼体及び流体移送装置
4か月前
続きを見る
他の特許を見る