TOP
|
特許
|
意匠
|
商標
特許ウォッチ
Twitter
他の特許を見る
公開番号
2025142682
公報種別
公開特許公報(A)
公開日
2025-10-01
出願番号
2024042186
出願日
2024-03-18
発明の名称
燃料供給装置及びエンジンシステム
出願人
ヤンマーホールディングス株式会社
代理人
個人
,
個人
主分類
F02M
37/00 20060101AFI20250924BHJP(燃焼機関;熱ガスまたは燃焼生成物を利用する機関設備)
要約
【課題】主燃料と助燃剤とを分子レベルで混合することにより燃焼安定性を確保することができる燃料供給装置及びエンジンシステムを提供する。
【解決手段】
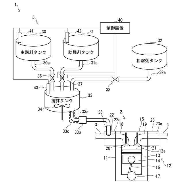
アンモニアやアルコール等の主燃料と、軽油、灯油又は重油等の炭化水素系の液体燃料からなる助燃剤との混合燃料で稼働するエンジン2を備えたエンジンシステム1に適用され、混合燃料をエンジン2に供給する燃料供給装置5は、相溶剤、主燃料及び助燃剤を混合して混合燃料を生成する。
【選択図】図1
特許請求の範囲
【請求項1】
主燃料と炭化水素系の液体燃料からなる助燃剤との混合燃料をエンジンに供給する燃料供給装置において、
相溶剤、前記主燃料及び前記助燃剤を混合して前記混合燃料を生成することを特徴とする燃料供給装置。
続きを表示(約 950 文字)
【請求項2】
前記主燃料の温度、前記助燃剤の温度及び前記混合燃料の温度のうち少なくとも1つの温度を検出する温度検出部と、
前記温度検出部による温度検出結果に基づいて前記相溶剤の供給量を決定する供給量決定部と、
前記供給量決定部で決定された前記供給量の前記相溶剤を供給する相溶剤供給部と、
を備えることを特徴とする請求項1に記載の燃料供給装置。
【請求項3】
前記主燃料を収容する主燃料タンクと、
前記助燃剤を収容する助燃剤タンクと、
前記主燃料及び前記助燃剤の撹拌を行う撹拌機と、
前記撹拌機を有する撹拌容器と、を備え、
前記主燃料タンク及び前記助燃剤タンクから前記主燃料及び前記助燃剤をそれぞれ前記撹拌容器に供給すると共に、決定された前記供給量の前記相溶剤を前記相溶剤供給部によって前記撹拌容器に供給することを特徴とする請求項2に記載の燃料供給装置。
【請求項4】
前記混合燃料を前記エンジンに供給するための混合燃料噴射装置を備え、
前記撹拌容器で撹拌されて生成された前記混合燃料を、前記撹拌容器に保管することなく、前記混合燃料噴射装置に供給することを特徴とする請求項3に記載の燃料供給装置。
【請求項5】
前記混合燃料の流通方向において前記混合燃料噴射装置よりも上流側で且つ前記撹拌容器よりも下流側に配置され、前記混合燃料噴射装置に前記混合燃料を圧送する混合燃料ポンプを備え、
前記流通方向において前記撹拌容器を前記混合燃料ポンプの近傍に配置し、及び/又は、前記撹拌容器から前記混合燃料ポンプまでの流路に保温部を備えることを特徴とする請求項4に記載の燃料供給装置。
【請求項6】
前記主燃料は、アンモニア又はアルコールであることを特徴とする請求項1に記載の燃料供給装置。
【請求項7】
前記相溶剤は、高級アルコール又はエーテル類であることを特徴とする請求項1に記載の燃料供給装置。
【請求項8】
請求項1に記載の燃料供給装置と、
前記混合燃料で稼働する前記エンジンと、
を備えることを特徴とするエンジンシステム。
発明の詳細な説明
【技術分野】
【0001】
本発明は、アンモニア等の主燃料と軽油等の炭化水素系の液体燃料からなる助燃剤との混合燃料をエンジンに供給する燃料供給装置及び該燃料供給装置を備えるエンジンシステムに関する。
続きを表示(約 1,600 文字)
【背景技術】
【0002】
従来、アンモニア等の主燃料と軽油等の炭化水素系の液体燃料からなる助燃剤との混合燃料をエンジンに供給して稼動するエンジンシステムがある。
【0003】
例えば、特許文献1によれば、アンモニア混合燃料を製造する製造装置は、液化状態のアンモニアを貯蔵するアンモニア貯蔵用密閉容器と、アンモニアの燃焼を補助する助燃剤を貯蔵する助燃剤貯蔵用密閉容器と、アンモニアと助燃剤とを撹拌機により撹拌混合することにより混合物を得、撹拌機による撹拌混合によって得られる混合物が気液平衡状態を維持できるように構成された混合用密閉容器と、アンモニア貯蔵用密閉容器と混合用密閉容器とを接続し、アンモニアを混合用密閉容器内に所定量導入するように構成されたアンモニア定量導入機構が設けられたアンモニア導入ラインと、助燃剤貯蔵用密閉容器と混合用密閉容器とを接続し、助燃剤を助燃剤貯蔵用密閉容器から混合用密閉容器内に所定量導入するように構成された助燃剤定量導入機構が設けられた助燃剤導入ラインと、混合用密閉容器において撹拌機の撹拌混合によって得られる混合物を、アンモニア混合燃料として、混合用密閉容器から排出するように構成された少なくとも一つの液相排出ラインと、を備える。
【0004】
また、特許文献1の製造装置では、混合用密閉容器内における混合物の飽和蒸気圧が、混合用密閉容器の設定された耐圧を超えない温度範囲にあるように、混合物の温度を調節するように構成される温度調節機構が設けられる。更に、特許文献1の製造装置では、界面活性剤を貯蔵する界面活性剤貯蔵容器と、界面活性剤貯蔵容器と混合用密閉容器とを接続し、界面活性剤を所定量混合用密閉容器内に導入するように構成された界面活性剤定量導入機構が設けられた界面活性剤導入ラインと、を備え、混合用密閉容器内で、界面活性剤は、アンモニアと、助燃剤と共に撹拌機により撹拌混合され、界面活性剤を含む混合物を液相排出ラインが排出する。
【先行技術文献】
【特許文献】
【0005】
特開2022-171351号公報
【発明の概要】
【発明が解決しようとする課題】
【0006】
特許文献1に開示される従来技術では、主燃料と助燃剤との混合促進のために界面活性剤を用いているが、界面活性剤では、主燃料と助燃剤とを巨視的に混合しているだけであり、主燃料と助燃剤とを分子レベルで混合するには至っていない。そのため、界面活性剤を用いて主燃料と助燃剤とを混合した混合燃料をエンジンで燃焼する際に、燃焼安定性が低下するおそれがある。
【0007】
また、特許文献1に開示される従来技術では、主燃料、助燃剤又は混合燃料の温度を温度調節機構により調節することで、混合燃料の性状を維持しようとしているが、目標温度に応じて主燃料、助燃剤又は混合燃料を加熱したり冷却したりする必要があるため、温度調整機構は複雑で高価なものになってしまう懸念がある。
【0008】
本発明は、主燃料と助燃剤とを分子レベルで混合することにより燃焼安定性を確保することができる燃料供給装置及びエンジンシステムを提供することを目的とする。
【課題を解決するための手段】
【0009】
上記課題を解決するために、本発明の燃料供給装置は、主燃料と炭化水素系の液体燃料からなる助燃剤との混合燃料をエンジンに供給する燃料供給装置であって、相溶剤、前記主燃料及び前記助燃剤を混合して前記混合燃料を生成することを特徴とする。
【0010】
また、本発明のエンジンシステムは、上記した燃料供給装置と、前記混合燃料で稼働する前記エンジンと、を備えることを特徴とする。
【発明の効果】
(【0011】以降は省略されています)
この特許をJ-PlatPat(特許庁公式サイト)で参照する
関連特許
トヨタ自動車株式会社
車両
26日前
トヨタ自動車株式会社
車両
1か月前
トヨタ自動車株式会社
車両
29日前
ダイハツ工業株式会社
車両
24日前
スズキ株式会社
車両の制御装置
17日前
ダイハツ工業株式会社
制御装置
23日前
ダイハツ工業株式会社
制御装置
23日前
ダイハツ工業株式会社
制御装置
23日前
スズキ株式会社
内燃機関の制御装置
26日前
トヨタ自動車株式会社
内燃機関
15日前
トヨタ自動車株式会社
車両の制御装置
15日前
株式会社SUBARU
エンジン制御装置
17日前
株式会社SUBARU
エンジン制御装置
23日前
トヨタ自動車株式会社
内燃機関の制御装置
26日前
朝日電装株式会社
スロットルグリップ装置
5日前
個人
流体式推力方向制御装置
5日前
株式会社IHI原動機
脈動減衰装置
15日前
トヨタ自動車株式会社
車両の制御装置
1か月前
トヨタ自動車株式会社
閾値の設定装置
5日前
トヨタ自動車株式会社
エンジン制御装置
1日前
日産自動車株式会社
内燃機関
1日前
本田技研工業株式会社
内燃機関の制御装置
15日前
株式会社豊田自動織機
車両
25日前
日産自動車株式会社
内燃機関
1日前
トヨタ自動車株式会社
内燃機関の制御装置
26日前
株式会社デンソートリム
エンジン制御装置
1日前
本田技研工業株式会社
EGRバルブ制御装置
5日前
トヨタ自動車株式会社
エンジンシステムの診断装置
17日前
トヨタ自動車株式会社
エンジン制御装置
5日前
トヨタ自動車株式会社
内燃機関の燃料供給装置
5日前
トヨタ自動車株式会社
内燃機関の燃料供給装置
1日前
トヨタ自動車株式会社
インジェクタの制御装置
3日前
ヤンマーホールディングス株式会社
エンジン装置
3日前
ヤンマーホールディングス株式会社
エンジン装置
3日前
ヤンマーホールディングス株式会社
エンジン装置
3日前
ヤンマーホールディングス株式会社
エンジン装置
3日前
続きを見る
他の特許を見る