TOP
|
特許
|
意匠
|
商標
特許ウォッチ
Twitter
他の特許を見る
公開番号
2025142368
公報種別
公開特許公報(A)
公開日
2025-09-30
出願番号
2025128628,2021158443
出願日
2025-07-31,2021-09-28
発明の名称
放電ランプおよび放電ランプ用電極の製造方法
出願人
株式会社オーク製作所
代理人
個人
,
個人
,
個人
主分類
H01J
61/073 20060101AFI20250919BHJP(基本的電気素子)
要約
【課題】 放電ランプにおいて、放熱性を高める一方で、電極表面の耐熱性、耐久性を向上させる。
【解決手段】 放電ランプ10の電極30において、溝42から構成される放熱構造40に対してコーティング層44を形成し、コーティング層44にレーザ照射することによって、電極素材とコーティング成分とが混ざり合う混合層43を形成する。
【選択図】図2
特許請求の範囲
【請求項1】
放電管と、
前記放電管内に対向配置される一対の電極とを備え、
少なくとも一方の電極が、少なくとも電極胴体部の側面において、コーティング層と、前記コーティング層のコーティング成分と電極素材とが混ざり合う混合部分とを備え、
前記混合部分が、前記コーティング層の合間に散在することを特徴とする放電ランプ。
続きを表示(約 570 文字)
【請求項2】
前記電極が、電極支持棒と接続する柱状の電極胴体部を備え、
前記コーティング層が、前記電極胴体部の周方向に沿った溝の少なくとも一部の上に形成され、
前記混合部分が、前記溝の底部付近と比べて頂部付近により多く形成されていることを特徴とする請求項1に記載の放電ランプ。
【請求項3】
前記混合部分が、前記コーティング層の一部に含まれ、前記電極素材に担持されていることを特徴とする請求項1に記載の放電ランプ。
【請求項4】
放電管と、
前記放電管内に対向配置される一対の電極とを備え、
少なくとも一方の電極が、少なくとも電極胴体部の側面において、コーティング層と、前記コーティング層のコーティング成分と電極素材とが混ざり合う混合層とを備え、
前記混合層において、電極素材であるタングステンが主成分であり、前記タングステンの一部が球状であることを特徴とする放電ランプ。
【請求項5】
柱状の胴体部と先端側テーパー部を有する電極を成形し、
前記電極の表面に対し、コーティング層を形成し、
前記コーティング層に対し、間隔をおいて定められた複数のレーザ照射場所に対し、レーザ照射することを特徴とする放電ランプ用電極の製造方法。
発明の詳細な説明
【技術分野】
【0001】
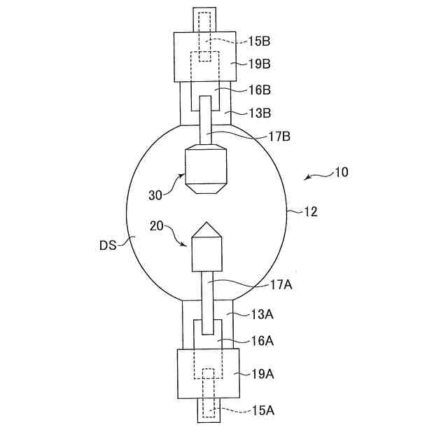
本発明は、ショートアーク型放電ランプなどの放電ランプに関し、特に、電極の放熱に関する。
続きを表示(約 1,400 文字)
【背景技術】
【0002】
放電ランプは、点灯中に電極先端部が高温となり、タングステンなどの電極材料が溶融、蒸発し、放電管が黒化して、ランプ照度低下を招く。電極先端部を含めた電極の過熱を防ぐため、電極胴体部側面をネジ状の溝で表面積を大きくし、その溝の上に、タングステンの粉末を焼結させ、放熱層を形成する(特許文献1参照)。
【0003】
また、電極表面の放熱層の密着性を高めるため、電極の凹凸状表面に金属酸化物の放熱層を形成する方法が知られている(特許文献2参照)。そこでは、電極表面に対して表面粗さがRmax10μm以上となる凹凸面を形成し、酸化チタンあるいは酸化クロムなどを含む酸化物粉末を溶媒に混合して電極表面に塗布し、焼結することによって多孔質の放熱層を形成する。
【先行技術文献】
【特許文献】
【0004】
特開2000-306546号公報
特開2009-105059号公報
【発明の概要】
【発明が解決しようとする課題】
【0005】
電極表面粗さの調整などを行っても、電極表面と放熱層との密着性を高めることには限界があり、ランプ点灯中の高温による放熱層の剥がれが生じ、放熱性を維持できないばかりか、電極表面を十分に保護することができない恐れがある。
【0006】
したがって、放熱性を高める一方で、放熱層の耐熱性、耐久性を向上させ、電極表面を十分に保護することが求められる。
【課題を解決するための手段】
【0007】
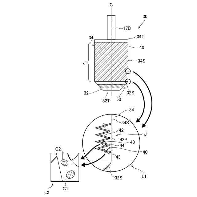
本発明の一態様である放電ランプは、放電管と、放電管内に対向配置される一対の電極とを備え、少なくとも一方の電極が、少なくとも電極胴体部の側面において、コーティング層と、コーティング層のコーティング成分と電極素材とが混ざり合う混合部分とを備えている。混合部分は、コーティング層の合間に散在する。
【0008】
例えば、電極が、電極支持棒と接続する柱状の電極胴体部を備え、コーティング層が、電極胴体部の周方向に沿った溝の少なくとも一部の上に形成され、混合部分が、溝の底部付近と比べて頂部付近により多く形成されている。混合部分が、コーティング層の一部に含まれ、電極素材に担持されている。
【0009】
また、本発明の他の一態様である放電ランプは、放電管と、放電管内に対向配置される一対の電極とを備える。そして、少なくとも一方の電極が、少なくとも電極胴体部の側面において、コーティング層と、コーティング層のコーティング成分と電極素材とが混ざり合う部分とを備えている。電極胴体部の側面に対して層状になっているだけでなく、部分的に混合部分が散在するような場合でも、ここでは「混合層を備える」と定義する。混合層において、電極素材であるタングステンが主成分であり、タングステンの一部が球状である。
【0010】
混合層(混合部分)の電極素材とコーティング成分との混じり具合に関して広義に定義すれば、コーティング成分と電極素材とが混ざり合っていればよい。一方で、電極表面を十分に保護するという観点から、電極素材が主成分である混合部分を混合層として備えるようにすることが可能である。
(【0011】以降は省略されています)
この特許をJ-PlatPat(特許庁公式サイト)で参照する
関連特許
株式会社オーク製作所
露光装置および露光方法
4日前
株式会社オーク製作所
露光装置および露光方法
5日前
株式会社オーク製作所
露光装置およびアライメント方法
4日前
株式会社オーク製作所
エキシマランプおよび紫外線照射装置
8日前
株式会社オーク製作所
基板保持装置、露光装置、半導体処理装置および基板の剥離方法
1か月前
株式会社オーク製作所
エキシマランプ、光照射器およびエキシマランプの点灯状態表示方法
8日前
株式会社オーク製作所
カメラユニット、露光装置、加工装置、検査装置およびマーク撮像方法
4日前
株式会社オーク製作所
放電ランプおよび放電ランプ用電極の製造方法
7日前
個人
安全なNAS電池
1か月前
東レ株式会社
多孔質炭素シート
27日前
日本発條株式会社
積層体
8日前
個人
フリー型プラグ安全カバー
1か月前
エイブリック株式会社
半導体装置
29日前
ローム株式会社
半導体装置
4日前
ローム株式会社
半導体装置
27日前
キヤノン株式会社
電子機器
27日前
個人
防雪防塵カバー
8日前
エイブリック株式会社
半導体装置
29日前
ローム株式会社
半導体装置
6日前
ローム株式会社
半導体装置
6日前
ローム株式会社
半導体装置
6日前
太陽誘電株式会社
全固体電池
4日前
株式会社GSユアサ
蓄電装置
4日前
株式会社ホロン
冷陰極電子源
4日前
株式会社GSユアサ
蓄電装置
8日前
株式会社GSユアサ
蓄電装置
1か月前
株式会社GSユアサ
蓄電装置
1か月前
沖電気工業株式会社
アンテナ
1か月前
オムロン株式会社
電磁継電器
1か月前
株式会社GSユアサ
蓄電装置
1か月前
ニチコン株式会社
コンデンサ
20日前
株式会社ティラド
面接触型熱交換器
19日前
ニチコン株式会社
コンデンサ
20日前
個人
半導体パッケージ用ガラス基板
7日前
東レ株式会社
ガス拡散層の製造方法
27日前
マクセル株式会社
配列用マスク
19日前
続きを見る
他の特許を見る