TOP
|
特許
|
意匠
|
商標
特許ウォッチ
Twitter
他の特許を見る
公開番号
2025145881
公報種別
公開特許公報(A)
公開日
2025-10-03
出願番号
2024046361
出願日
2024-03-22
発明の名称
カメラユニット、露光装置、加工装置、検査装置およびマーク撮像方法
出願人
株式会社オーク製作所
代理人
個人
,
個人
主分類
G03F
9/02 20060101AFI20250926BHJP(写真;映画;光波以外の波を使用する類似技術;電子写真;ホログラフイ)
要約
【課題】 露光装置、加工装置、検査装置などにおいて、アライメントマークなどのマークを撮像するとき、移動可能なカメラを用いながら、正確なカメラ位置でマークを撮像する
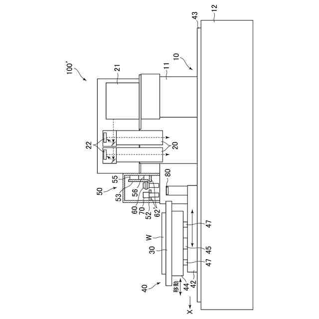
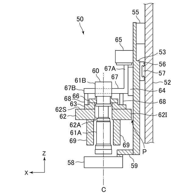
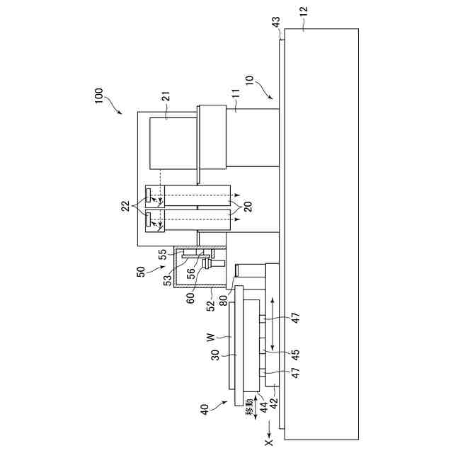
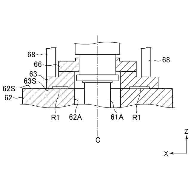
【解決手段】 露光装置100は、移動カメラ60をマーク位置まで移動させ、停止させた後、真空源による吸引によって、支持部材63を定盤62に吸着固定させる。これによって、副走査方向(Y方向)に沿って移動可能なように構成された移動カメラ60を、カメラユニットベース52に対し、強固に固定された状態(ロック状態)にする。
【選択図】 図2
特許請求の範囲
【請求項1】
カメラユニットベースと、
基板に設けられたマークを撮像可能であって、前記マークの位置に合わせて所定方向に移動可能な少なくとも1つの移動カメラと、
前記移動カメラが、ロック状態となるように、前記カメラユニットベースに対して固定可能であることを特徴とするカメラユニット。
続きを表示(約 700 文字)
【請求項2】
前記移動カメラが、前記カメラユニットベースに取り付けられた定盤に、固定可能であることを特徴とする請求項1に記載のカメラユニット。
【請求項3】
前記移動カメラを支持する支持部材をさらに備え、
前記支持部材が、前記定盤に載せられた状態で、前記定盤に固定可能であることを特徴とする請求項2に記載のカメラユニット。
【請求項4】
前記移動カメラが、前記定盤に対し、吸着固定可能であることを特徴とする請求項2に記載のカメラユニット。
【請求項5】
前記移動カメラが、前記定盤に対し、真空圧によって吸着固定可能であることを特徴とする請求項2に記載のカメラユニット。
【請求項6】
前記移動カメラが、前記移動カメラが移動する間、前記定盤から離間可能であることを特徴とする請求項2に記載のカメラユニット。
【請求項7】
前記移動カメラを支持する支持部材をさらに備え、
前記支持部材が、前記定盤から離間可能であることを特徴とする請求項6に記載のカメラユニット。
【請求項8】
前記移動カメラが、前記移動カメラの光軸方向に沿って前記定盤から離間可能であることを特徴とする請求項6に記載のカメラユニット。
【請求項9】
請求項1乃至8のいずれかに記載されたカメラユニットを備えたことを特徴とする露光装置。
【請求項10】
請求項1乃至8のいずれかに記載されたカメラユニットを備えたことを特徴とする加工装置。
(【請求項11】以降は省略されています)
発明の詳細な説明
【技術分野】
【0001】
本発明は、基板に設けられたマークを撮像可能なカメラユニットに関し、特に、マーク撮像のときに移動するカメラに関する。
続きを表示(約 1,500 文字)
【背景技術】
【0002】
露光装置、レーザ加工装置、検査装置などでは、半導体製造プロセスなどに製造あるいは用いられる基板に対し、アライメント(位置合わせ)や実装位置の検査などが行われる。
【0003】
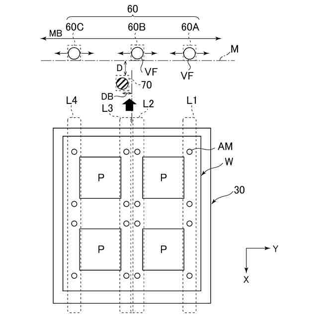
例えば、露光装置では、主走査方向に沿って移動するステージの上方に、副走査方向に沿って移動可能な複数のカメラが設けられている。基板に設けられたアライメントマークの位置に合わせてカメラを移動、位置決めし、アライメントマークを撮像する(例えば、特許文献1参照)。
【0004】
また、基板を切断する加工装置、アブレーション加工によってビアや溝を形成するレーザ加工装置では、マスクのアライメント用カメラ、基板の位置確認用のカメラが設けられている(特許文献2、3参照)。一方、検査装置では、半導体ウェハに搭載されたチップの実装位置を確認するためのカメラが設けられている(特許文献4参照)。
【先行技術文献】
【特許文献】
【0005】
特許第4351694号公報
特開2023-013000号公報
特開2020-192550号公報
特許第7336814号公報
【発明の概要】
【発明が解決しようとする課題】
【0006】
カメラを所定位置まで移動、停止(静止)させ、アライメントマークを撮像するとき、カメラを駆動するアクチュエータの発熱、ステージ移動に伴う装置本体からの熱伝導などにより、カメラの停止位置に誤差(ずれ)が生じる。近年、基板の配線パターンの微細化に伴い、アライメント誤差の許容値が小さくなっている。そのため、従来であればパターン精度にそれほど影響のなかった上記誤差が不適切なアライメントを招き、パターン精度に影響する恐れがある。
【0007】
したがって、アライメントマークなどのマークを撮像するとき、移動可能なカメラを用いながら、正確なカメラ位置でマークを撮像できることが求められる。
【課題を解決するための手段】
【0008】
本発明のカメラユニットは、露光装置、加工装置、検査装置など、基板に対する処理などを行う装置に適用可能であり、カメラユニットベースと、基板に設けられたマークを撮像可能であって、マークの位置に合わせて所定方向に移動可能な少なくとも1つの移動カメラとを備える。カメラユニットベースは、カメラ、アクチュエータなどを装備し、支持などする本体、基部であって、例えば定盤などを備える。
【0009】
本発明では、移動カメラが、ロック状態となるように、カメラユニットベースに対して固定可能である。ここでの「ロック状態」とは、外力の作用によって移動不可能な状態、不動状態になることを表し、単に、アクチュエータの位置停止により、慣性による静止状態とは異なる。移動カメラは、カメラユニットベースに取り付けられた定盤に固定することが可能である。
【0010】
移動カメラをロック状態となるように固定する手段は、様々である。吸着機構、クランプ機構などの固定手段を、適用することが可能である。これらの固定手段は、移動カメラを移動させるとき、ロック状態を解除できるように構成すればよい。例えば、移動カメラを定盤に固定する場合、移動カメラが移動するとき、エアシリンダー、ボールねじ、リニアモータ、ピエゾ素子などを用いて定盤から離間できるようにすればよい。この場合、移動カメラの光軸方向に沿って定盤から離間できるようにするのがよい。
(【0011】以降は省略されています)
この特許をJ-PlatPat(特許庁公式サイト)で参照する
関連特許
株式会社オーク製作所
露光装置および露光方法
4日前
株式会社オーク製作所
露光装置および露光方法
5日前
株式会社オーク製作所
露光装置およびアライメント方法
4日前
株式会社オーク製作所
エキシマランプおよび紫外線照射装置
8日前
株式会社オーク製作所
基板保持装置、露光装置、半導体処理装置および基板の剥離方法
1か月前
株式会社オーク製作所
エキシマランプ、光照射器およびエキシマランプの点灯状態表示方法
8日前
株式会社オーク製作所
カメラユニット、露光装置、加工装置、検査装置およびマーク撮像方法
4日前
株式会社オーク製作所
放電ランプおよび放電ランプ用電極の製造方法
7日前
株式会社シグマ
絞りユニット
19日前
キヤノン株式会社
撮像装置
1か月前
キヤノン株式会社
撮像装置
18日前
キヤノン株式会社
撮像装置
12日前
平和精機工業株式会社
雲台
1か月前
株式会社リコー
画像形成装置
2か月前
株式会社リコー
画像形成装置
1か月前
株式会社リコー
画像形成装置
8日前
株式会社リコー
画像形成装置
1か月前
株式会社リコー
画像形成装置
26日前
株式会社リコー
画像形成装置
1か月前
株式会社リコー
画像形成装置
3か月前
株式会社リコー
画像形成装置
3か月前
トヨタ自動車株式会社
撮像方法
3か月前
キヤノン株式会社
トナー
1か月前
キヤノン株式会社
トナー
3か月前
ブラザー工業株式会社
再生方法
1か月前
キヤノン株式会社
画像形成装置
1か月前
キヤノン株式会社
画像形成装置
1か月前
株式会社オプトル
プロジェクタ
1か月前
シャープ株式会社
画像形成装置
1か月前
キヤノン株式会社
画像形成装置
2か月前
キヤノン株式会社
トナー
4日前
キヤノン株式会社
画像形成装置
2か月前
キヤノン株式会社
画像形成装置
2か月前
キヤノン株式会社
トナー
3か月前
キヤノン株式会社
画像形成装置
2か月前
キヤノン株式会社
画像形成装置
1か月前
続きを見る
他の特許を見る