TOP
|
特許
|
意匠
|
商標
特許ウォッチ
Twitter
他の特許を見る
公開番号
2025145976
公報種別
公開特許公報(A)
公開日
2025-10-03
出願番号
2024046515
出願日
2024-03-22
発明の名称
露光装置およびアライメント方法
出願人
株式会社オーク製作所
代理人
個人
,
個人
主分類
G03F
9/02 20060101AFI20250926BHJP(写真;映画;光波以外の波を使用する類似技術;電子写真;ホログラフイ)
要約
【課題】 露光装置において、アライメントマークなどの位置を精度よく検出し、効率よくアライメントを行うことが可能なアライメント機構を提供する
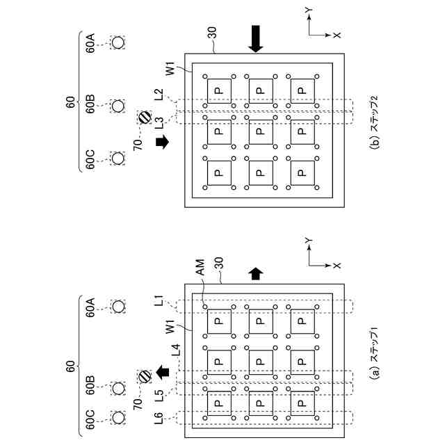
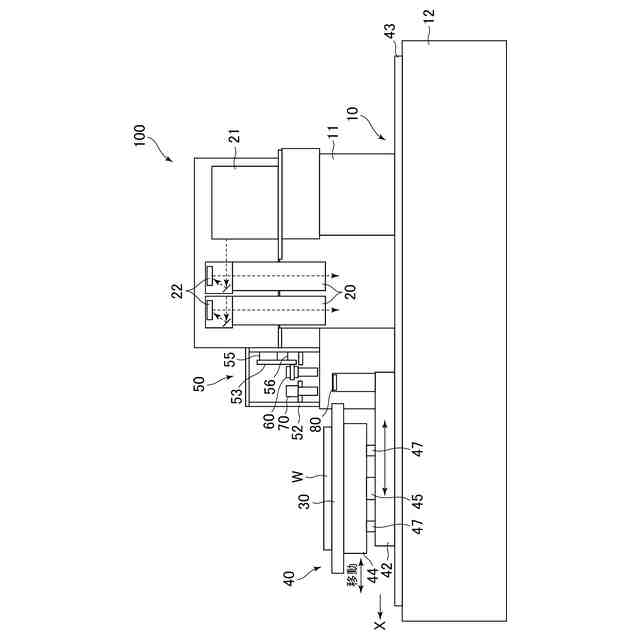
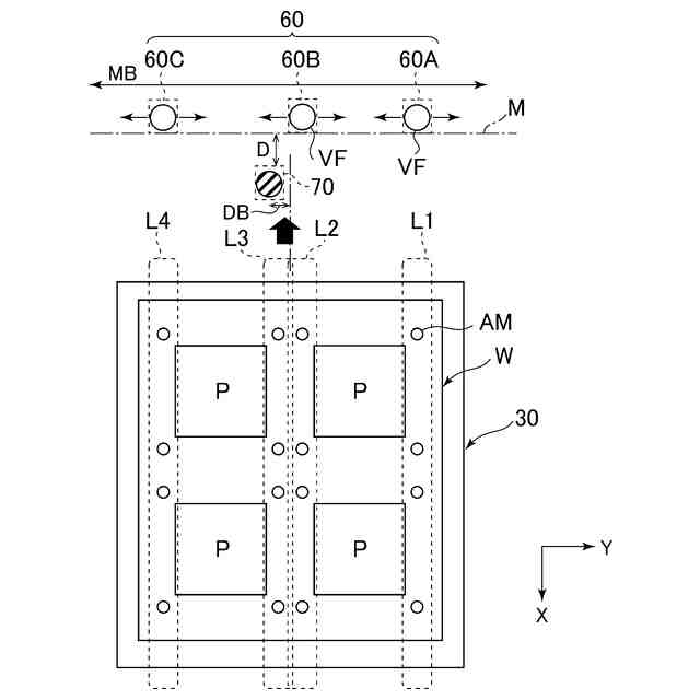
【解決手段】 露光装置100は、アライメント機構50を備え、副走査方向に沿って移動可能な複数の移動カメラ60と、カメラベース52に固定された固定カメラ70とを備え、アライメントマークAMを撮像するとき、基板WのアライメントマークAMを撮像するとき、隣接するアライメントマークAMを、1つの移動カメラ60と固定カメラ70によって分担して撮像する。
【選択図】 図1
特許請求の範囲
【請求項1】
装置本体に対して主走査方向に移動可能なステージと、
それぞれ、前記装置本体に対して副走査方向に移動可能な複数の移動撮像デバイスと、
前記装置本体に対して固定される少なくとも1つの固定撮像デバイスとを備え、
前記固定撮像デバイスと前記複数の移動撮像デバイスとが、前記ステージの移動中に、前記ステージ上に搭載された基板のマークを、分担して撮像可能であることを特徴とする露光装置。
続きを表示(約 1,200 文字)
【請求項2】
前記固定撮像デバイスが、主走査方向に沿って、前記複数の移動撮像デバイスとは異なる位置に、配置されていることを特徴とする請求項1に記載の露光装置。
【請求項3】
前記固定撮像デバイスが、前記複数の移動撮像デバイスよりも、露光部から離れた位置に配置されていることを特徴とする請求項2に記載の露光装置。
【請求項4】
前記固定撮像デバイスが、前記ステージに対する垂直方向に沿って、前記複数の移動撮像デバイスと略同じ高さの位置に、配置されていることを特徴とする請求項1に記載の露光装置。
【請求項5】
前記固定撮像デバイスが、副走査方向に沿って、前記ステージの基準中央ラインからオフセットした位置に、配置されていることを特徴とする請求項1に記載の露光装置。
【請求項6】
前記固定撮像デバイスが、前記複数の移動撮像デバイスの副走査方向に沿った撮像可能区間内に、配置されていることを特徴とする請求項1に記載の露光装置。
【請求項7】
複数の固定撮像デバイスを備え、
前記複数の固定撮像デバイスが、副走査方向に沿って、前記ステージの基準中央ラインを間に挟んで離間配置されていることを特徴とする請求項1に記載の露光装置。
【請求項8】
前記ステージを、副走査方向に沿って移動させることが可能なステージ移動機構をさらに備え、
前記ステージ移動機構が、前記ステージ上に搭載された基板のマークの副走査方向に沿った位置に応じて、前記ステージを、前記固定撮像デバイスによる前記基板のマークを撮像可能な位置へ移動させることを特徴とする請求項1乃至7のいずれかに記載の露光装置。
【請求項9】
装置本体に対して主走査方向に沿って移動可能なステージの上に基板を搭載し、
前記基板に設けられたマークの配列に応じて、前記装置本体に対して副走査方向に移動可能な複数の移動撮像デバイスを、それぞれ所定位置に配置し、
前記ステージを主走査方向に沿って移動させ、
前記ステージの移動の間、前記装置本体に対して固定される少なくとも1つの固定撮像デバイスと、前記複数の移動撮像デバイスとによって、前記ステージ上に搭載された基板のマークの位置を、分担して撮像し、
撮像されたマークの位置に基づいて、アライメントを行う
ことを特徴とするアライメント方法。
【請求項10】
前記ステージ上に搭載された基板のマークの副走査方向に沿った位置に応じて、前記固定撮像デバイスによって前記基板のマークを撮像可能なように、前記ステージを、副走査方向に沿って移動させ、
前記複数の移動撮像デバイスによって、前記固定撮像デバイスの撮像範囲外となる前記基板の他のマークを撮像可能なように、前記複数の移動撮像デバイスを移動させる
ことを特徴とする請求項9に記載のアライメント方法。
(【請求項11】以降は省略されています)
発明の詳細な説明
【技術分野】
【0001】
本発明は、基板に対してパターンを形成可能な露光装置に関し、特に、アライメント(位置合わせ)に関する。
続きを表示(約 1,700 文字)
【背景技術】
【0002】
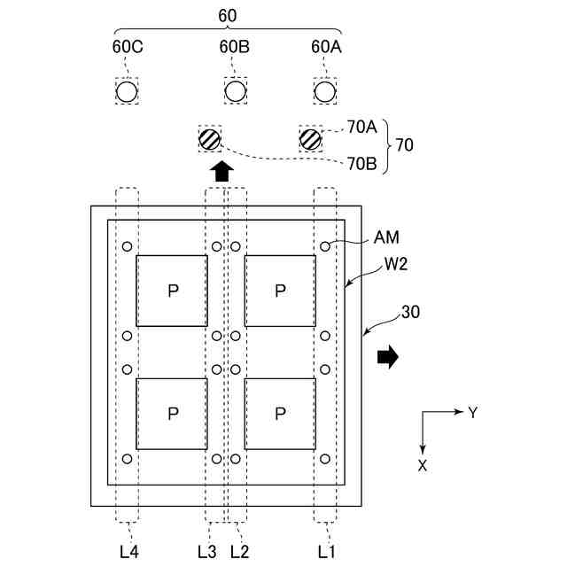
露光装置では、プリント配線基板などの基板に対し、あらかじめ定められた位置にパターンを形成(描画)する。高精度なパターン形成には、基板の正確な位置合わせが要求される一方、基板が熱処理などによって変形し、また、搬送精度などに起因した基板の位置ずれが生じる。そのため、基板に設けられたアライメントマークを撮像し、基板の位置ずれを検出する。検出された位置ずれ量に基づいて、アライメントを行う。
【0003】
例えば、基板の四隅にアライメントマークを設け、ステージの移動方向(走査方向)に対して垂直な方向(副走査方向)に移動可能なカメラ(以下、移動カメラという)を設置し、アライメントマークを撮像してマークの位置ずれを検出する。検出された位置ずれ量に基づいて、露光用の描画データ(ラスタデータ)を補正する(特許文献1、2参照)。
【0004】
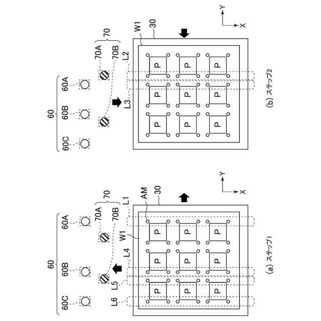
基板に対して同一パターンを規則的に形成した多面取り基板の場合、各パターンの形成領域(描画領域)に対してアライメントマークが設けられる。また、高精度のパターン形成、基板の設置向き確認などのため、基板四隅以外にもアライメントマークが設けられる場合がある。このような基板では、隣接するアライメントマーク間の距離が短くなり、カメラ自身のサイズによる物理的な配置制約により、カメラによるアライメントマーク撮影が困難な事態が生じることもある。
【0005】
このような基板に対するアライメント機構として、カメラ保持用のプレートを間に挟むようにして、ステージ上流側、ステージ下流側に移動カメラを配置した構成が知られている(特許文献3参照)。そこでは、上流側の移動カメラ、下流側の移動カメラが、互いの視野が一部重複するように、副走査方向にずらして配置する。そして、上流側カメラ、下流側カメラが、隣接するマークを別々に撮影することにより、一回の走査でアライメントマーク読み取り動作を完了させる。
【先行技術文献】
【特許文献】
【0006】
特開2006-301155号公報
特開2018-4860号公報
特許第4351694号
【発明の概要】
【発明が解決しようとする課題】
【0007】
アライメントマークなどの基板に設けられたマークの位置に合わせて、上流側の移動カメラ、下流側の移動カメラを移動させるアライメント機構では、副走査方向に沿った位置が基板の種類、設置状態、すなわちマーク位置の違いによって、上流側移動カメラ、下流側移動カメラの配置も変化する。そのため、各移動カメラを所定箇所に配置させたとき、他のカメラの移動および配置箇所の影響によって、所望する位置決め精度が得られない恐れがある。
【0008】
したがって、アライメントマークなどの位置を精度よく検出し、効率よくアライメントを行うことが可能なアライメント機構を提供することが求められる。
【課題を解決するための手段】
【0009】
本発明の露光装置は、装置本体に対して主走査方向に移動可能なステージと、それぞれ、装置本体に対して副走査方向に移動可能な複数の移動撮像デバイスと、装置本体に対して固定される少なくとも1つの固定撮像デバイスとを備える。そして、固定撮像デバイスと複数の移動撮像デバイスとが、ステージの移動中、ステージ上に搭載された基板のマークを、分担して撮像可能である。
【0010】
移動撮像デバイス、固定撮像デバイスの構成は任意である。例えば、それぞれカメラで構成することが可能である。撮像機能、撮像素子、光学系を含めた撮像特性(性能)、視野などに関し、移動撮像デバイス、固定撮像デバイスが同じであってもよく、異なってもよい。固定撮像デバイスは、1つだけ配置してもよく、複数配置することも可能である。固定撮像デバイスの配置箇所は、様々である。
(【0011】以降は省略されています)
この特許をJ-PlatPat(特許庁公式サイト)で参照する
関連特許
株式会社オーク製作所
露光装置および露光方法
4日前
株式会社オーク製作所
露光装置および露光方法
5日前
株式会社オーク製作所
露光装置およびアライメント方法
4日前
株式会社オーク製作所
エキシマランプおよび紫外線照射装置
8日前
株式会社オーク製作所
基板保持装置、露光装置、半導体処理装置および基板の剥離方法
1か月前
株式会社オーク製作所
エキシマランプ、光照射器およびエキシマランプの点灯状態表示方法
8日前
株式会社オーク製作所
カメラユニット、露光装置、加工装置、検査装置およびマーク撮像方法
4日前
株式会社オーク製作所
放電ランプおよび放電ランプ用電極の製造方法
7日前
株式会社シグマ
絞りユニット
19日前
キヤノン株式会社
撮像装置
12日前
キヤノン株式会社
撮像装置
1か月前
平和精機工業株式会社
雲台
1か月前
キヤノン株式会社
撮像装置
18日前
株式会社リコー
画像形成装置
2か月前
株式会社リコー
画像形成装置
1か月前
株式会社リコー
画像形成装置
26日前
株式会社リコー
画像形成装置
1か月前
株式会社リコー
画像形成装置
3か月前
株式会社リコー
画像形成装置
3か月前
株式会社リコー
画像形成装置
8日前
株式会社リコー
画像形成装置
1か月前
キヤノン株式会社
画像形成装置
1か月前
株式会社オプトル
プロジェクタ
1か月前
キヤノン株式会社
トナー
1か月前
キヤノン株式会社
画像形成装置
1か月前
キヤノン株式会社
トナー
3か月前
キヤノン株式会社
トナー
4日前
ブラザー工業株式会社
再生方法
1か月前
株式会社オプトル
プロジェクタ
11日前
キヤノン株式会社
画像形成装置
1か月前
キヤノン株式会社
トナー
3か月前
シャープ株式会社
画像形成装置
1か月前
キヤノン株式会社
画像形成装置
2か月前
キヤノン株式会社
画像形成装置
2か月前
キヤノン株式会社
画像形成装置
2か月前
キヤノン株式会社
画像形成装置
2か月前
続きを見る
他の特許を見る