TOP
|
特許
|
意匠
|
商標
特許ウォッチ
Twitter
他の特許を見る
公開番号
2025141325
公報種別
公開特許公報(A)
公開日
2025-09-29
出願番号
2024041210
出願日
2024-03-15
発明の名称
エキシマランプ、光照射器およびエキシマランプの点灯状態表示方法
出願人
株式会社オーク製作所
代理人
個人
,
個人
主分類
H01J
65/00 20060101AFI20250919BHJP(基本的電気素子)
要約
【課題】 可視光導出用の光学部材やセンサなどを設けることなく、エキシマランプの点灯状態を視認できるようにする。
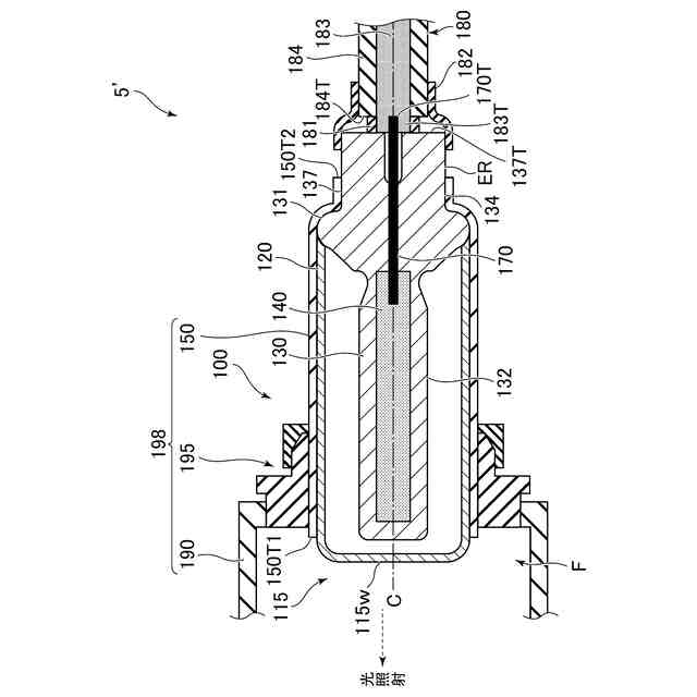
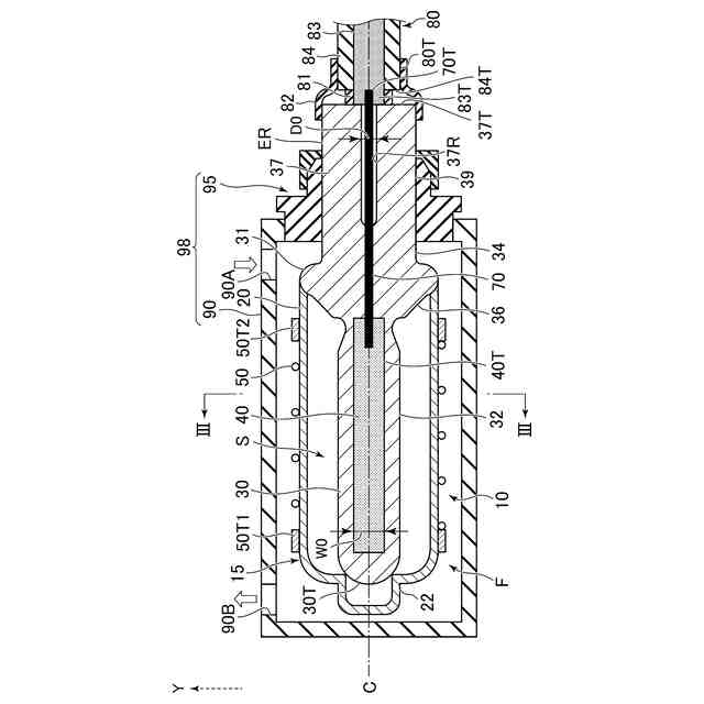
【解決手段】 エキシマランプ10は、放電空間Sを形成し、放電容器15の端部から延びる延伸部37を設け、保持部材95によって照射容器90内に配置される。また、延伸部37の少なくとも一部が保持部材95から突出するように、エキシマランプ10が保持される。放電容器15と保持部材95は、放電容器15を包み、囲い込み、放電によって放射された光(可視光)を遮る不透明な遮蔽部材98を構成する。延伸部37の保持部材95から突出する突出部38の一部には、放電によって延伸部37を透過した光を視認可能なように放出する露出面ER(光放出部14)が、設けられている。
【選択図】 図1
特許請求の範囲
【請求項1】
放電空間を形成し、放電によって放射された光が透過する放電容器と、
前記放電容器の端部から延び、放電によって放射された光が透過する延伸部とを備え、
前記延伸部に、前記放電容器と前記延伸部を包含し、前記放電容器を透過した光を遮る遮蔽部材から突出する、突出部が設けられ、
前記突出部の少なくとも一部に、前記延伸部を透過した光を視認できる光放出部が、設けられていることを特徴とするエキシマランプ。
続きを表示(約 1,200 文字)
【請求項2】
前記遮蔽部材の外部から前記突出部への光の入射を妨げるように覆う被覆部材が、前記光放出部の少なくとも一方の側に設けられていることを特徴とする請求項1に記載のエキシマランプ。
【請求項3】
前記光放出部が、前記延伸部の先端部よりも前記放電容器側の外周面に設けられていることを特徴とする請求項1に記載のエキシマランプ。
【請求項4】
前記光放出部が、前記延伸部を前記放電容器に保持する保持部材と、前記延伸部の先端との間の外周面に設けられていることを特徴とする請求項1に記載のエキシマランプ。
【請求項5】
前記光放出部が、前記延伸部を覆い、放電によって放射される光を反射する反射膜と、前記延伸部の先端との間の外周面に設けられていることを特徴とする請求項1に記載のエキシマランプ。
【請求項6】
前記放電容器が、内側管と外側管とを有し、
前記内側管が、前記放電容器内に配設される内側電極を覆う小径部と、
前記外側管が溶着する鍔状部分と前記延伸部とが形成された大径部とを有し、
前記小径部の外径が、前記延伸部の外径より小さいことを特徴とする請求項1乃至5のいずれかに記載のエキシマランプ。
【請求項7】
前記内側電極が、箔状電極であって、
前記大径部が、前記箔状電極と接続する給電棒を接触せずに覆う管状部を有し、
前記管状部の内径が、前記箔状電極の幅よりも小さいことを特徴とする請求項6に記載のエキシマランプ。
【請求項8】
前記放電空間の放電によって放射された光の波長範囲において、前記延伸部の透過率が、前記放電容器の透過率よりも低いことを特徴とする請求項1乃至5のいずれかに記載のエキシマランプ。
【請求項9】
放電空間を形成し、放電によって放射された光が透過する放電容器と、
前記放電容器の端部から延び、放電によって放射された光が透過する延伸部とを備えたエキシマランプと、
前記放電容器と前記延伸部の一部を包含し、前記放電容器を透過した光を遮る遮蔽部材とを備え、
前記延伸部の前記遮蔽部材から突出する突出部の少なくとも一部に、前記延伸部を透過した光を視認できる光放出部が、設けられていることを特徴とする光照射器。
【請求項10】
放電空間を形成し、放電によって放射された光が透過する放電容器と、前記放電容器の端部から延び、放電によって放射された光が透過する延伸部とを備えたエキシマランプを、遮蔽部材によって覆い、前記延伸部を透過した光を視認できるように、前記遮蔽部材からに突出した突出部の少なくとも一部に、光放出部を設け、
前記エキシマランプを点灯させたときに、放電によって放射された光を、前記遮蔽部材から放出させず、前記光放出部から放出させることを特徴とするエキシマランプの点灯状態表示方法。
発明の詳細な説明
【技術分野】
【0001】
本発明は、エキシマランプに関し、特に、紫外線を照射する紫外線照射モジュール、オゾン生成用モジュールなどに組み込み可能なエキシマランプに関する。
続きを表示(約 1,600 文字)
【背景技術】
【0002】
エキシマランプは、紫外線照射装置、オゾン生成装置などに紫外線照射ランプとして使用可能であって、紫外線照射による滅菌処理、オゾン生成などを行うため、ランプハウスなどの容器(以下、照射容器という)に収容される。このような照射容器では、窓以外から紫外線が漏出しないように遮光するか、あるいは、窓を設けずに紫外線を遮る構成になることが多い。そのため、ランプが正常に点灯しているか、それとも異常放電が生じているのか、ランプ点灯状態を確認することが難しい。
【0003】
ランプ点灯状態を視認できるようにするため、例えば、紫外線放射とともにランプから放射される可視光を取り出す光学部材(ガラスロッドやガラスファイバー)を容器内に設け、窓を通じてランプハウス外部へ可視光を導出させる(特許文献1参照)。また、脱臭機などのオゾン生成装置、あるいは紫外線照射装置において、放電発生領域を視認できるように、筐体(ケーシング)の側面に窓を形成する(特許文献2参照)。これによって、紫外線とともに放射される可視光を視認することができる。
【0004】
一方、エキシマランプの放電容器の傍に、可視光を検出するセンサを設け、紫外線とともに放電容器外へ放射される可視光をセンサによって検出し、ランプ点灯状態を確認する手法も知られている(特許文献3参照)。
【先行技術文献】
【特許文献】
【0005】
特開平7-220687号公報
特許第7053191号公報
特開2003-092084号公報
特願2023-119080号
特願2023-184501号
【発明の概要】
【発明が解決しようとする課題】
【0006】
例えば、エキシマランプ、電源部などを備えた紫外線照射用モジュール、オゾン生成用モジュールを、紫外線照射処理やオゾン生成を行う装置内に組み込む場合、使用条件、使用環境などに起因して、照射容器に対するエキシマランプの配置構成、設置スペースなどが制約される。そのため、照射容器内への可視光導出用光学部材の配置、放電容器近傍へのセンサ設置などが難しい。
【0007】
したがって、可視光導出用の光学部材やセンサなどを設けることなく、エキシマランプの点灯状態を視認できることが求められる。
【課題を解決するための手段】
【0008】
本発明のエキシマランプは、放電空間を形成し、放電によって放射された光が透過する放電容器と、放電容器の端部から延び、放電によって放射された光が透過する延伸部とを備える。延伸部には、放電容器と延伸部を包含する部材(以下、包含部材ともいう)であって、放電容器を透過した光を遮る遮蔽部材から突出する部分(ここでは、突出部という)が設けられている。
【0009】
ここでの「遮蔽部材」は、放電容器を透過した光、放電容器から延伸部に伝わった光(可視光)、延伸部を透過する光などを、視認できないように遮る不透明な部材を表す。例えば、内部に反射表面をもつ容器が含まれる。また、反射面をもつ膜状の素材など、一般的に部材と称されないものについても、その機能(視認できないように光を遮る)を有する限り、遮蔽部材に含まれるものとする。例えば、光を反射する電極膜などの金属も、遮蔽部材に含まれる。
【0010】
包含部材(遮蔽部材)は、放電容器と延伸部の一部とを囲む構成であればよい。また、包含部材は、複数の部材で構成することも可能であり、単一の部材で構成することも可能である。放電容器及び延伸部の一部を一体的に包み込むような構成であればよい。
(【0011】以降は省略されています)
この特許をJ-PlatPat(特許庁公式サイト)で参照する
関連特許
株式会社オーク製作所
露光装置および露光方法
4日前
株式会社オーク製作所
露光装置および露光方法
5日前
株式会社オーク製作所
露光装置およびアライメント方法
4日前
株式会社オーク製作所
エキシマランプおよび紫外線照射装置
8日前
株式会社オーク製作所
基板保持装置、露光装置、半導体処理装置および基板の剥離方法
1か月前
株式会社オーク製作所
エキシマランプ、光照射器およびエキシマランプの点灯状態表示方法
8日前
株式会社オーク製作所
カメラユニット、露光装置、加工装置、検査装置およびマーク撮像方法
4日前
株式会社オーク製作所
放電ランプおよび放電ランプ用電極の製造方法
7日前
個人
安全なNAS電池
1か月前
東レ株式会社
多孔質炭素シート
27日前
個人
フリー型プラグ安全カバー
1か月前
日本発條株式会社
積層体
8日前
エイブリック株式会社
半導体装置
29日前
エイブリック株式会社
半導体装置
29日前
個人
防雪防塵カバー
8日前
ローム株式会社
半導体装置
27日前
キヤノン株式会社
電子機器
27日前
ローム株式会社
半導体装置
6日前
ローム株式会社
半導体装置
4日前
ローム株式会社
半導体装置
6日前
ローム株式会社
半導体装置
6日前
株式会社GSユアサ
蓄電装置
4日前
ニチコン株式会社
コンデンサ
20日前
太陽誘電株式会社
全固体電池
4日前
東レ株式会社
ガス拡散層の製造方法
27日前
オムロン株式会社
電磁継電器
1か月前
株式会社GSユアサ
蓄電装置
8日前
株式会社ティラド
面接触型熱交換器
19日前
株式会社ホロン
冷陰極電子源
4日前
ニチコン株式会社
コンデンサ
20日前
個人
半導体パッケージ用ガラス基板
7日前
株式会社GSユアサ
蓄電装置
1か月前
沖電気工業株式会社
アンテナ
1か月前
日本特殊陶業株式会社
保持装置
6日前
マクセル株式会社
配列用マスク
19日前
トヨタ自動車株式会社
二次電池
8日前
続きを見る
他の特許を見る