TOP
|
特許
|
意匠
|
商標
特許ウォッチ
Twitter
他の特許を見る
公開番号
2025141288
公報種別
公開特許公報(A)
公開日
2025-09-29
出願番号
2024041159
出願日
2024-03-15
発明の名称
エキシマランプおよび紫外線照射装置
出願人
株式会社オーク製作所
代理人
個人
,
個人
主分類
H01J
65/00 20060101AFI20250919BHJP(基本的電気素子)
要約
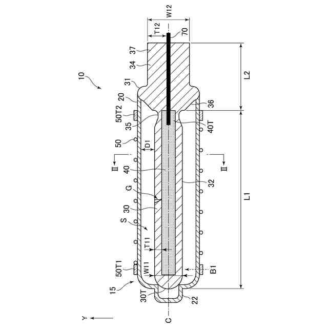
【課題】 様々な二重管構造のエキシマランプに対し、ランプ寿命末期となったときに外側管が破損するのを防ぐ。
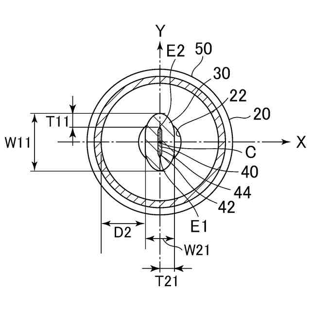
【解決手段】 エキシマランプ10は、外側管20と、内側管30とを溶着させた放電容器15を備え、内側管30に被覆される箔状の内側電極40が、ランプ軸Cに沿って同軸的に配置されている。そして、内側管30には、内側電極40を覆う薄肉部32と、外側管20と溶着する鍔状部分31を有し、放電容器15から一部延出する厚肉部34が形成されている。内側電極40の被覆する区間において、内側電極40が偏平形に構成され、その断面形状は、長円状または長楕円状となっている。
【選択図】 図1
特許請求の範囲
【請求項1】
ランプ軸に沿って配設される箔状の内側電極を覆う内側管と、
外部に外側電極を配設した外側管とを備え、
前記内側管と前記外側管を溶着して放電空間を形成したエキシマランプであって、
前記エキシマランプが過負荷点灯またはランプ寿命末期点灯されたときに、
前記外側管が破損する前に、
前記内側管が、前記内側管の内部と前記放電空間とを空間的に接続する破れを生じさせることを特徴とするエキシマランプ。
続きを表示(約 1,100 文字)
【請求項2】
前記内側管の内表面と前記内側電極の表面との隙間に含まれるガスが、前記破れを経由して前記放電空間に流出することを特徴とする請求項1に記載のエキシマランプ。
【請求項3】
前記内側管の少なくとも一部が、放射される紫外線の波長に対し、前記外側管よりも絶縁耐力の低下または脆化の進行が速いことを特徴とする請求項1記載のエキシマランプ。
【請求項4】
前記内側管の少なくとも一部が、放射される紫外線の波長に対し、前記外側管よりも透過率が低いことを特徴とする請求項1記載のエキシマランプ。
【請求項5】
前記箔状の内側電極が、前記内側電極の幅方向両端の間に、幅方向に沿って厚さが略一定の平坦部を有し、前記平坦部の両端から前記内側電極の幅方向両端に向けて先鋭化していることを特徴とする請求項1に記載のエキシマランプ。
【請求項6】
前記内側管が、前記内側電極の厚さ方向に対して偏平している断面形状を有することを特徴とする請求項1に記載のエキシマランプ。
【請求項7】
前記内側管が、前記外側管と溶着する鍔状部分が設けられる厚肉部と、前記厚肉部よりも前記箔状電極の幅方向の肉厚が薄く、前記放電空間内に形成される薄肉部とを有し、
前記内側管の破れが、前記薄肉部に発生することを特徴とする請求項1に記載のエキシマランプ。
【請求項8】
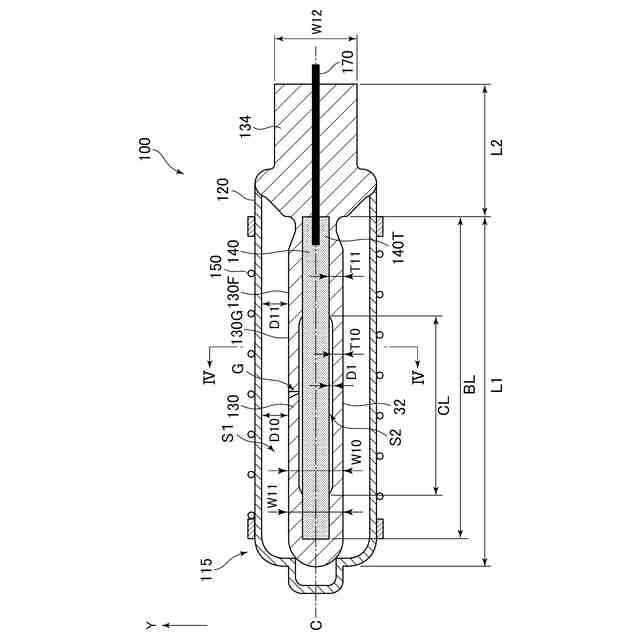
前記内側管が、ランプ軸方向に沿って、前記内側電極と封着した封着部分と、前記封着部分の間に形成された補助放電空間を囲む管状部分とを有し、
前記補助放電空間において、前記内側電極の幅方向端と前記管状部分の内表面とが、電極幅方向に沿った前記管状部分の厚さよりも小さい離隔距離で離隔している、または、接触していることを特徴とする請求項1に記載のエキシマランプ。
【請求項9】
前記内側管の内部または先端部に、前記内側電極が露出しない補助放電空間が形成されていることを特徴とする請求項1に記載のエキシマランプ。
【請求項10】
ランプ軸に沿って配設される箔状の内側電極を覆う内側管と、外部に外側電極を配設した外側管とを備え、前記内側管と前記外側管を溶着して放電空間を形成したエキシマランプと、
前記内側管の内部と前記放電空間とを空間的に接続する破れが生じたときの、前記エキシマランプの点灯状態の変化を検出可能な検出部と、
前記検出部の検出における前記エキシマランプの点灯状態の変化に応じて、前記エキシマランプの点灯を停止または警告表示を出す制御部とを備えたことを特徴とする紫外線照射装置。
(【請求項11】以降は省略されています)
発明の詳細な説明
【技術分野】
【0001】
本発明は、エキシマランプに関し、特に、エキシマランプの点灯に関する。
続きを表示(約 1,400 文字)
【背景技術】
【0002】
二重管構造のエキシマランプの構成として、例えば、箔状の内側電極を被覆する誘電体(内側管)を外側管内に配置し、内側管と外側管で構成される放電容器の外表面側に、外側電極を配置するエキシマランプが知られている(特許文献1参照)。内側電極と外側電極との間に高周波電圧を印加することによって放電が発生し、紫外線などのエキシマ光が放射される。
【0003】
このような放電容器に対し、破損を防ぐため、例えば、内側管を溶融石英ガラス、外側管を合成石英ガラスによって形成する(特許文献2参照)。そこでは、外側管と内側管との熱膨張による収縮差を小さくすることで、放電容器の破損を防ぐ。
【0004】
一方、ランプの外観からランプ寿命末期であることを判断することが困難であることに鑑み、ランプ積算点灯時間をモニタリングする手法が提案されている(特許文献3参照)。また、内側電極と内側管との間に点灯始動補助用の放電空間(補助放電空間)を形成し、放電管が脆弱となる前にランプ点灯不可となるエキシマランプが知られている(特許文献4参照)。
【0005】
そこでは、スパッタリング現象によって内側電極から蒸発するモリブデンを内側管内面に付着させる。ランプ積算点灯時間がランプ寿命末期に近づくと、付着したモリブデン膜が遮光膜となり、定格点灯へ移行せずにランプ再点灯が不可能となる。
【先行技術文献】
【特許文献】
【0006】
特許第5504095号公報
特開2009-230867号公報
特開2010-027944号公報
特開2023-087558号公報
特願2023-118999号
特願2023-149556号
特願2023-118942号
【発明の概要】
【発明が解決しようとする課題】
【0007】
定格ランプ寿命を超えた点灯(ランプ寿命末期の点灯)や定格ランプ電圧を超えた高電圧点灯(過負荷点灯)などの異常な点灯状態では、放電管の破損を招く恐れがある。その場合、先に外側管が破損するとその破片が飛散する可能性がある。
【0008】
一方、二重管構造のエキシマランプは、必ずしも補助放電空間を設けるランプ構成とは限らない。そのため、ランプ積算点灯時間の管理等によってランプ寿命時期を判断することが考えられるが、エキシマランプの点灯条件は、使用環境等に応じて様々であり、経年変化もランプごとに異なる。ランプ積算点灯時間の管理では、ランプ寿命末期であると適正に判断することが難しい。
【0009】
したがって、様々な二重管構造のエキシマランプに対し、ランプが寿命末期点灯や過負荷点灯となったときに、外側管が破損するのを防ぐことが求められる。
【課題を解決するための手段】
【0010】
本発明は、ランプ軸に沿って配設される箔状の内側電極を覆う内側管と、外部に外側電極を配設した外側管とを備え、前記内側管と前記外側管を溶着して放電空間を形成したエキシマランプであって、前記エキシマランプが過負荷点灯またはランプ寿命末期点灯されたときに、前記外側管が破損する前に、前記内側管が、前記内側管の内部と前記放電空間とを空間的に接続する破れを生じさせる。
(【0011】以降は省略されています)
この特許をJ-PlatPat(特許庁公式サイト)で参照する
関連特許
個人
安全なNAS電池
1か月前
東レ株式会社
多孔質炭素シート
27日前
日本発條株式会社
積層体
8日前
エイブリック株式会社
半導体装置
29日前
エイブリック株式会社
半導体装置
29日前
ローム株式会社
半導体装置
6日前
ローム株式会社
半導体装置
6日前
ローム株式会社
半導体装置
6日前
個人
防雪防塵カバー
8日前
キヤノン株式会社
電子機器
27日前
ローム株式会社
半導体装置
4日前
ローム株式会社
半導体装置
27日前
株式会社ティラド
面接触型熱交換器
19日前
株式会社GSユアサ
蓄電装置
8日前
個人
半導体パッケージ用ガラス基板
7日前
ニチコン株式会社
コンデンサ
20日前
ニチコン株式会社
コンデンサ
20日前
東レ株式会社
ガス拡散層の製造方法
27日前
株式会社GSユアサ
蓄電装置
4日前
太陽誘電株式会社
全固体電池
4日前
株式会社ホロン
冷陰極電子源
4日前
日本特殊陶業株式会社
保持装置
6日前
日本特殊陶業株式会社
保持装置
4日前
日本特殊陶業株式会社
保持装置
4日前
トヨタ自動車株式会社
二次電池
8日前
日本特殊陶業株式会社
保持装置
1か月前
TDK株式会社
電子部品
4日前
マクセル株式会社
配列用マスク
19日前
ローム株式会社
電子装置
8日前
日本特殊陶業株式会社
保持装置
8日前
株式会社ヨコオ
コネクタ
29日前
ローム株式会社
半導体装置
8日前
TDK株式会社
コイル部品
4日前
住友電装株式会社
コネクタ
8日前
東レエンジニアリング株式会社
実装装置
4日前
矢崎総業株式会社
コネクタ
11日前
続きを見る
他の特許を見る