TOP
|
特許
|
意匠
|
商標
特許ウォッチ
Twitter
他の特許を見る
10個以上の画像は省略されています。
公開番号
2025142331
公報種別
公開特許公報(A)
公開日
2025-09-30
出願番号
2025127402,2021191978
出願日
2025-07-30,2021-11-26
発明の名称
半導体装置の製造方法
出願人
株式会社デンソー
,
トヨタ自動車株式会社
,
株式会社ミライズテクノロジーズ
代理人
弁理士法人ゆうあい特許事務所
主分類
H10D
30/66 20250101AFI20250919BHJP()
要約
【課題】トレンチの開口端部に電界集中が発生することを抑制しつつ、第1電極の接続不良が発生することを抑制する。
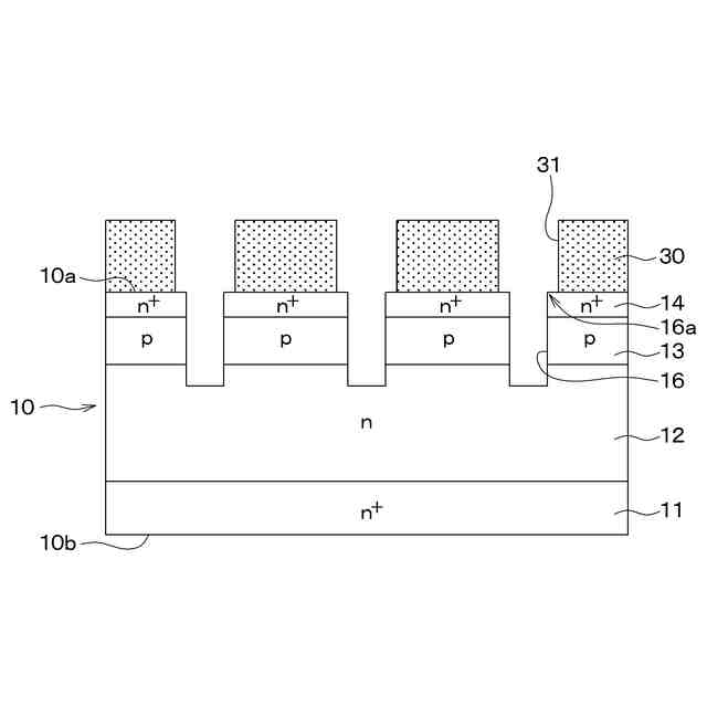
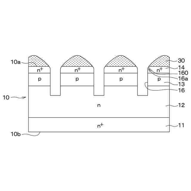
【解決手段】トレンチ16を形成することでは、半導体基板10の一面10a上にマスク30を配置することと、半導体基板10のうちのトレンチ16が形成される形成予定領域が露出するように、マスク30をパターニングすることと、マスク30を用いてエッチングを行うことにより、半導体基板10にトレンチ16を形成することと、マスク30を配置した状態でトレンチの開口端部16aに丸め部160を形成することと、を行う。そして、トレンチ16の開口端部16aに丸め部160を形成することでは、マスク30の方が半導体基板10より選択比が高くなる条件でエッチングを行う。
【選択図】図2F
特許請求の範囲
【請求項1】
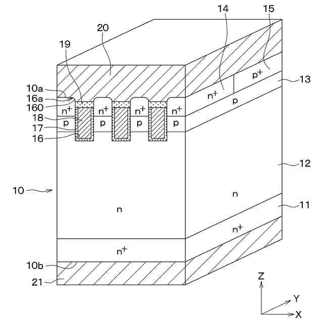
複数のトレンチゲート構造を有する半導体装置の製造方法であって、
一面(10a)を有する半導体基板(10)を用意することと、
前記一面側から、前記半導体基板の面方向における一方向を長手方向としたトレンチ(16)を形成することと、
前記トレンチにゲート絶縁膜(17)およびゲート電極(18)を配置して前記複数のトレンチゲート構造を形成することと、を行い、
前記トレンチを形成することでは、
前記半導体基板の一面上にマスク(30)を配置することと、
前記半導体基板のうちの前記トレンチが形成される形成予定領域が露出するように、前記マスクをパターニングして開口部(31)を形成することと、
前記マスクを用いてエッチングを行うことにより、前記半導体基板に前記トレンチを形成することと、
前記マスクを配置した状態でエッチングを行うことにより、前記トレンチの開口端部(16a)に丸め部(160)を形成することと、を行い、
前記トレンチの開口端部に丸め部を形成することでは、前記マスクの方が前記半導体基板より選択比が高くなる条件で前記エッチングを行い、
前記トレンチを形成することでは、前記半導体基板の方が前記マスクより選択比が高くなる条件で異方性エッチングを行う半導体装置の製造方法。
続きを表示(約 300 文字)
【請求項2】
前記トレンチの開口端部に丸め部を形成することでは、前記マスクの開口部を広げて前記トレンチの開口端部を露出させることを行う請求項1に記載の半導体装置の製造方法。
【請求項3】
前記トレンチの開口端部に丸め部を形成することでは、前記マスクの方が前記半導体基板より選択比が高くなる条件で異方性エッチングを行うことで前記丸め部を形成する請求項1に記載の半導体装置の製造方法。
【請求項4】
前記半導体基板を用意することでは、複数のチップ形成領域(R)がダイシングライン(DL)で区画されたウェハ状の前記半導体基板を用意する請求項1に記載の半導体装置の製造方法。
発明の詳細な説明
【技術分野】
【0001】
本発明は、トレンチゲート構造を有する半導体装置の製造方法に関するものである。
続きを表示(約 2,100 文字)
【背景技術】
【0002】
従来より、MOSFET(metal oxide semiconductor field effect transistorの略)等の半導体素子が形成された半導体装置が提案されている。具体的には、この半導体装置は、ドリフト層を有する半導体基板を備え、半導体基板の一面側にベース層が形成されていると共に、ベース層の表層部にソース領域が形成されている。また、半導体基板には、ソース領域およびベース層を貫通し、半導体基板の面方向における一方向に沿って延設された複数のトレンチが形成されている。そして、トレンチにゲート絶縁膜およびゲート電極が配置されることでトレンチゲート構造が構成されている。
【0003】
半導体基板の他面側には、ドレイン領域が配置されている。そして、半導体基板の一面側には、ソース領域およびベース層と電気的に接続されるように第1電極が配置されている。半導体基板の他面側には、ドレイン領域と電気的に接続されるように第2電極が配置されている。
【0004】
上記のような半導体装置では、トレンチの開口端部に電界集中が発生し易い。このため、例えば、特許文献1には、トレンチの開口端部に丸め部を形成することが提案されている。
【0005】
具体的には、この方法では、半導体基板の一面上にマスクを形成し、半導体基板のトレンチを形成する部分が露出するように、マスクをパターニングして開口部を形成する。続いて、マスクを用いて異方性エッチング等を行い、半導体基板にトレンチを形成する。次に、マスクの開口部を広くする処理を行い、トレンチの開口端部をマスクから露出させる。その後、等方性エッチングを行ってトレンチの開口端部に丸め部を形成する。なお、丸め部を形成する際の等方性エッチングは、半導体基板の方がマスクよりも選択比が高くなる条件で行われる。
【先行技術文献】
【特許文献】
【0006】
特開2012-4360号公報
【発明の概要】
【発明が解決しようとする課題】
【0007】
ところで、上記のような半導体装置では、隣合うトレンチの間の長さを短くすることでオン抵抗の低減を図ることが検討されている。しかしながら、上記のようにトレンチの開口端部に丸め部を形成すると、半導体基板の選択比が高い等方性エッチングであるため、半導体基板の一面のうちのマスクから露出する部分も全体的に除去され易い。また、上記のようにトレンチの開口端部に丸め部を形成すると、半導体基板の選択比が高い等方性エッチングであるため、半導体基板のうちのマスクの開口部近傍に位置する部分も除去される可能性がある。つまり、トレンチの開口端部が全体的に広げられる可能性がある。このため、半導体基板の一面のうちの隣合うトレンチの間に位置する部分が少なくなり、第1電極とソース領域等との接続性が低下して接続不良が発生する可能性がある。
【0008】
本発明は上記点に鑑み、トレンチの開口端部に電界集中が発生することを抑制しつつ、第1電極の接続不良が発生することを抑制できる半導体装置の製造方法を提供することを目的とする。
【課題を解決するための手段】
【0009】
上記目的を達成するための請求項1では、複数のトレンチゲート構造を有する半導体装置の製造方法であって、一面(10a)を有する半導体基板(10)を用意することと、一面側から、半導体基板の面方向における一方向を長手方向としたトレンチ(16)を形成することと、トレンチにゲート絶縁膜(17)およびゲート電極(18)を配置して複数のトレンチゲート構造を形成することと、を行う。そして、トレンチを形成することでは、半導体基板の一面上にマスク(30)を配置することと、半導体基板のうちのトレンチが形成される形成予定領域が露出するように、マスクをパターニングして開口部(31)を形成することと、マスクを用いてエッチングを行うことにより、半導体基板にトレンチを形成することと、マスクを配置した状態でエッチングを行うことにより、トレンチの開口端部(16a)に丸め部(160)を形成することと、を行い、トレンチの開口端部に丸め部を形成することでは、マスクの方が半導体基板より選択比が高くなる条件でエッチングを行い、トレンチを形成することでは、半導体基板の方がマスクより選択比が高くなる条件で異方性エッチングを行う。
【0010】
これによれば、マスクの方が半導体基板よりも選択比が高い条件でエッチングを行って丸め部を形成している。このため、丸め部を形成する際に半導体基板の一面が削られ難くなり、トレンチの間に位置する半導体基板の一面が少なくなることを抑制できる。したがって、第1電極と半導体基板の一面との接続不良が発生することを抑制できる。また、トレンチの開口端部に丸め部を形成するため、トレンチの開口端部に電界集中が発生することを抑制できる。
(【0011】以降は省略されています)
この特許をJ-PlatPat(特許庁公式サイト)で参照する
関連特許
株式会社デンソー
接合体
23日前
株式会社デンソー
車載器
9日前
株式会社デンソー
通信装置
1か月前
株式会社デンソーエレクトロニクス
発音装置
1か月前
株式会社デンソー
電子装置
3日前
株式会社デンソー
光学部材
1か月前
株式会社デンソー
反力装置
3日前
株式会社デンソー
ステータ
9日前
株式会社デンソー
太陽電池
25日前
株式会社デンソーエレクトロニクス
発音装置
13日前
株式会社デンソー
電子装置
13日前
株式会社デンソー
ステータ
9日前
株式会社デンソー
電子装置
4日前
株式会社デンソー
ねじ部材
9日前
株式会社デンソー
平滑回路
1か月前
株式会社デンソー
ステータ
24日前
株式会社デンソー
ステータ
24日前
株式会社デンソー
農業用装置
5日前
株式会社デンソー
レーダ装置
2日前
株式会社デンソー
レーダ装置
13日前
株式会社デンソー
半導体装置
9日前
株式会社デンソーテン
インバータ
3日前
株式会社デンソー
回転体装置
1か月前
株式会社デンソー
温度検出装置
1か月前
株式会社デンソー
衝突予測装置
4日前
株式会社デンソー
衝突予測装置
4日前
株式会社デンソー
通信システム
13日前
株式会社デンソー
通信システム
1か月前
株式会社デンソー
電子制御装置
13日前
株式会社デンソー
電波吸収装置
13日前
株式会社デンソー
電圧検出回路
5日前
株式会社デンソーエアクール
換気空調装置
10日前
株式会社デンソー
電子制御装置
1か月前
株式会社デンソー
電力変換装置
9日前
株式会社デンソーテン
車載映像装置
9日前
株式会社デンソー
装置及び方法
1か月前
続きを見る
他の特許を見る