TOP
|
特許
|
意匠
|
商標
特許ウォッチ
Twitter
他の特許を見る
公開番号
2025142289
公報種別
公開特許公報(A)
公開日
2025-09-30
出願番号
2025126223,2025540198
出願日
2025-07-29,2025-01-23
発明の名称
ロータリ圧縮機、機器、及びルーム用エアコン
出願人
パナソニックIPマネジメント株式会社
代理人
個人
主分類
F04C
18/324 20060101AFI20250919BHJP(液体用容積形機械;液体または圧縮性流体用ポンプ)
要約
【課題】円柱部における円弧面の加工精度を高めることができるロータリ圧縮機及びこのロータリ圧縮機を用いた機器を提供すること。
【解決手段】圧縮機構部30はシリンダ31、ピストン32、ベーン33を有し、シャフト40は偏心部42を有し、シリンダ31にはスロットを形成し、偏心部42はシリンダ31内に配置され、ピストン32は偏心部42に嵌合され、ピストン32には、円弧角αが180°を超える円柱状溝32aを形成し、ベーンの端部には、円柱状溝32aに配置される円柱部33bを形成し、ベーン33がピストン32から離れることなく動作し、円柱部33bには、円柱部33bの一端面から他端面に至る切り欠き部33dを形成し、切り欠き部33dによって、円柱部33bにおける円弧面33eを複数に分割し、それぞれの円弧面33eを180°未満の円弧角βとし、切り欠き部33dを、45°未満の円弧角γとした。
【選択図】 図3
特許請求の範囲
【請求項1】
密閉容器内に電動機部と圧縮機構部とを備え、
前記電動機部と前記圧縮機構部とはシャフトによって連結され、
前記圧縮機構部は、シリンダと、前記シリンダ内に配置されるピストンと、前記シリンダ内を仕切るベーンとを有し、
前記シャフトは偏心部を有し、
前記シリンダには前記ベーンを配置するスロットを形成し、
前記偏心部は前記シリンダ内に配置され、
前記ピストンは前記偏心部に嵌合され、
前記ピストンには、円弧角が180°を超える円柱状溝を形成し、
前記ベーンの端部には、前記円柱状溝に配置される円柱部を形成し、
前記ベーンが前記ピストンから離れることなく動作するロータリ圧縮機であって、
前記円柱部には、前記円柱部の一端面から他端面に至る切り欠き部を形成し、
前記切り欠き部によって、前記円柱部における円弧面を複数に分割し、
それぞれの前記円弧面を180°未満の円弧角とし、
前記切り欠き部を、45°未満の円弧角とした
ことを特徴とするロータリ圧縮機。
続きを表示(約 310 文字)
【請求項2】
前記切り欠き部を、前記ベーンのベーン先端部に形成した
ことを特徴とする請求項1に記載のロータリ圧縮機。
【請求項3】
前記円柱部の外周面には、少なくとも2つに分離した前記円弧面が形成され、
形成される2つの前記円弧面を、前記ベーンの側面の延長仮想面Xに最も近い位置に配置する
ことを特徴とする請求項1又は請求項2に記載のロータリ圧縮機。
【請求項4】
請求項1又は請求項2に記載のロータリ圧縮機を用いた機器であって、
前記ロータリ圧縮機、凝縮器、減圧装置、及び蒸発器を配管によって環状に接続した
ことを特徴とする機器。
発明の詳細な説明
【技術分野】
【0001】
本発明は、ベーンがピストンから離れることなく動作するロータリ圧縮機及びこのロータリ圧縮機を用いた機器に関するものである。
続きを表示(約 2,300 文字)
【背景技術】
【0002】
特許文献1には、ピストンに円柱状溝を形成し、ベーンの端部に円柱状溝に配置される円柱部を形成することで、ベーンがピストンから離れることなく動作するロータリ圧縮機が開示されている。
特許文献2には、ベーン側面の加工性を改善するために、ベーンの円柱部側面をDカットした圧縮機が開示されている。
【先行技術文献】
【特許文献】
【0003】
特開平3-185291号公報
特開2012-237317号公報
【発明の概要】
【発明が解決しようとする課題】
【0004】
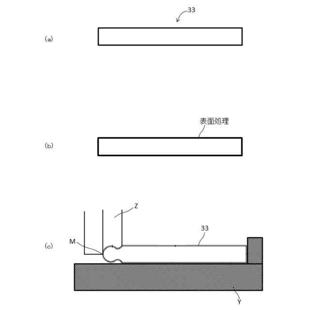
ベーン端部は、ピストンに設けた溝内に嵌め合わされ、ベーン円柱部とピストン溝とは、円周方向に摺動するため、ピストン溝およびベーン円柱部とは高精度な仕上げ加工が必要となる。
ベーン円柱部が180°を超える円弧角であれば、ベーン円柱部を2回以上に分けて仕上げ加工を施す必要がある。加工面のつなぎ目は、円柱部の精度が低下する原因となる。
【0005】
そこで本発明は、円柱部における円弧面の加工精度を高めることができるロータリ圧縮機及びこのロータリ圧縮機を用いた機器を提供することを目的とする。
【課題を解決するための手段】
【0006】
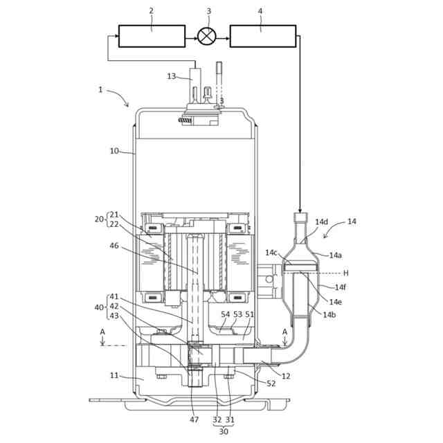
請求項1記載の本発明のロータリ圧縮機1は、密閉容器10内に電動機部20と圧縮機構部30とを備え、前記電動機部20と前記圧縮機構部30とはシャフト40によって連結され、前記圧縮機構部30は、シリンダ31と、前記シリンダ31内に配置されるピストン32と、前記シリンダ31内を仕切るベーン33とを有し、前記シャフト40は偏心部42を有し、前記シリンダ31には前記ベーン33を配置するスロットを形成し、前記偏心部42は前記シリンダ31内に配置され、前記ピストン32は前記偏心部42に嵌合され、前記ピストン32には、円弧角αが180°を超える円柱状溝32aを形成し、前記ベーンの端部には、前記円柱状溝32aに配置される円柱部33bを形成し、前記ベーン33が前記ピストン32から離れることなく動作するロータリ圧縮機1であって、前記円柱部33bには、前記円柱部33bの一端面から他端面に至る切り欠き部33dを形成し、前記切り欠き部33dによって、前記円柱部33bにおける円弧面33eを複数に分割し、それぞれの前記円弧面33eを180°未満の円弧角βとし、前記切り欠き部33dを、45°未満の円弧角γとしたことを特徴とする。
請求項2記載の本発明は、請求項1に記載のロータリ圧縮機1において、前記切り欠き部33dを、前記ベーン33のベーン先端部に形成したことを特徴とする。
請求項3記載の本発明は、請求項1又は請求項2に記載のロータリ圧縮機1において、前記円柱部33bの外周面には、少なくとも2つに分離した前記円弧面33eが形成され、形成される2つの前記円弧面33eを、前記ベーン33の側面の延長仮想面Xに最も近い位置に配置することを特徴とする。
請求項4記載の本発明の機器は、請求項1又は請求項2に記載のロータリ圧縮機1を用いた機器であって、前記ロータリ圧縮機1、凝縮器2、減圧装置3、及び蒸発器4を配管によって環状に接続したことを特徴とする。
【発明の効果】
【0007】
本発明によれば、円柱部の一端面から他端面に至る切り欠き部によって、円柱部における円弧面を複数に分割し、それぞれの円弧面を180°未満の円弧角とすることで、円柱部における円弧面の加工精度を高めることができ、切り欠き部を、45°未満の円弧角とすることで、円柱状溝と円柱部との接触面積を大きくでき、冷媒漏れを確実に防止することができる。
【図面の簡単な説明】
【0008】
本発明の一実施例によるロータリ圧縮機を示す断面図
図1に示すA-A線矢視図
同実施例によるロータリ圧縮機に用いるピストン及びベーンを示す図
同実施例によるロータリ圧縮機に用いるベーンの製造工程を示す図
【発明を実施するための形態】
【0009】
本発明の第1の実施の形態によるロータリ圧縮機は、円柱部には、円柱部の一端面から他端面に至る切り欠き部を形成し、切り欠き部によって、円柱部における円弧面を複数に分割し、それぞれの円弧面を180°未満の円弧角とし、切り欠き部を、45°未満の円弧角としたものである。円弧角が180°を超える円柱部を形成するには、2回以上に分けて仕上げ加工を施す必要があり、加工面のつなぎ面での加工精度が低下するが、本実施の形態によれば、円柱部の一端面から他端面に至る切り欠き部によって、円柱部における円弧面を複数に分割し、それぞれの円弧面を180°未満の円弧角とすることで、円柱部における円弧面の加工精度を高めることができ、切り欠き部を、45°未満の円弧角とすることで、円柱状溝と円柱部との接触面積を大きくでき、冷媒漏れを確実に防止することができる。
【0010】
本発明の第2の実施の形態は、第1の実施の形態によるロータリ圧縮機において、切り欠き部を、ベーンのベーン先端部に形成したものである。本実施の形態によれば、ベーン先端部には負荷が加わりにくく、切り欠き部によって吸入側円弧面と吐出側円弧面とを対称に形成することができる。
(【0011】以降は省略されています)
この特許をJ-PlatPat(特許庁公式サイト)で参照する
関連特許
個人
海流製造装置。
16日前
株式会社ツインバード
送風装置
14日前
株式会社ツインバード
送風装置
14日前
カヤバ株式会社
電動ポンプ
1か月前
株式会社不二越
蓄圧装置
2か月前
ビッグボーン株式会社
送風装置
1か月前
株式会社ノーリツ
ロータリ圧縮機
1か月前
サンデン株式会社
スクロール圧縮機
今日
小倉クラッチ株式会社
ルーツブロア
2か月前
株式会社不二越
ベーンポンプ
2か月前
サンデン株式会社
スクロール圧縮機
今日
サンデン株式会社
スクロール圧縮機
今日
株式会社豊田自動織機
流体機械
28日前
株式会社島津製作所
真空ポンプ
1か月前
エドワーズ株式会社
真空ポンプ
8日前
株式会社チロル
送風機、送風機付衣服
1か月前
株式会社島津製作所
真空ポンプ
14日前
株式会社アイシン
ポンプケース
7日前
株式会社豊田自動織機
電動圧縮機
1か月前
株式会社豊田自動織機
電動圧縮機
2か月前
株式会社豊田自動織機
電動圧縮機
1か月前
株式会社ナノバブル研究所
気液駆動装置
8日前
株式会社豊田自動織機
電動圧縮機
2か月前
株式会社豊田自動織機
電動圧縮機
24日前
已久工業股ふん有限公司
空気圧縮機構造
1か月前
株式会社豊田自動織機
電動圧縮機
24日前
株式会社豊田自動織機
電動圧縮機
24日前
NTN株式会社
電動オイルポンプ
1日前
株式会社豊田自動織機
電動圧縮機
1か月前
株式会社豊田自動織機
圧縮機
2か月前
リンナイ株式会社
遠心ファン
1か月前
已久工業股ふん有限公司
エアコンプレッサ
1か月前
株式会社豊田自動織機
圧縮機
2か月前
株式会社豊田自動織機
圧縮機
2か月前
株式会社荏原製作所
給水装置
2か月前
株式会社西田技巧
シーリングファン
2か月前
続きを見る
他の特許を見る