TOP
|
特許
|
意匠
|
商標
特許ウォッチ
Twitter
他の特許を見る
公開番号
2025141793
公報種別
公開特許公報(A)
公開日
2025-09-29
出願番号
2024221994
出願日
2024-12-18
発明の名称
高周波拡散シート
出願人
住友ベークライト株式会社
代理人
個人
,
個人
,
個人
主分類
H01Q
15/10 20060101AFI20250919BHJP(基本的電気素子)
要約
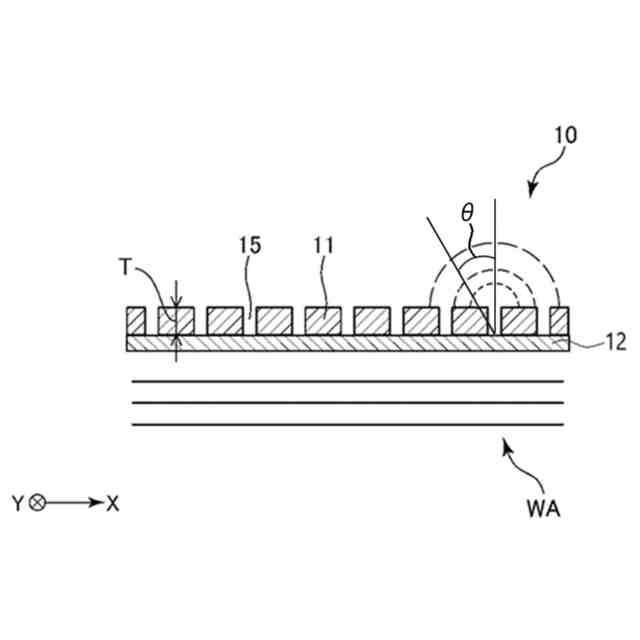
【課題】高周波領域の電磁波を、指向性を維持しつつ拡散させることで、建築物内において、窓部等の透過領域の前方付近に通信機器が配置されている際に、この電磁波を通信機器により良好に受信する高周波拡散シートを提供する。
【解決手段】高周波拡散シート10は、高周波領域の電磁波を拡散させるために用いられ、電磁波遮蔽性を有する電磁波遮蔽層11を備え、電磁波遮蔽層の厚さ方向に貫通する開口部15を有し、開口部の平均開口幅をW[mm]、開口部同士の平均離間距離をL[mm]、電磁波の波長をλ[mm]としたとき、W/λ及びL/λは、下記関係式(1)~(3)である。
1.5<W/λ≦2.7、および、0.4≦L/λ≦3.0…(1)
0.3≦W/λ≦1.5、および、1.3<L/λ≦3.0…(2)
0.3≦W/λ≦2.7、および、3.0<L/λ≦16.5…(3)
【選択図】図1
特許請求の範囲
【請求項1】
高周波領域の電磁波が透過する際に、該電磁波を拡散させるために用いられ、電磁波遮蔽性を有する電磁波遮蔽層を備える高周波拡散シートであって、
前記電磁波遮蔽層は、当該高周波拡散シートの平面視においてパターニングされており、前記電磁波遮蔽層の厚さ方向に貫通する複数の開口部を有し、
前記開口部の平均開口幅をW[mm]、隣接する前記開口部同士の平均離間距離をL[mm]、前記電磁波の波長をλ[mm]としたとき、W/λおよびL/λは、下記関係式(1)の範囲内、下記関係式(2)の範囲内、または、下記関係式(3)の範囲内であることを特徴とする高周波拡散シート。
1.5<W/λ≦2.7、および、0.4≦L/λ≦3.0 … (1)
0.3≦W/λ≦1.5、および、1.3<L/λ≦3.0 … (2)
0.3≦W/λ≦2.7、および、3.0<L/λ≦16.5 … (3)
続きを表示(約 960 文字)
【請求項2】
前記W/λおよび前記L/λは、前記関係式(1)の範囲内、または、前記関係式(2)の範囲内であり、
前記電磁波が当該高周波拡散シートを透過した際に、前記開口部において拡散された前記電磁波のうち、最も高い強度で拡散された前記電磁波の放射角度θを、前記開口部から拡散されることなく直進する前記電磁波に対する傾斜角度としたとき、
前記放射角度θは、0°超30°以下である請求項1に記載の高周波拡散シート。
【請求項3】
前記開口部は、平面視形状が長方形状をなしている請求項1または2に記載の高周波拡散シート。
【請求項4】
複数の前記開口部が、行列状に配置されている請求項1または2に記載の高周波拡散シート。
【請求項5】
複数の前記開口部は、前記電磁波遮蔽層に設定される対称の中心に対し、点対称の関係を満たすように配置されている請求項1に記載の高周波拡散シート。
【請求項6】
前記電磁波遮蔽層の厚さ方向に貫通する円環状の開口帯を有し、
複数の前記開口部は、前記開口帯の一部である請求項5に記載の高周波拡散シート。
【請求項7】
前記開口部で拡散された前記電磁波のうち、最も高い強度で放射された前記電磁波の放射角度を、前記開口部で拡散されることなく直進する前記電磁波に対する傾斜角度としたとき、
前記放射角度は、20°以下であり、
前記放射角度で拡散された前記電磁波の半値角は、15°以下である請求項5または6に記載の高周波拡散シート。
【請求項8】
前記電磁波遮蔽層は、前記電磁波を反射または吸収させることで前記電磁波を遮蔽する請求項1に記載の高周波拡散シート。
【請求項9】
前記電磁波遮蔽層は、金属薄膜層、または、金属粉とバインダー樹脂とを含んで構成される金属粉含有接着剤層である請求項1に記載の高周波拡散シート。
【請求項10】
当該高周波拡散シートは、透明性を有する樹脂フィルムを有し、前記電磁波遮蔽層は、前記樹脂フィルムに接合して設けられている請求項1に記載の高周波拡散シート。
(【請求項11】以降は省略されています)
発明の詳細な説明
【技術分野】
【0001】
本発明は、高周波拡散シートに関する。
続きを表示(約 1,600 文字)
【背景技術】
【0002】
近年、携帯電話、スマートフォン、タブレット、モバイルパソコン等の通信機器の高速化、高容量化に伴い、これら通信機器で受信する電磁波(電磁信号)として、1GHz以上80GHz以下のような高周波領域のものを用いることが提案されている(例えば、特許文献1参照)。
【0003】
このような高周波領域の電磁波は、低周波領域のものと比較すると、直進性(指向性)が高い。そのため、建築物内において通信機器により電磁波を受信する際には、電磁波の透過が許容される窓部等の透過領域を透過した電磁波が拡散されず、その結果、建築物内において、良好に電磁波を受信することができなくなるという問題があった。
【0004】
そこで、窓部等の透過領域を電磁波が透過する際には、電磁波が拡散されることが望まれる。例えば、前記透過領域の前方付近であって、電磁波の直進方向から所定の傾斜角度で外れた位置に通信機器が配置されている場合、指向性を維持しつつ、電磁波を所定の方向へ拡散させる必要がある。また、前記透過領域の前方付近であって、透過領域から離れた位置に通信機器が配置されている場合、指向性を維持しつつ、電磁波を集束させることで、電磁波の強度を高める必要がある。
【先行技術文献】
【特許文献】
【0005】
特開2012-190920号公報
【発明の概要】
【発明が解決しようとする課題】
【0006】
本発明の目的は、高周波領域の電磁波を、指向性を維持しつつ拡散させることで、例えば、建築物内において、窓部等の透過領域の前方付近に通信機器が配置されている際に、この電磁波を通信機器により良好に受信可能とし得る高周波拡散シートを提供することにある。
【課題を解決するための手段】
【0007】
このような目的は、下記(1)~(14)に記載の本発明により達成される。
(1) 高周波領域の電磁波が透過する際に、該電磁波を拡散させるために用いられ、電磁波遮蔽性を有する電磁波遮蔽層を備える高周波拡散シートであって、
前記電磁波遮蔽層は、当該高周波拡散シートの平面視においてパターニングされており、前記電磁波遮蔽層の厚さ方向に貫通する複数の開口部を有し、
前記開口部の平均開口幅をW[mm]、隣接する前記開口部同士の平均離間距離をL[mm]、前記電磁波の波長をλ[mm]としたとき、W/λおよびL/λは、下記関係式(1)の範囲内、下記関係式(2)の範囲内、または、下記関係式(3)の範囲内であることを特徴とする高周波拡散シート。
1.5<W/λ≦2.7、および、0.4≦L/λ≦3.0 … (1)
0.3≦W/λ≦1.5、および、1.3<L/λ≦3.0 … (2)
0.3≦W/λ≦2.7、および、3.0<L/λ≦16.5 … (3)
【0008】
(2) 前記W/λおよび前記L/λは、前記関係式(1)の範囲内、または、前記関係式(2)の範囲内であり、
前記電磁波が当該高周波拡散シートを透過した際に、前記開口部において拡散された前記電磁波のうち、最も高い強度で拡散された前記電磁波の放射角度θを、前記開口部から拡散されることなく直進する前記電磁波に対する傾斜角度としたとき、
前記放射角度θは、0°超30°以下である上記(1)に記載の高周波拡散シート。
【0009】
(3) 前記開口部は、平面視形状が長方形状をなしている上記(1)または(2)に記載の高周波拡散シート。
【0010】
(4) 複数の前記開口部が、行列状に配置されている上記(1)または(2)に記載の高周波拡散シート。
(【0011】以降は省略されています)
この特許をJ-PlatPat(特許庁公式サイト)で参照する
関連特許
個人
安全なNAS電池
1か月前
東レ株式会社
多孔質炭素シート
28日前
日本発條株式会社
積層体
9日前
キヤノン株式会社
電子機器
28日前
個人
防雪防塵カバー
9日前
ローム株式会社
半導体装置
今日
ローム株式会社
半導体装置
7日前
ローム株式会社
半導体装置
7日前
ローム株式会社
半導体装置
7日前
ローム株式会社
半導体装置
28日前
ローム株式会社
半導体装置
5日前
エイブリック株式会社
半導体装置
1か月前
エイブリック株式会社
半導体装置
1か月前
株式会社ホロン
冷陰極電子源
5日前
株式会社GSユアサ
蓄電装置
1か月前
株式会社GSユアサ
蓄電装置
5日前
太陽誘電株式会社
全固体電池
5日前
個人
半導体パッケージ用ガラス基板
8日前
株式会社GSユアサ
蓄電装置
9日前
ニチコン株式会社
コンデンサ
21日前
ニチコン株式会社
コンデンサ
21日前
株式会社ティラド
面接触型熱交換器
20日前
東レ株式会社
ガス拡散層の製造方法
28日前
日本特殊陶業株式会社
保持装置
1か月前
日本特殊陶業株式会社
保持装置
5日前
TDK株式会社
電子部品
5日前
ローム株式会社
電子装置
9日前
日本特殊陶業株式会社
保持装置
5日前
日本特殊陶業株式会社
保持装置
9日前
マクセル株式会社
配列用マスク
20日前
トヨタ自動車株式会社
二次電池
9日前
株式会社ヨコオ
コネクタ
1か月前
日本特殊陶業株式会社
保持装置
7日前
日本特殊陶業株式会社
電極
5日前
ローム株式会社
半導体装置
9日前
住友電装株式会社
コネクタ
9日前
続きを見る
他の特許を見る