TOP
|
特許
|
意匠
|
商標
特許ウォッチ
Twitter
他の特許を見る
公開番号
2025141164
公報種別
公開特許公報(A)
公開日
2025-09-29
出願番号
2024040972
出願日
2024-03-15
発明の名称
自動分析装置および再起動制御方法
出願人
日本電子株式会社
代理人
弁理士法人信友国際特許事務所
主分類
G01N
35/00 20060101AFI20250919BHJP(測定;試験)
要約
【課題】測定データの管理単位を適切化することにより発生する、検体の測定を行えない時間の長さを短縮できるようにする。
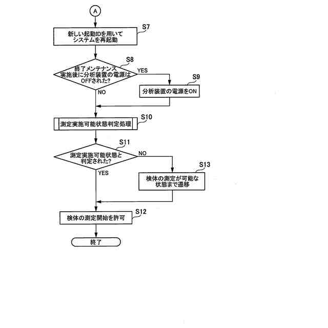
【解決手段】本発明の自動分析装置の一態様は、アプリケーションソフトウェアの起動単位で付与される起動IDと、測定データとを対応づけて管理する制御部210と、起動IDの更新を目的としたアプリケーションソフトウェアの再起動が行われた場合、分析装置は検体の測定を行える状態であるか否かを判定し、測定を行える状態であると判定した場合、分析装置による検体の測定開始を許可する再起動制御部211と、を備える。
【選択図】図2
特許請求の範囲
【請求項1】
検体に含まれる成分の量を測定する分析装置と、前記分析装置による測定により得られた前記検体の測定データを管理し、前記分析装置を制御するアプリケーションソフトウェアを備える制御装置と、を備えた自動分析装置であって、
前記制御装置は、
前記アプリケーションソフトウェアの起動単位で付与される起動IDと、前記測定データとを対応づけて管理する制御部と、
前記起動IDの更新を目的とした前記アプリケーションソフトウェアの再起動が行われた場合、前記分析装置は前記検体の測定を行える状態であるか否かを判定し、測定を行える状態であると判定した場合、前記分析装置による前記検体の測定開始を許可する再起動制御部と、を備える
自動分析装置。
続きを表示(約 1,500 文字)
【請求項2】
前記再起動制御部は、前記アプリケーションソフトウェアの再起動前において前記分析装置の電源がオンされていた電源オン継続時間が所定の閾値時間以上であり、かつ、前記アプリケーションソフトウェアの再起動における前記アプリケーションソフトウェアの終了時に、前記分析装置の恒温槽の温度状態情報を取得し、前記アプリケーションソフトウェアの再起動時に、取得した前記恒温槽の温度状態情報に示される温度が所定の閾値温度の範囲内である場合に、前記分析装置は前記検体の測定を行える状態であると判定する
請求項1に記載の自動分析装置。
【請求項3】
再起動前における前記分析装置の電源オン継続時間に対して設けられる前記所定の閾値時間には、前記検体の測定に用いられる光度計のランプの温度が安定するまでに必要な時間が設定される
請求項2に記載の自動分析装置。
【請求項4】
前記再起動制御部は、前記アプリケーションソフトの再起動時に前記分析装置の電源をオフした場合には、前記アプリケーションソフトウェアの再起動時に前記分析装置の電源が切断されていた電源切断継続時間を算出し、前記電源オン継続時間および前記恒温槽の温度状態に加えて、前記電源切断継続時間を確認することにより、前記分析装置は前記検体の測定を行える状態であるか否かを判定する
請求項2に記載の自動分析装置。
【請求項5】
前記再起動制御部は、前記電源切断継続時間が前記所定の閾値時間未満であり、前記電源オン継続が前記所定の閾値時間以上であり、かつ、前記恒温槽の温度状態情報に示される温度が所定の閾値温度の範囲内にある場合に、前記分析装置は前記検体の測定を行える状態であると判定する
請求項4に記載の自動分析装置。
【請求項6】
前記再起動制御部は、前記分析装置は前記検体の測定を行える状態でないと判定した場合、前記恒温槽の温度および前記ランプの温度が安定するまで待機した後に、前記分析装置に対して前記検体の測定開始を許可する
請求項3に記載の自動分析装置。
【請求項7】
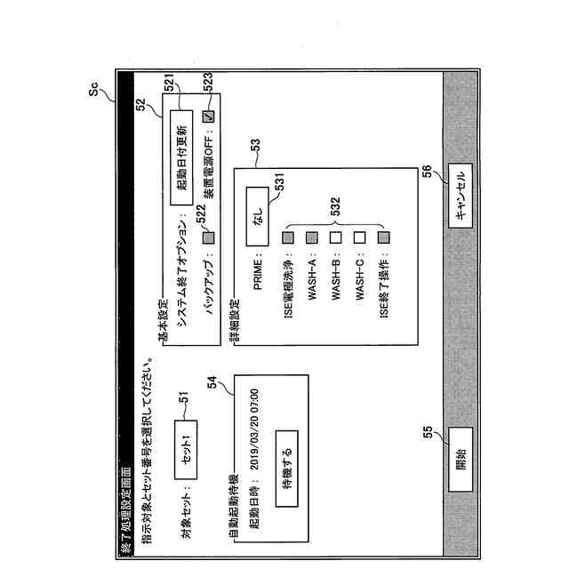
前記起動IDの更新を目的とした前記アプリケーションソフトウェアの再起動動作を指示可能な設定項目を前記制御装置の表示部の画面に表示させる表示制御部をさらに備える
請求項1に記載の自動分析装置。
【請求項8】
前記設定項目には、前記起動IDの更新を目的とした前記アプリケーションソフトウェアの再起動動作の前に行われる前記分析装置の洗浄を含むメンテナンス動作の指示も対応付けられている
請求項7に記載の自動分析装置。
【請求項9】
検体に含まれる成分の量を測定する分析装置と、前記分析装置による測定により得られた前記検体の測定データを管理し、前記分析装置を制御するアプリケーションソフトウェアを備える制御装置と、を備えた自動分析装置による再起動制御方法であって、
前記制御装置の制御部が、前記アプリケーションソフトウェアの起動単位で付与される起動IDと、前記測定データとを対応づけて管理する手順と、
前記起動IDの更新を目的とした前記アプリケーションソフトウェアの再起動が行われた場合、前記制御装置の再起動制御部が、前記分析装置は前記検体の測定を行える状態であるか否かを判定し、測定を行える状態であると判定した場合、前記分析装置による前記検体の測定開始を許可する手順と、を含む
再起動制御方法。
発明の詳細な説明
【技術分野】
【0001】
本発明は、検体に含まれる成分の量を測定する自動分析装置、および、再起動制御方法に関する。
続きを表示(約 1,500 文字)
【背景技術】
【0002】
従来、検体に含まれる成分の量を測定する分析装置と、該分析装置による測定結果を測定データとして管理する制御装置と、を備えた自動分析装置が知られている。制御装置は、分析装置からの通知や要求などに基づいて動作するが、これらの通知や要求などの分析装置から制御装置への到達に遅延が発生した場合、測定データの整合性が取れなくなる等の問題が発生する可能性がある。
【0003】
このような遅延の発生を防ぐために、測定を行うその日に使用するデータを制御装置のメモリ上に展開することにより、分析装置によるデータへのアクセス性を高めることが行われている。メモリ上にデータを展開するために、制御装置に記録される測定データは、例えば、制御装置において動作する分析装置を制御するアプリケーションソフトウェアの起動IDの単位等に分割して管理される。起動IDは、分析装置を制御するアプリケーションソフトウェアを再起動すること等により更新することができる。
【0004】
しかし、起動ID毎に確保されたメモリの領域は有限であるため、分析装置が長時間連続運転され、起動IDに対応付けて管理される測定データのデータ量が大きくなってしまった場合、全ての測定データを保存することが難しくなる。したがって、起動IDを変更するためのアプリケーションソフトウェアの再起動は、一日の測定が終了したタイミング等に定期的に行われることが好ましい。
【0005】
例えば、病院等の医療施設においては、自動分析装置の運用が一段落する外来患者の診療の終了時等のタイミングにおいて、分析装置の再起動とともに、アプリケーションソフトウェアを新たな起動IDを用いて再起動し、再起動後に得られた測定データを、新たな起動IDに対応付けて管理する運用等が行われている。
【0006】
一方、分析装置による検体の測定は、検体の測定を行う多波長光度計において用いられるランプや、恒温槽などの各ユニットの温度が安定した後に開始される必要がある。
【0007】
したがって、起動IDの更新を目的として分析装置および制御装置のアプリケーションソフトウェアが再起動される運用が行われる場合においても、分析装置における上述した各ユニットの温度安定のための調整待ち時間を必ず発生させる制御が行われることがある。このような制御が行われることにより、分析装置の各ユニットの温度状態が安定していない状態で検体の測定が開始されてしまうことを確実に防ぐことができる。
【0008】
例えば、特許文献1には、検体処理装置の前回のシャットダウン完了時刻からの経過時間に応じて、第1測定ユニットおよび第2測定ユニットのスタートアップ動作における洗浄動作の回数を変化させる制御を行うことが開示されている。
【先行技術文献】
【特許文献】
【0009】
特許5208675号公報
【発明の概要】
【発明が解決しようとする課題】
【0010】
上述したように、分析装置および制御装置のアプリケーションソフトウェアの再起動後に、分析装置の各ユニットの温度の調整待ちを必ず発生させる制御が行われる場合、その調整待ち時間においては検体の測定を行うことができない。したがって、調整待ちの時間において緊急検体の測定依頼が来た場合であっても、自動分析装置は、該緊急検体の測定を実施することができない。特許文献1には、分析装置の再起動後に必ずユニットの温度調整待ち時間が発生してしまう課題を解決する手法については開示されていない。
(【0011】以降は省略されています)
この特許をJ-PlatPat(特許庁公式サイト)で参照する
関連特許
日本電子株式会社
治具
7日前
日本電子株式会社
自動分析装置および再起動制御方法
10日前
日本電子株式会社
極低温透過型電子顕微鏡用試料の作製装置
1か月前
日本電子株式会社
荷電粒子線装置および荷電粒子線装置の制御方法
6日前
日本電子株式会社
荷電粒子線装置および荷電粒子源ユニットの交換方法
10日前
日本電子株式会社
透過電子顕微鏡、画像分類方法、および電子ビームの調整方法
今日
個人
計量スプーン
1か月前
個人
メジャー文具
2日前
ユニパルス株式会社
ロードセル
1日前
日本精機株式会社
位置検出装置
8日前
日本精機株式会社
位置検出装置
8日前
日本精機株式会社
位置検出装置
8日前
大和製衡株式会社
組合せ秤
13日前
大和製衡株式会社
組合せ秤
13日前
アズビル株式会社
圧力センサ
7日前
株式会社東芝
センサ
13日前
トヨタ自動車株式会社
検査装置
10日前
トヨタ自動車株式会社
監視装置
今日
株式会社ヨコオ
ソケット
1日前
株式会社東芝
センサ
13日前
ダイハツ工業株式会社
測定用具
1か月前
株式会社ユーシン
操作検出装置
10日前
株式会社ヨコオ
ソケット
今日
エイブリック株式会社
磁気センサ回路
7日前
株式会社チノー
放射光測温装置
1日前
トヨタ自動車株式会社
表示装置
22日前
株式会社ヨコオ
コンタクタ
1か月前
TDK株式会社
磁気センサ
今日
TDK株式会社
磁気センサ
1か月前
TDK株式会社
ガスセンサ
6日前
東レエンジニアリング株式会社
計量装置
10日前
株式会社東芝
重量測定装置
6日前
株式会社ナリス化粧品
角層細胞採取用具
20日前
TDK株式会社
ガスセンサ
7日前
個人
粘塑性を用いた有限要素法の定式化
22日前
TDK株式会社
ガスセンサ
1日前
続きを見る
他の特許を見る