TOP
|
特許
|
意匠
|
商標
特許ウォッチ
Twitter
他の特許を見る
10個以上の画像は省略されています。
公開番号
2025140703
公報種別
公開特許公報(A)
公開日
2025-09-29
出願番号
2024040250
出願日
2024-03-14
発明の名称
荷電粒子線装置および荷電粒子源ユニットの交換方法
出願人
日本電子株式会社
代理人
個人
,
個人
,
個人
主分類
H01J
37/067 20060101AFI20250919BHJP(基本的電気素子)
要約
【課題】容易に荷電粒子源の交換ができる荷電粒子線装置を提供する。
【解決手段】本発明に係る荷電粒子線装置の一態様は、電子銃チャンバー202と、荷電粒子源を有するフィラメントユニット600と、電子銃チャンバー202の側壁に設けられ、電子銃チャンバー202内においてフィラメントユニット600を着脱可能に支持する支持部材700と、電子銃チャンバー202の側壁に設けられ、電子銃チャンバー202内にアクセスするためのチャンバー扉204と、を含む。
【選択図】図7
特許請求の範囲
【請求項1】
チャンバーと、
荷電粒子源を有する荷電粒子源ユニットと、
前記チャンバーの側壁に設けられ、前記チャンバー内において前記荷電粒子源ユニットを着脱可能に支持する支持部材と、
前記チャンバーの側壁に設けられ、前記チャンバー内にアクセスするためのチャンバー扉と、
を含む、荷電粒子線装置。
続きを表示(約 1,000 文字)
【請求項2】
請求項1において、
前記支持部材は、前記チャンバーの側壁から前記チャンバーの中心に向かって延在し、
前記荷電粒子源ユニットは、前記支持部材に、前記支持部材が延在する方向とは反対方向から押し込まれる、荷電粒子線装置。
【請求項3】
請求項1において、
前記支持部材は、前記チャンバーの側壁から前記チャンバーの中心に向かって延在し、
前記支持部材は、前記支持部材が延在する方向に延びるガイドを有し、
前記荷電粒子源ユニットは、前記ガイドに係合する係合部を有している、荷電粒子線装置。
【請求項4】
請求項1において、
前記支持部材は、前記チャンバーの側壁から第1方向に延在し、
前記チャンバー扉は、前記支持部材の前記第1方向に位置している、荷電粒子線装置。
【請求項5】
請求項2ないし4のいずれか1項において、
前記荷電粒子源の光軸は、前記支持部材が延在する方向と垂直である、荷電粒子線装置。
【請求項6】
請求項1において、
前記支持部材は、碍子を含み、
前記碍子は、電源に電気的に接続された第1端子を保持し、
前記荷電粒子源ユニットは、前記荷電粒子源に電気的に接続された第2端子を有し、
前記支持部材に前記荷電粒子源ユニットが取り付けられることによって、前記第1端子と前記第2端子が電気的に接続される、荷電粒子線装置。
【請求項7】
請求項1において、
前記荷電粒子源から放出された荷電粒子線を試料に照射するための光学系を含む、荷電粒子線装置。
【請求項8】
請求項1において、
前記荷電粒子源は、電子ビームを発生させる、荷電粒子線装置。
【請求項9】
請求項8において、
電子ビームを試料に照射するための照射光学系と、
前記試料を透過した電子で結像するための結像光学系と、
を含む、荷電粒子線装置。
【請求項10】
請求項9において、
筐体を含み、
前記筐体は、前記照射光学系と前記結像光学系を収容する鏡筒、および前記チャンバーを収容し、
前記筐体の側面には、前記チャンバー扉にアクセスするための筐体扉が設けられている、荷電粒子線装置。
(【請求項11】以降は省略されています)
発明の詳細な説明
【技術分野】
【0001】
本発明は、荷電粒子線装置および荷電粒子源ユニットの交換方法に関する。
続きを表示(約 2,000 文字)
【背景技術】
【0002】
透過電子顕微鏡や、走査電子顕微鏡、集束イオンビーム装置などの荷電粒子線装置では、荷電粒子源から荷電粒子線を放出する。荷電粒子源には寿命があるため、定期的に交換する必要がある。例えば、特許文献1には、電子顕微鏡の電子源となるフィラメントの交換方法が開示されている。
【先行技術文献】
【特許文献】
【0003】
特開昭52-98462号公報
【発明の概要】
【発明が解決しようとする課題】
【0004】
このような荷電粒子線装置では、容易に、荷電粒子源の交換ができることが望まれている。
【課題を解決するための手段】
【0005】
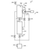
本発明に係る荷電粒子線装置の一態様は、
チャンバーと、
荷電粒子源を有する荷電粒子源ユニットと、
前記チャンバーの側壁に設けられ、前記チャンバー内において前記荷電粒子源ユニットを着脱可能に支持する支持部材と、
前記チャンバーの側壁に設けられ、前記チャンバー内にアクセスするためのチャンバー扉と、
を含む。
【0006】
このような荷電粒子線装置では、チャンバーの側壁に設けられたチャンバー扉から荷電粒子源ユニットを取り出したり、荷電粒子源ユニットを導入したりできるため、荷電粒子源ユニットの交換が容易である。
【0007】
本発明に係る荷電粒子源ユニットの交換方法の一態様は、
チャンバーと、
荷電粒子源を有する荷電粒子源ユニットと、
前記チャンバーの側壁に設けられ、前記チャンバー内において前記荷電粒子源ユニットを着脱可能に支持する支持部材と、
前記チャンバーの側壁に設けられ、前記チャンバー内にアクセスするためのチャンバー扉と、を含む荷電粒子線装置における前記荷電粒子源ユニットの交換方法であって、
前記チャンバー扉を開く工程と、
前記支持部材から第1荷電粒子源ユニットを取り外す工程と、
前記チャンバー扉から前記チャンバー内に第2荷電粒子源ユニットを導入して、前記支持部材に前記第2荷電粒子源ユニットを取り付ける工程と、
を含む。
【0008】
このような荷電粒子源ユニットの交換方法では、チャンバーの側壁に設けられたチャンバー扉から第1荷電粒子源ユニットを取り出したり、第2荷電粒子源ユニットを導入した
りできるため、荷電粒子源ユニットの交換が容易である。
【図面の簡単な説明】
【0009】
透過電子顕微鏡の構成の一例を示す図。
筐体を模式的に示す斜視図。
透過電子顕微鏡を模式的に示す正面図。
筐体の筐体扉を開いた状態を模式的に示す図。
電子銃チャンバーを模式的に示す斜視図。
電子銃チャンバーを模式的に示す斜視図。
電子銃チャンバーを模式的に示す斜視図。
電子銃チャンバーの底部を模式的に示す斜視図。
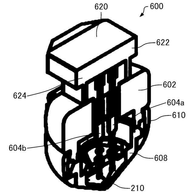
フィラメントユニットを模式的に示す断面斜視図。
フィラメントユニットを模式的に示す分解斜視図。
支持部の取付部にフィラメントユニットを取り付けている様子を模式的に示す斜視図。
支持部の取付部にフィラメントユニットを取り付けた状態を模式的に示す斜視図。
フィラメントユニットを支持部材の取付部に取り付けた状態を模式的に示す斜視図。
フィラメントユニットを支持部材に固定するためのロック機構を説明するための図。
フィラメントユニットの交換方法の一例を示すフローチャート。
治具を模式的に示す斜視図。
治具を模式的に示す斜視図。
第1フィラメントユニットを取り外す工程を模式的に示す斜視図。
第2フィラメントユニットを取り付ける工程を模式的に示す斜視図。
制御部の昇圧処理の一例を示すフローチャート。
制御部のスタート処理の一例を示すフローチャート。
加速電圧を印加するための電源回路を説明するための図。
放電が起こった場合の電源回路を説明するための図。
制御部のスタート機能における自動昇圧処理の一例を示すフローチャート。
加速電圧の昇降圧動作の一例を示す図。
【発明を実施するための形態】
【0010】
以下、本発明の好適な実施形態について図面を用いて詳細に説明する。なお、以下に説明する実施形態は、特許請求の範囲に記載された本発明の内容を不当に限定するものではない。また、以下で説明される構成の全てが本発明の必須構成要件であるとは限らない。
(【0011】以降は省略されています)
この特許をJ-PlatPat(特許庁公式サイト)で参照する
関連特許
日本電子株式会社
治具
5日前
日本電子株式会社
自動分析装置および再起動制御方法
8日前
日本電子株式会社
極低温透過型電子顕微鏡用試料の作製装置
1か月前
日本電子株式会社
荷電粒子線装置および荷電粒子線装置の制御方法
4日前
日本電子株式会社
荷電粒子線装置および荷電粒子源ユニットの交換方法
8日前
日本電子株式会社
走査透過電子顕微鏡およびアパーチャーの位置合わせ方法
1か月前
個人
安全なNAS電池
1か月前
個人
フリー型プラグ安全カバー
1か月前
東レ株式会社
多孔質炭素シート
27日前
日本発條株式会社
積層体
8日前
個人
防雪防塵カバー
8日前
エイブリック株式会社
半導体装置
29日前
ローム株式会社
半導体装置
6日前
エイブリック株式会社
半導体装置
29日前
ローム株式会社
半導体装置
6日前
ローム株式会社
半導体装置
27日前
ローム株式会社
半導体装置
6日前
キヤノン株式会社
電子機器
27日前
ローム株式会社
半導体装置
4日前
株式会社GSユアサ
蓄電装置
1か月前
株式会社ティラド
面接触型熱交換器
19日前
株式会社GSユアサ
蓄電装置
8日前
株式会社ホロン
冷陰極電子源
4日前
東レ株式会社
ガス拡散層の製造方法
27日前
個人
半導体パッケージ用ガラス基板
7日前
株式会社GSユアサ
蓄電装置
4日前
沖電気工業株式会社
アンテナ
1か月前
太陽誘電株式会社
全固体電池
4日前
オムロン株式会社
電磁継電器
1か月前
ニチコン株式会社
コンデンサ
20日前
ニチコン株式会社
コンデンサ
20日前
日本特殊陶業株式会社
保持装置
6日前
TDK株式会社
電子部品
4日前
トヨタ自動車株式会社
二次電池
8日前
マクセル株式会社
配列用マスク
19日前
日本特殊陶業株式会社
保持装置
1か月前
続きを見る
他の特許を見る