TOP
|
特許
|
意匠
|
商標
特許ウォッチ
Twitter
他の特許を見る
10個以上の画像は省略されています。
公開番号
2025141129
公報種別
公開特許公報(A)
公開日
2025-09-29
出願番号
2024040909
出願日
2024-03-15
発明の名称
樹脂製チャンバー装置、ハイブリダイズ反応システム、核酸分析システム、及び樹脂製チャンバー装置のサンプルセット方法
出願人
横河電機株式会社
代理人
個人
,
個人
,
個人
,
個人
主分類
C12M
1/00 20060101AFI20250919BHJP(生化学;ビール;酒精;ぶどう酒;酢;微生物学;酵素学;突然変異または遺伝子工学)
要約
【課題】チャンバーの密閉性を確保しつつ、ディスポーザブルが可能な樹脂製チャンバー装置の提供を目的とする。
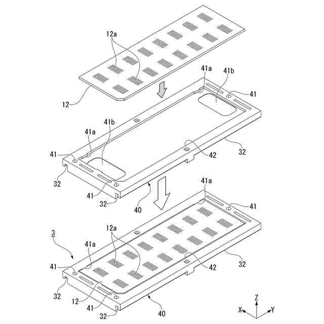
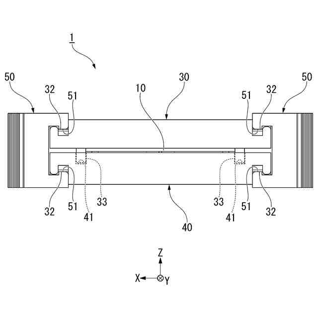
【解決手段】樹脂製チャンバー装置1は、厚み方向に貫通するウェル形成部20が形成されたシール部材10と、ウェル形成部20の一端が開口するシール部材10の第1面10A側に配置され、ウェル形成部20の一端を塞ぐ透明部材11と、ウェル形成部20の他端が開口するシール部材10の第2面10B側に配置され、ウェル形成部20の他端を塞ぐDNAアレイ基板12と、透明部材11に当接する第1フレーム30と、DNAアレイ基板12に当接する第2フレーム40と、第1フレーム30及び第2フレーム40の周縁部をクランプするクランプ部材50と、を備える。
【選択図】図4
特許請求の範囲
【請求項1】
厚み方向に貫通するウェル形成部が形成されたシール部材と、
前記ウェル形成部の一端が開口する前記シール部材の第1面側に配置され、前記ウェル形成部の一端を塞ぐ透明部材と、
前記ウェル形成部の他端が開口する前記シール部材の第2面側に配置され、前記ウェル形成部の他端を塞ぐ基板と、
前記透明部材に当接する第1フレームと、
前記基板に当接する第2フレームと、
前記第1フレーム及び前記第2フレームの周縁部をクランプするクランプ部材と、を備える、
樹脂製チャンバー装置。
続きを表示(約 1,000 文字)
【請求項2】
前記第1フレーム及び前記第2フレームは、平面視で長方形状に形成されると共に、4つの角部から長手方向に沿って延び、前記クランプ部材が係合するスライド溝が複数形成されている、
請求項1に記載の樹脂製チャンバー装置。
【請求項3】
前記スライド溝は、前記第1フレーム及び前記第2フレームの長手方向の中間位置に向かうに従って浅くなる第1傾斜形状を有し、
前記クランプ部材は、前記スライド溝に係合し、前記第1傾斜形状に対応した第2傾斜形状を有する係合爪部を備える、
請求項2に記載の樹脂製チャンバー装置。
【請求項4】
前記第1フレームは、樹脂製の漆黒メッキで表面が覆われると共に、前記透明部材を介して前記ウェル形成部を覗く窓部が形成されている、
請求項1~3のいずれか一項に記載の樹脂製チャンバー装置。
【請求項5】
前記第1フレーム及び前記第2フレームの一方には、他方に向かって突出する位置決めピンが形成され、
前記第1フレーム及び前記第2フレームの他方には、前記位置決めピンが係合する位置決め孔が形成されている、
請求項1~3のいずれか一項に記載の樹脂製チャンバー装置。
【請求項6】
請求項1~3のいずれか一項に記載の樹脂製チャンバー装置を用いてハイブリダイズ反応を行う、
ハイブリダイズ反応システム。
【請求項7】
請求項6に記載のハイブリダイズ反応システムを用いて抽出した核酸を分析する、
核酸分析システム。
【請求項8】
第1フレームに、透明部材によって、厚み方向に貫通するウェル形成部の一端が閉塞されたシール部材を重ね合わせて、第1チャンバーユニットを形成する第1工程と、
前記第1工程の後、前記ウェル形成部の他端から前記ウェル形成部にサンプルを滴下する第2工程と、
前記第2工程の後、第2フレームに基板を重ね合わせて形成した第2チャンバーユニットを、前記第1チャンバーユニットに重ね合わせ、前記基板によって前記ウェル形成部の他端を閉塞する第3工程と、
前記第3工程の後、前記第1フレーム及び前記第2フレームの周縁部をクランプ部材によってクランプする第4工程と、を有する、
樹脂製チャンバー装置のサンプルセット方法。
発明の詳細な説明
【技術分野】
【0001】
本発明は、樹脂製チャンバー装置、ハイブリダイズ反応システム、核酸分析システム、及び樹脂製チャンバー装置のサンプルセット方法に関するものである。
続きを表示(約 1,400 文字)
【背景技術】
【0002】
下記特許文献1には、標的物質検出用のプローブの固定領域を有し、該固定領域に資料を反応させるための反応チャンバーと、外部とを連通させる第1の流路および第2の流路とを有する生化学反応カセットに、第1の流路を密閉することが可能である密閉部と、反応チャンバー内の圧力を略一定に保つ圧力緩和手段と、を備える、標的物質検出装置が開示されている。
【先行技術文献】
【特許文献】
【0003】
特開2009-082084号公報
【発明の概要】
【発明が解決しようとする課題】
【0004】
上記生化学反応カセットは、ガラスと樹脂製筐体を接合したものであるため、廃棄するためには分別しなければならず、ディスポーザブル(使い捨て)が困難であった。
【0005】
本発明は、チャンバーの密閉性を確保しつつ、ディスポーザブルが可能な樹脂製チャンバー装置、ハイブリダイズ反応システム、核酸分析システム、及び樹脂製チャンバー装置のサンプルセット方法の提供を目的とする。
【課題を解決するための手段】
【0006】
上記の課題を解決するために、本発明の第1の態様による樹脂製チャンバー装置は、厚み方向に貫通するウェル形成部が形成されたシール部材と、前記ウェル形成部の一端が開口する前記シール部材の第1面側に配置され、前記ウェル形成部の一端を塞ぐ透明部材と、前記ウェル形成部の他端が開口する前記シール部材の第2面側に配置され、前記ウェル形成部の他端を塞ぐ基板と、前記透明部材に当接する第1フレームと、前記基板に当接する第2フレームと、前記第1フレーム及び前記第2フレームの周縁部をクランプするクランプ部材と、を備える。
【0007】
本発明の第2の態様による樹脂製チャンバー装置は、本発明の第1の態様による樹脂製チャンバー装置において、前記第1フレーム及び前記第2フレームは、平面視で長方形状に形成されると共に、4つの角部から長手方向に沿って延び、前記クランプ部材が係合するスライド溝が複数形成されていてもよい。
【0008】
本発明の第3の態様による樹脂製チャンバー装置は、本発明の第2の態様による樹脂製チャンバー装置において、前記スライド溝は、前記第1フレーム及び前記第2フレームの長手方向の中間位置に向かうに従って浅くなる第1傾斜形状を有し、前記クランプ部材は、前記スライド溝に係合し、前記第1傾斜形状に対応した第2傾斜形状を有する係合爪部を備えてもよい。
【0009】
本発明の第4の態様による樹脂製チャンバー装置は、本発明の第1の態様から第3の態様による樹脂製チャンバー装置において、前記第1フレームは、樹脂製の漆黒メッキで表面が覆われると共に、前記透明部材を介して前記ウェル形成部を覗く窓部が形成されていてもよい。
【0010】
本発明の第5の態様による樹脂製チャンバー装置は、本発明の第1の態様から第4の態様による樹脂製チャンバー装置において、前記第1フレーム及び前記第2フレームの一方には、他方に向かって突出する位置決めピンが形成され、前記第1フレーム及び前記第2フレームの他方には、前記位置決めピンが係合する位置決め孔が形成されていてもよい。
(【0011】以降は省略されています)
この特許をJ-PlatPat(特許庁公式サイト)で参照する
関連特許
横河電機株式会社
測定器
3日前
横河電機株式会社
藻類培養装置
13日前
横河電機株式会社
電流出力装置
4か月前
横河電機株式会社
温度測定装置
3日前
横河電機株式会社
厚さ測定装置
1か月前
横河電機株式会社
装置および方法
2か月前
横河電機株式会社
装置および方法
2か月前
横河電機株式会社
プラント運転支援装置
3か月前
横河電機株式会社
測定装置及び測定方法
今日
横河電機株式会社
測定装置および測定方法
1か月前
横河電機株式会社
ベースマップの注釈付け
27日前
横河電機株式会社
電子機器及び短絡検出方法
2か月前
横河電機株式会社
研磨用治具および研磨方法
13日前
横河電機株式会社
装置、方法及びプログラム
3日前
横河電機株式会社
測定方法及び測定システム
3日前
横河電機株式会社
装置、方法およびプログラム
14日前
横河電機株式会社
装置、方法およびプログラム
13日前
横河電機株式会社
装置、方法およびプログラム
2か月前
横河電機株式会社
測定装置および回転検出方法
1か月前
横河電機株式会社
装置、方法およびプログラム
23日前
横河電機株式会社
測定装置および推定システム
1か月前
横河電機株式会社
フィールド機器及び診断方法
4か月前
横河電機株式会社
波形測定器及び波形測定方法
2か月前
横河電機株式会社
ガス分析計及びガス分析方法
3か月前
横河電機株式会社
装置、方法およびプログラム
3か月前
横河電機株式会社
視点補正を伴う熱イメージング
4か月前
横河電機株式会社
水処理システム及び水処理方法
27日前
横河電機株式会社
光パルス試験器及びプログラム
4か月前
横河電機株式会社
分光分析装置及び分光分析方法
3か月前
横河電機株式会社
装置、方法、およびプログラム
今日
横河電機株式会社
装置、方法、およびプログラム
13日前
横河電機株式会社
情報処理装置及び情報処理方法
22日前
横河電機株式会社
菌体培養槽および菌体培養方法
1日前
横河電機株式会社
複合体、及び熱線吸収フィルム
2か月前
横河電機株式会社
複合体、及び熱線吸収フィルム
2か月前
横河電機株式会社
ガス測定装置およびガス測定方法
4か月前
続きを見る
他の特許を見る