TOP
|
特許
|
意匠
|
商標
特許ウォッチ
Twitter
他の特許を見る
10個以上の画像は省略されています。
公開番号
2025140803
公報種別
公開特許公報(A)
公開日
2025-09-29
出願番号
2024040387
出願日
2024-03-14
発明の名称
通信制御装置、通信制御方法、及び通信制御プログラム
出願人
日本電気株式会社
代理人
個人
主分類
H04W
24/04 20090101AFI20250919BHJP(電気通信技術)
要約
【課題】通信異常の発生後に、通信異常に対してより好適に対処することできる通信制御装置を実現する。
【解決手段】通信制御装置は、複数のアクセスポイントのうち通信に関する障害が生じているアクセスポイントを検知する検知手段と、通信に関する障害が検知されていないアクセスポイントから対象アクセスポイントを選択する選択手段と、対象アクセスポイントのカバレッジを、障害が生じているアクセスポイントを補填するように変更する変更手段と、を備える。
【選択図】図1
特許請求の範囲
【請求項1】
複数のアクセスポイントを備えた通信システムにおいて、
前記複数のアクセスポイントのうち通信に関する障害が生じているアクセスポイントを検知する検知手段と、
前記複数のアクセスポイントのうち通信に関する障害が検知されていないアクセスポイントから、1又は複数の対象アクセスポイントを選択する選択手段と、
前記選択手段により選択された前記1又は複数の対象アクセスポイントのカバレッジを、前記障害が生じているアクセスポイントのカバレッジの少なくとも一部を補填するように変更する変更手段と、を備え、
前記選択手段は、前記通信に関する障害が検知されていないアクセスポイントの各々のカバレッジを変更したときの干渉の度合いを判定し、判定結果に基づいて前記1又は複数の対象アクセスポイントを選択する、
通信制御装置。
続きを表示(約 1,500 文字)
【請求項2】
前記変更手段は、前記1又は複数の対象アクセスポイントのカバレッジを増大させる、
請求項1に記載の通信制御装置。
【請求項3】
前記選択手段は、前記通信に関する障害が検知されていないアクセスポイントの各々の位置に関する情報に基づいて、前記1又は複数の対象アクセスポイントを選択する、
請求項1に記載の通信制御装置。
【請求項4】
前記選択手段は、前記通信に関する障害が検知されていないアクセスポイントの各々において、他のアクセスポイントが用いる電波を測定した結果に基づいて、前記1又は複数の対象アクセスポイントを選択する、
請求項1に記載の通信制御装置。
【請求項5】
前記変更手段は、前記1又は複数の対象アクセスポイントが用いる周波数を変更する、
請求項1に記載の通信制御装置。
【請求項6】
前記変更手段は、前記通信に関する障害が検知されていないアクセスポイントの各々において、他のアクセスポイントが用いる電波を測定した結果に基づいて、前記1又は複数の対象アクセスポイントが用いる周波数を変更する、
請求項5に記載の通信制御装置。
【請求項7】
前記選択手段は、前記通信に関する障害が検知されていないアクセスポイントの各々が実行している通信の優先度に基づいて、前記1又は複数の対象アクセスポイントを選択する、
請求項1に記載の通信制御装置。
【請求項8】
前記通信の優先度は、前記通信の用途に応じて決定される、
請求項7に記載の通信制御装置。
【請求項9】
複数のアクセスポイントを含む通信システムにおいて、
少なくとも1つのプロセッサが、前記複数のアクセスポイントのうち通信に関する障害が生じているアクセスポイントを検知する検知処理と、
前記少なくとも1つのプロセッサが、前記複数のアクセスポイントのうち通信に関する障害が検知されていないアクセスポイントから、1又は複数の対象アクセスポイントを選択する選択処理と、
前記少なくとも1つのプロセッサが、前記選択処理により選択された前記1又は複数の対象アクセスポイントのカバレッジを、前記障害が生じているアクセスポイントのカバレッジの少なくとも一部を補填するように変更する変更処理と、を含み、
前記選択処理において、前記少なくとも1つのプロセッサは、前記通信に関する障害が検知されていないアクセスポイントの各々のカバレッジを変更したときの干渉の度合いを判定し、判定結果に基づいて前記1又は複数の対象アクセスポイントを選択する、
通信制御方法。
【請求項10】
複数のアクセスポイントを備えた通信システムにおいて、
コンピュータを、
前記複数のアクセスポイントのうち通信に関する障害が生じているアクセスポイントを検知する検知手段と、
前記複数のアクセスポイントのうち通信に関する障害が検知されていないアクセスポイントから、1又は複数の対象アクセスポイントを選択する選択手段と、
前記選択手段により選択された前記1又は複数の対象アクセスポイントのカバレッジを、前記障害が生じているアクセスポイントのカバレッジの少なくとも一部を補填するように変更する変更手段として機能させ、
前記選択手段は、前記通信に関する障害が検知されていないアクセスポイントの各々のカバレッジを変更したときの干渉の度合いを判定し、判定結果に基づいて前記1又は複数の対象アクセスポイントを選択する、
通信制御プログラム。
発明の詳細な説明
【技術分野】
【0001】
本開示は、通信制御装置、通信制御方法、及び通信制御プログラムに関する。
続きを表示(約 2,600 文字)
【背景技術】
【0002】
複数のアクセスポイントを備えた通信システムにおいて、通信異常が生じたアクセスポイントの機能を補う技術が知られている。一例として、特許文献1には、通信異常が発生したアクセスポイントの通信エリアを、他のアクセスポイントが有する代替用の無線通信プロトコルでカバーする技術が開示されている。
【先行技術文献】
【特許文献】
【0003】
特開2021-184542号公報
【発明の概要】
【発明が解決しようとする課題】
【0004】
特許文献1に記載の技術においては、無線通信プロトコルの通信エリアはあらかじめ決まっている。そのため、当該技術においては、代替用の無線通信プロトコルを有するアクセスポイントにおいても更に通信異常が発生したとき、通信異常に対処することが困難となる、という問題があった。
【0005】
本開示は、上記の問題に鑑みてなされたものであり、その一例示的目的は、通信異常の発生後に、通信異常に対してより好適に対処する技術を提供することにある。
【課題を解決するための手段】
【0006】
本開示の一例示的側面に係る通信制御装置は、複数のアクセスポイントを備えた通信システムにおいて、前記複数のアクセスポイントのうち通信に関する障害が生じているアクセスポイントを検知する検知手段と、前記複数のアクセスポイントのうち通信に関する障害が検知されていないアクセスポイントから、1又は複数の対象アクセスポイントを選択する選択手段と、前記選択手段により選択された前記1又は複数の対象アクセスポイントのカバレッジを、前記障害が生じているアクセスポイントのカバレッジの少なくとも一部を補填するように変更する変更手段と、を備え、前記選択手段は、前記通信に関する障害が検知されていないアクセスポイントの各々のカバレッジを変更したときの干渉の度合いを判定し、判定結果に基づいて前記1又は複数の対象アクセスポイントを選択する。
【0007】
本開示の一例示的側面に係る通信制御方法は、複数のアクセスポイントを含む通信システムにおいて、少なくとも1つのプロセッサが、前記複数のアクセスポイントのうち通信に関する障害が生じているアクセスポイントを検知する検知処理と、前記少なくとも1つのプロセッサが、前記複数のアクセスポイントのうち通信に関する障害が検知されていないアクセスポイントから、1又は複数の対象アクセスポイントを選択する選択処理と、前記少なくとも1つのプロセッサが、前記選択処理により選択された前記1又は複数の対象アクセスポイントのカバレッジを、前記障害が生じているアクセスポイントのカバレッジの少なくとも一部を補填するように変更する変更処理と、を含み、前記選択処理において、前記少なくとも1つのプロセッサは、前記通信に関する障害が検知されていないアクセスポイントの各々のカバレッジを変更したときの干渉の度合いを判定し、判定結果に基づいて前記1又は複数の対象アクセスポイントを選択する。
【0008】
本開示の一例示的側面に係る通信制御プログラムは、複数のアクセスポイントを備えた通信システムにおいて、コンピュータを、前記複数のアクセスポイントのうち通信に関する障害が生じているアクセスポイントを検知する検知手段と、前記複数のアクセスポイントのうち通信に関する障害が検知されていないアクセスポイントから、1又は複数の対象アクセスポイントを選択する選択手段と、前記選択手段により選択された前記1又は複数の対象アクセスポイントのカバレッジを、前記障害が生じているアクセスポイントのカバレッジの少なくとも一部を補填するように変更する変更手段として機能させ、前記選択手段は、前記通信に関する障害が検知されていないアクセスポイントの各々のカバレッジを変更したときの干渉の度合いを判定し、判定結果に基づいて前記1又は複数の対象アクセスポイントを選択する。
【発明の効果】
【0009】
本開示の一例示的側面によれば、通信異常の発生後に、通信異常に対してより好適に対処する技術を提供することができるという一例示的効果を奏する。
【図面の簡単な説明】
【0010】
本開示に係る通信制御装置の構成を示すブロック図である。
本開示に係る通信制御方法の流れを示すフロー図である。
本開示に係る通信制御装置の構成を示すブロック図である。
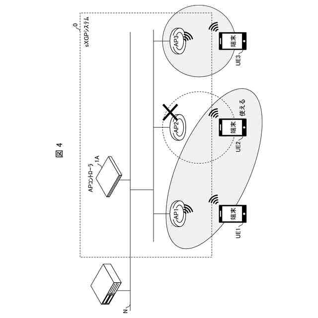
本開示に係る通信システムの構成例を示す図である。
本開示に係る通信システムが備えるアクセスポイントの配置例を示す図である。
本開示に係る通信システムにおける通常運用時の構成例を示す図である。
本開示に係る通信制御方法の流れを示すフロー図である。
本開示に係る通信制御装置の動作例を示す図である。
本開示に係る通信制御装置の動作例を示す図である。
本開示に係る通信制御装置の動作例を示す図である。
本開示に係る通信制御装置の動作例を示す図である。
本開示に係る通信制御装置の構成を示すブロック図である。
本開示に係る通信制御方法の流れを示すフロー図である。
本開示に係る通信制御装置の動作例を示す図である。
本開示に係る通信制御装置の動作例を示す図である。
本開示に係る通信制御装置の動作例を示す図である。
本開示に係る通信制御装置の動作例を示す図である。
本開示に係る通信制御装置の構成を示すブロック図である。
本開示に係る通信制御方法の流れを示すフロー図である。
本開示に係る通信制御装置の動作例を示す図である。
本開示に係る通信制御装置の動作例を示す図である。
本開示に係る通信制御装置の動作例を示す図である。
本開示に係る通信制御装置の動作例を示す図である。
本開示に係る通信制御装置として機能するコンピュータの構成を示すブロック図である。
【発明を実施するための形態】
(【0011】以降は省略されています)
この特許をJ-PlatPat(特許庁公式サイト)で参照する
関連特許
日本電気株式会社
監視装置
7日前
日本電気株式会社
監視装置
7日前
日本電気株式会社
管理装置
7日前
日本電気株式会社
海底分岐装置
8日前
日本電気株式会社
光集積回路素子
12日前
日本電気株式会社
レーザモジュール
13日前
日本電気株式会社
超伝導量子回路装置
13日前
日本電気株式会社
受信器および通信装置
14日前
日本電気株式会社
送信装置および通信装置
19日前
日本電気株式会社
システム、装置及び方法
13日前
日本電気株式会社
通信装置および通信方法
19日前
日本電気株式会社
光伝送システムおよび方法
15日前
日本電気株式会社
ラインカード及びイジェクタ
5日前
日本電気株式会社
制御装置、プログラム及び方法
13日前
日本電気株式会社
兆候検知装置および兆候検知方法
15日前
日本電気株式会社
演算処理装置および演算処理方法
15日前
日本電気株式会社
推定装置、推定方法及びプログラム
13日前
日本電気株式会社
放送用システムおよび字幕作成方法
15日前
日本電気株式会社
端末、端末の制御方法及びプログラム
5日前
日本電気株式会社
ソーナー装置、通信方法、プログラム
15日前
日本電気株式会社
情報処理装置、制御方法及び記憶媒体
13日前
日本電気株式会社
レコメンド装置およびレコメンド方法
1日前
日本電気株式会社
判別装置、判別方法、およびプログラム
15日前
日本電気株式会社
安否確認支援装置、方法及びプログラム
8日前
日本電気株式会社
注文端末、注文受付方法及びプログラム
19日前
日本電気株式会社
学習装置、学習方法及び学習プログラム
13日前
日本電気株式会社
動作認識装置、動作認識方法、プログラム
15日前
日本電気株式会社
性能監視装置、性能監視方法、プログラム
19日前
日本電気株式会社
通信システム、通信方法及び、プログラム
19日前
日本電気株式会社
情報処理装置、情報処理方法及びプログラム
13日前
日本電気株式会社
処理システム、処理方法、およびプログラム
今日
日本電気株式会社
追跡支援装置、追跡支援方法及びプログラム
12日前
日本電気株式会社
情報処理装置、計算方法、およびプログラム
13日前
日本電気株式会社
追跡支援装置、追跡支援方法及びプログラム
12日前
日本電気株式会社
情報処理装置、提示方法、およびプログラム
13日前
日本電気株式会社
情報表示装置、情報表示方法及びプログラム
19日前
続きを見る
他の特許を見る