TOP
|
特許
|
意匠
|
商標
特許ウォッチ
Twitter
他の特許を見る
10個以上の画像は省略されています。
公開番号
2025140794
公報種別
公開特許公報(A)
公開日
2025-09-29
出願番号
2024040378
出願日
2024-03-14
発明の名称
液体吐出ヘッド及び液体吐出ユニット及び液体吐出装置
出願人
株式会社リコー
代理人
個人
主分類
B41J
2/14 20060101AFI20250919BHJP(印刷;線画機;タイプライター;スタンプ)
要約
【課題】簡単な工程でノズルプレートの着脱が可能であると共に、組立精度及び固定性を向上すること可能な液体吐出ヘッド及びこれを備えた液体吐出ユニット及び液体吐出装置を提供する。
【解決手段】装置本体35と、液体を吐出する複数のノズル31aが配列されたノズルプレート31と、ノズル31aを開閉する開閉部材11と、開放位置と閉塞位置との間で開閉部材11を変位させるアクチュエーター13を有する変位機構14と、装置本体35とノズルプレート31との間に配置された封止部材36と、装置本体35とノズルプレート31とを封止部材36を介して接合した後、装置本体35に対してノズルプレート31を固定する固定部材42と、を備え、装置本体35とノズルプレート31との接合後、固定部材42を装置本体35に対してスライド係合させることにより、ノズルプレート31を装置本体35に対して取り外し可能に固定する液体吐出ヘッド30。
【選択図】図15
特許請求の範囲
【請求項1】
装置本体と、
液体を吐出する複数のノズルが配列されたノズル列を有するノズルプレートと、
前記ノズルを開閉する開閉部材と、
前記ノズルを開放する開放位置と前記ノズルを閉塞する閉塞位置との間で前記開閉部材を変位させるアクチュエーターを備え、前記アクチュエーターの変位に連動して前記開閉部材を変位させる変位機構と、
前記装置本体と前記ノズルプレートとの間に配置された封止部材と、
前記装置本体と前記ノズルプレートとを前記封止部材を介して接合した後、前記装置本体に対して前記ノズルプレートを固定する固定部材と、
を備え、
前記装置本体と前記ノズルプレートとの接合後、前記固定部材を前記装置本体に対してスライド係合させることにより、前記ノズルプレートを前記装置本体に対して取り外し可能に固定する液体吐出ヘッド。
続きを表示(約 1,300 文字)
【請求項2】
請求項1記載の液体吐出ヘッドにおいて、
前記液体の吐出方向と直交する方向における、前記装置本体に対する前記ノズルプレートの位置決めを行う第1位置決め部を有することを特徴とする液体吐出ヘッド。
【請求項3】
請求項1記載の液体吐出ヘッドにおいて、
前記液体の吐出方向と同方向における、前記装置本体に対する前記ノズルプレートの位置決めを行う第2位置決め部を有することを特徴とする液体吐出ヘッド。
【請求項4】
請求項1記載の液体吐出ヘッドにおいて、
前記スライド係合の完了時に、前記装置本体に対する前記固定部材の固定を行う固定部を有することを特徴とする液体吐出ヘッド。
【請求項5】
請求項3記載の液体吐出ヘッドにおいて、
前記第2位置決め部は、複数の係合部及び前記複数の係合部にそれぞれ対応して設けられ前記複数の係合部がそれぞれ係合する複数の被係合部を有することを特徴とする液体吐出ヘッド。
【請求項6】
請求項5記載の液体吐出ヘッドにおいて、
前記複数の係合部はそれぞれ異なる長さを有し、前記スライド係合時に前記複数の係合部はそれぞれ対応する前記複数の被係合部に対して順次係合することを特徴とする液体吐出ヘッド。
【請求項7】
請求項1記載の液体吐出ヘッドにおいて、
前記ノズルプレートが前記固定部材を有することを特徴とする液体吐出ヘッド。
【請求項8】
請求項1記載の液体吐出ヘッドにおいて、
前記液体の吐出方向と直交する方向における、前記装置本体に対する前記ノズルプレートの位置決めを行う第1位置決め部と、
前記液体の吐出方向と同方向における、前記装置本体に対する前記ノズルプレートの位置決めを行う第2位置決め部と、
前記スライド係合の完了時に、前記装置本体に対する前記固定部材の固定を行う固定部と、を備え、
前記第2位置決め部は、それぞれ長さが異なる複数の係合部及び前記複数の係合部にそれぞれ対応して設けられ前記複数の係合部がそれぞれ係合する複数の被係合部を有し、
前記ノズルプレートの交換時において、
前記固定部材を前記スライド係合とは逆方向に変位させ、前記固定部の解除及び前記複数の係合部と前記複数の被係合部との解除を行い、前記固定部材を前記装置本体から離脱させて前記ノズルプレートを前記装置本体から離脱させ、
新たなノズルプレートを前記装置本体に前記封止部材を介して接合した後、前記固定部材を前記装置本体に対してスライド係合させることにより、前記ノズルプレートを前記装置本体に対して装着することを特徴とする液体吐出ヘッド。
【請求項9】
請求項1記載の液体吐出ヘッドにおいて、
前記装置本体に対する前記ノズルプレートの固定位置を表示する表示部を有することを特徴とする液体吐出ヘッド。
【請求項10】
請求項2記載の液体吐出ヘッドにおいて、
前記第1位置決め部は前記装置本体と前記ノズルプレートとの接合をガイドすることを特徴とする液体吐出ヘッド。
(【請求項11】以降は省略されています)
発明の詳細な説明
【技術分野】
【0001】
本発明は、液体吐出ヘッド及び液体吐出ユニット及び液体吐出装置に関する。
続きを表示(約 4,400 文字)
【背景技術】
【0002】
近年では生産性向上の観点から、複数のノズルを有するマルチノズルヘッドの開発が進められている。このようなマルチノズルヘッドの一例として、液体を吐出する複数のノズルが配列されたノズル列を有するノズルプレートと、ノズルを開閉する弁部材と、ノズルを開放する開放位置とノズルを閉塞する閉鎖位置との間で弁部材を変位移動させる変位機構とを有する複数の液体吐出ユニットとを備えた液体吐出ヘッドが知られている(例えば「特許文献1」参照)。
「特許文献1」には、アクチュエーターと、回動自在に支持されアクチュエーターの変位に連動して弁部材を移動させるアーム部材と、を備えた変位機構を備え、ノズル配列方向に互い違いに配列された複数の液体吐出ユニットが開示されている。この構成により、高粘度の液体を大きな液滴で飛ばせるため、産業用印刷等の需要が見込まれる。
【0003】
上述のマルチノズルヘッドの他の例として、「特許文献2」に開示された技術が知られている。この技術では、交換されるマルチノズルヘッドを用いて安定して液滴を吐出することができるとあり、マルチノズルヘッドのノズルプレートであるプレート部は装置本体である装着部に対して治具及び接着剤等を用いて装着されている。このため、摩耗や損傷等によりノズルプレートを交換する際に、ノズルプレートのみを交換することができずアッセンブリーとして装置本体共々交換する必要があり、コストアップしてしまうという問題点がある。
「特許文献3」には、装置本体である本体環状部に対してボルトにより着脱自在に構成されたノズルである吐出口を備えたノズルプレートであるノズル部を備えた塗布ヘッドが開示されている。
【発明の概要】
【発明が解決しようとする課題】
【0004】
「特許文献1」及び「特許文献2」に記載された技術を「特許文献3」に記載された技術に適用することにより、装置本体に対して着脱自在なノズルプレートを備えた液体吐出ヘッドを提供することができ、コストアップを抑制できる。しかし上述の構成では、装置本体に対してノズルプレートがねじ固定であるため、ノズルプレートの交換作業の際に、装置本体に対するノズルプレートの位置決め工程と、装置本体に対するノズルプレートの固定工程との2工程を行う必要があった。また、締結部に塗料や異物等が侵入すると、固定が不完全になると共に組立精度が低下するという問題点があった。
本発明は、上述した問題点を解決し、簡単な工程でノズルプレートの着脱が可能であると共に、組立精度及び固定性を向上すること可能な液体吐出ヘッド及びこれを備えた液体吐出ユニット及び液体吐出装置の提供を目的とする。
【課題を解決するための手段】
【0005】
請求項1記載の発明は、装置本体と、液体を吐出する複数のノズルが配列されたノズル列を有するノズルプレートと、前記ノズルを開閉する開閉部材と、前記ノズルを開放する開放位置と前記ノズルを閉塞する閉塞位置との間で前記開閉部材を変位させるアクチュエーターを備え、前記アクチュエーターの変位に連動して前記開閉部材を変位させる変位機構と、前記装置本体と前記ノズルプレートとの間に配置された封止部材と、前記装置本体と前記ノズルプレートとを前記封止部材を介して接合した後、前記装置本体に対して前記ノズルプレートを固定する固定部材と、を備え、前記装置本体と前記ノズルプレートとの接合後、前記固定部材を前記装置本体に対してスライド係合させることにより、前記ノズルプレートを前記装置本体に対して取り外し可能に固定することを特徴とする。
【発明の効果】
【0006】
本発明によれば、簡単な工程でノズルプレートの着脱が可能であると共に、組立精度及び固定性を向上すること可能な液体吐出ヘッドを提供できる。
【図面の簡単な説明】
【0007】
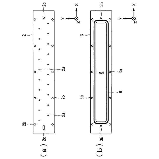
本発明の一実施形態を適用可能な液体吐出ヘッドの概略斜視図である。
本発明の一実施形態を適用可能な液体吐出ヘッドのノズルプレートのノズル配列を説明する概略図である。
本発明の一実施形態を適用可能な液体吐出ヘッドのノズルプレートと流路部材とを説明する概略図である。
本発明の一実施形態を適用可能な液体吐出ヘッドの液体吐出機構を説明する図1におけるA-A断面図である。
本発明の一実施形態を適用可能な液体吐出ヘッドの液体吐出機構を説明する図4の部分拡大図である。
本発明の一実施形態を適用可能な液体吐出ヘッドの液体吐出機構を説明する図5のF部の部分拡大図である。
本発明の一実施形態を適用可能な液体吐出ヘッドの液体吐出機構を説明する図4におけるB-B断面図である。
本発明の一実施形態を適用可能な液体吐出ヘッドの液体吐出機構を説明する図4におけるC-C断面図である。
本発明の一実施形態を適用可能な液体吐出ヘッドに用いられるアーム部材の概略図である。
本発明の一実施形態に係る液体吐出ヘッドの概略断面図である。
本発明の一実施形態に用いられるニードル弁及びノズルプレートを示す概略図である。
本発明の一実施形態における装置本体とノズルプレートとの接合部の一例を示す概略図である。
本発明の一実施形態に用いられるノズルプレートの装置本体との接合面を示す概略図である。
本発明の一実施形態に用いられる装置本体のノズルプレートとの接合面を示す概略図である。
本発明の第1の実施形態に用いられる装置本体とノズルプレートと固定部材の固定状態を説明する概略図である。
本発明の第1の実施形態に用いられる固定部材によるノズルプレートの装置本体に対する固定状態を説明する概略底面図である。
本発明の第1の実施形態に用いられる固定部材の装置本体に対する固定状態を説明する概略図である。
本発明の第2の実施形態に用いられる固定部材による装置本体とノズルプレートとの固定状態を説明する概略図である。
本発明の他の実施形態における固定部材による装置本体とノズルプレートとの固定状態を説明する概略図である。
本発明の各実施形態の変形例における第1位置決め部による開閉部材の位置決め工程を説明する概略図である。
本発明の第3の実施形態に用いられるノズルプレートを説明する概略図である。
本発明の第4の実施形態に用いられる装置本体及びノズルプレート及び固定部材を説明する概略図である。
本発明の第5の実施形態に用いられるノズルプレートを説明する概略斜視図である。
本発明の第5の実施形態における装置本体に対するノズルプレートのスライド係合を説明する概略図である。
本発明の各実施形態の変形例に用いられるニードル弁及びノズルプレートを示す概略図である。
本発明の各実施形態におけるノズルプレートの交換作業手順を説明するフローチャートである。
本発明の各実施形態に係る液体吐出ヘッドを備えた液体吐出装置を説明する概略図である。
図27に示す液体吐出装置が備える複数の液体吐出ヘッドに液体である塗料を供給する供給装置の一例を示す概略図である。
本発明の各実施形態に係る液体吐出ヘッドを備えた他の液体吐出装置の概略正面図である。
本発明の各実施形態に係る液体吐出ヘッドを備えた他の液体吐出装置の液体吐出ユニットを説明する概略平面図である。
本発明の各実施形態に係る液体吐出ヘッドを備えたさらに他の液体吐出装置の概略平面図である。
本発明の各実施形態に係る液体吐出ヘッドを備えたさらに他の液体吐出装置の概略側面図である。
本発明の各実施形態に係る液体吐出ヘッドを備えたさらに他の液体吐出装置の液体吐出ユニットを説明する概略平面図である。
本発明の各実施形態に係る液体滴吐出ヘッドを備えたさらに他の液体吐出装置の他の液体吐出ユニットを説明する概略正面図である。
本発明の各実施形態に係る液体吐出ヘッドを備えたさらに他の液体吐出装置である電極の製造装置の概略正面図である。
【発明を実施するための形態】
【0008】
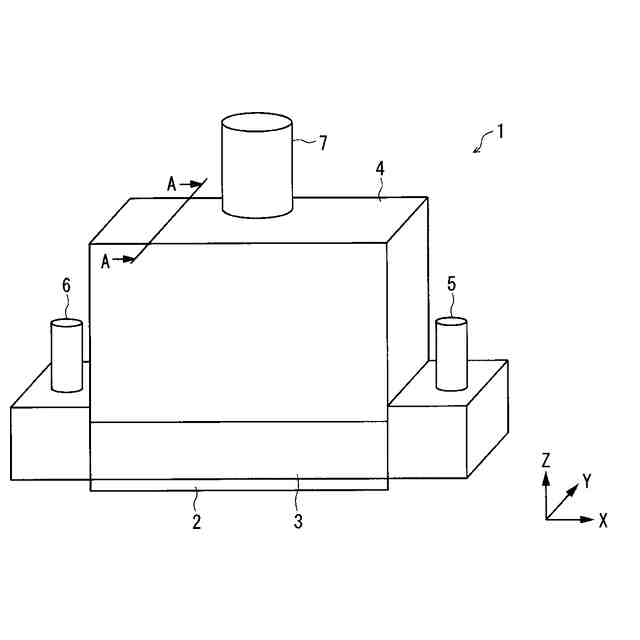
図1は、本発明を適用可能な液体吐出ヘッド1の概略斜視図である。以下の説明において、液体吐出ヘッド1の長手方向であるノズル配列方向において左方から右方に向かう方向をX方向、液体吐出ヘッド1の奥行き方向において手前側から奥側に向かう方向をY方向、鉛直上向きの方向をZ方向として説明する。なお、表記の方向をプラス方向として示し、逆向きの方向をマイナス方向として示す。
【0009】
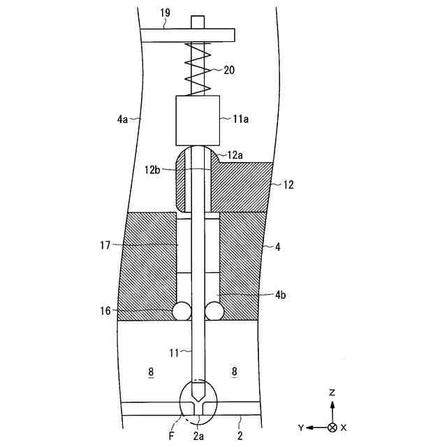
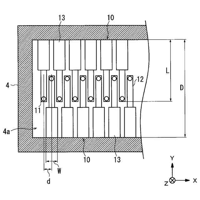
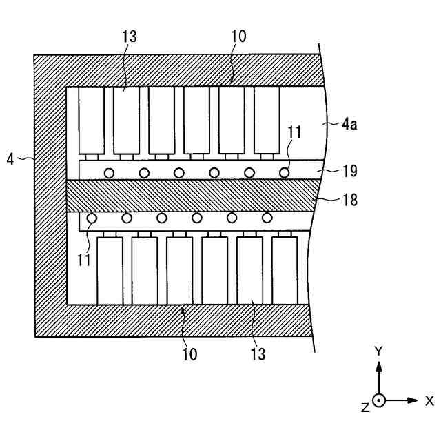
液体吐出ヘッド1は、ノズルプレート2、流路部材3、カバー4を有している。流路部材3のプラスX方向側端部には液体が供給される供給ポート5が設けられており、流路部材3のマイナスX方向側端部には液体が排出される排出ポート6が設けられている。カバー4の上部には、カバー4に収容されている後述するアクチュエーター13と通信を行うためのハーネスを通すハーネス通し孔7が設けられている。
ノズルプレート2、流路部材3、カバー4は金属あるいは樹脂あるいはセラミックから構成されており、カバー4はその内部に後述する液体吐出機構10(図4参照)を収容保持している。流路部材3は液体が流れる流路を画定し、ノズルプレート2は液体を吐出させる複数のノズル2a(図2参照)を有する。ノズルプレート2は流路部材3に機械的に固定され、カバー4は流路部材3に着脱自在に固定されている。ノズルプレート2は流路部材3に対して、接着により取り外し不可の状態で固定される場合と、ねじ止めによって着脱可能に取り付けられる場合とがある。
【0010】
図2は、ノズルプレート2のノズル配列について説明する概略図であり、ノズルプレート2をノズル面側から見た図である。ノズルプレート2としては、図2(a)に示すようにY方向の中央にノズル列を1列設ける構成や、図2(b)に示すようにY方向にノズル列を千鳥状で2列に設ける構成を採用できる。図2に示したノズル2aの配列は一例を挙げたものであり、例えばY方向に2列のノズル列を千鳥状に2組設けて合計4列のノズル列を有する構成や、X方向に同じ位置のノズル列を複数有するノズル列とする構成としてもよい。以下に説明する液体吐出ヘッド1は、図2(b)に示す構成を採用している。
(【0011】以降は省略されています)
この特許をJ-PlatPat(特許庁公式サイト)で参照する
関連特許
株式会社リコー
画像形成装置
3日前
株式会社リコー
機器及び異常判定方法
3日前
株式会社リコー
画像形成装置及びシステム
1日前
株式会社リコー
定着装置、及び画像形成装置
3日前
株式会社リコー
表示装置、切替方法、プログラム
8日前
株式会社リコー
シート給送装置及び画像形成システム
4日前
株式会社リコー
通信装置、通信方法、及びプログラム
1日前
株式会社リコー
通信端末、通信方法、及びプログラム
1日前
株式会社リコー
加熱装置、定着装置及び画像形成装置
2日前
株式会社リコー
光源装置、画像投影装置および調整方法
8日前
株式会社リコー
通信装置、状態制御方法、及びプログラム
4日前
株式会社リコー
画像形成装置、情報処理方法及びプログラム
1日前
株式会社リコー
画像形成装置、及び、プロセスカートリッジ
8日前
株式会社リコー
画像読取装置、画像判定方法およびプログラム
1日前
株式会社リコー
画像形成装置、情報処理方法およびプログラム
2日前
株式会社リコー
モノクロ用光走査装置及びモノクロ画像形成装置
1日前
株式会社リコー
情報処理装置、画面作成方法、プログラム、及び情報処理システム
2日前
株式会社リコー
表示装置、表示方法、プログラム
8日前
株式会社リコー
画像処理装置、方法、およびプログラム
8日前
株式会社リコー
情報処理システム、情報処理方法およびプログラム
10日前
株式会社リコー
通信端末、取引システム、表示方法、及びプログラム
3日前
株式会社リコー
情報処理システム、サービス提供システム、設定方法
10日前
株式会社リコー
通信端末、画像通信システム、表示方法、及びプログラム
8日前
株式会社リコー
情報処理システム、サーバ、情報処理方法、及びプログラム
8日前
株式会社リコー
情報処理装置、サービス提供システム、方法およびプログラム
11日前
株式会社リコー
電子機器、情報処理システム、情報処理方法およびプログラム
11日前
株式会社リコー
情報提供装置、情報処理システム、情報提供方法、及びプログラム
10日前
株式会社リコー
情報処理装置、プログラム、Webアプリケーション管理方法及び情報処理システム
8日前
株式会社リコー
電子写真画像形成用キャリア、電子写真画像形成用現像剤、電子写真画像形成方法、電子写真画像形成装置、及びプロセスカートリッジ
2日前
個人
箔熱転写装置
1か月前
シヤチハタ株式会社
印判
5か月前
東レ株式会社
凸版印刷版原版
10か月前
シヤチハタ株式会社
反転式印判
9か月前
三光株式会社
感熱記録材料
6か月前
独立行政法人 国立印刷局
印刷物
7か月前
キヤノン株式会社
記録装置
1か月前
続きを見る
他の特許を見る