TOP
|
特許
|
意匠
|
商標
特許ウォッチ
Twitter
他の特許を見る
公開番号
2025140387
公報種別
公開特許公報(A)
公開日
2025-09-29
出願番号
2024039751
出願日
2024-03-14
発明の名称
水栓接続構造
出願人
SANEI株式会社
代理人
弁理士法人岡田国際特許事務所
主分類
E03C
1/042 20060101AFI20250919BHJP(上水;下水)
要約
【課題】互いに動力伝達可能に接続される2つの操作軸が互いに管接続される2つのケース内に分かれて通されていても、これらをがた抑えした状態に接続できるようにすること。
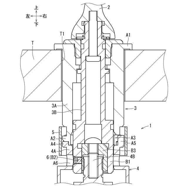
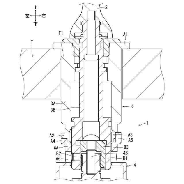
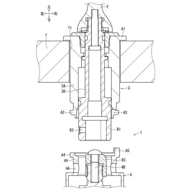
【解決手段】水栓接続構造1は、切替ハンドル2により回転操作される第1操作軸3Bと、第1操作軸3Bと接続される第2操作軸4Bと、第1操作軸3Bを管軸方向に通す管状の第1ケース3Aと、第2操作軸4Bを管軸方向に通すと共に第1ケース3Aと管軸方向に接続される管状の第2ケース4Aと、を有する。第1操作軸3Bは、第2操作軸4Bを第1ケース3Aと第2ケース4Aとの管接続に伴い筒内部に嵌合させる嵌合筒部B1を有する。また、水栓接続構造1は、第2ケース4Aに形成される通し孔A6と嵌合筒部B1に形成されるねじ孔B2とに管径方向の外側から差し込まれて、嵌合筒部B1に嵌合された第2操作軸4Bに押し付けられるように締め付けられる止めねじ6を有する。
【選択図】図7
特許請求の範囲
【請求項1】
操作部材により回転操作される第1操作軸と、該第1操作軸と軸方向に嵌合される第2操作軸と、を有する水栓接続構造であって、
前記第1操作軸を管軸方向に通す管状の第1ケースと、
前記第2操作軸を管軸方向に通すと共に、前記第1ケースと管軸方向に接続される管状の第2ケースと、
前記第1操作軸及び前記第2操作軸のうちの一方に形成され、他方を前記第1ケースと前記第2ケースとの管接続に伴い筒内部に嵌合させる嵌合筒部と、
前記第1ケース及び/又は前記第2ケースに形成される通し孔と前記嵌合筒部に形成されるねじ孔とに管径方向の外側から差し込まれ、前記嵌合筒部に嵌合された前記他方に押し付けられるように前記ねじ孔に締め付けられる止めねじと、を有する水栓接続構造。
続きを表示(約 510 文字)
【請求項2】
請求項1に記載の水栓接続構造であって、
前記第1ケースと前記第2ケースとを互いに管軸方向に一体的となるように接続するクイックファスナを更に有する水栓接続構造。
【請求項3】
請求項2に記載の水栓接続構造であって、
前記通し孔と前記ねじ孔とが、前記クイックファスナの装着位置から管軸方向に外れた位置に形成される水栓接続構造。
【請求項4】
請求項1から請求項3のいずれかに記載の水栓接続構造であって、
前記第1ケースが、該第1ケースを固定するための水栓カウンタに形成された取付孔にカウンタ表側から通されるようにセットされ、前記第2ケースが、前記水栓カウンタのカウンタ裏側において前記第1ケースと管接続される水栓接続構造。
【請求項5】
請求項1から請求項3のいずれかに記載の水栓接続構造であって、
前記第1ケースと前記第2ケースとが、そのいずれか片方に形成されたキーがもう片方に形成されたキー溝に管軸方向に嵌合される位置合わせにより、前記通し孔と前記ねじ孔との回転方向の位置が合わされるように位置決めされる水栓接続構造。
発明の詳細な説明
【技術分野】
【0001】
本発明は、水栓接続構造に関する。詳しくは、操作部材により回転操作される第1操作軸と、第1操作軸と軸方向に嵌合される第2操作軸と、を有する水栓接続構造に関する。
続きを表示(約 1,400 文字)
【背景技術】
【0002】
特許文献1には、水栓用ハンドルにより回転操作される第1操作軸を出力側の第2操作軸に対して操作力の伝達を行えるように接続する水栓接続構造が開示されている。具体的には、第1操作軸は、第2操作軸に対して、軸方向にセレーション嵌合される。
【0003】
更に、第1操作軸に半径方向の外側から止めねじが差し込まれて、内側の第2操作軸に押し付けられるように締め付けられる。この締め付けにより、第1操作軸が第2操作軸に半径方向や回転方向にがた抑えされた状態に接続される。
【先行技術文献】
【特許文献】
【0004】
特許第4410358号公報
【発明の概要】
【発明が解決しようとする課題】
【0005】
特許文献1に記載の構成では、第1操作軸と第2操作軸とが互いに管接続される管状の各ケース内に分かれて通されている場合、嵌合後に管外部からがた抑えすることが難しくなる。そこで、本発明は、互いに動力伝達可能に接続される2つの操作軸が互いに管接続される2つのケース内に分かれて通されていても、これらを適切にがた抑えした状態に接続できる水栓接続構造を提供する。
【課題を解決するための手段】
【0006】
上記課題を解決するために、本発明の水栓接続構造は、次の手段をとる。
【0007】
すなわち、本発明の第1の発明は、操作部材により回転操作される第1操作軸と、該第1操作軸と軸方向に嵌合される第2操作軸と、を有する水栓接続構造であって、前記第1操作軸を管軸方向に通す管状の第1ケースと、前記第2操作軸を管軸方向に通すと共に、前記第1ケースと管軸方向に接続される管状の第2ケースと、前記第1操作軸及び前記第2操作軸のうちの一方に形成され、他方を前記第1ケースと前記第2ケースとの管接続に伴い筒内部に嵌合させる嵌合筒部と、前記第1ケース及び/又は前記第2ケースに形成される通し孔と前記嵌合筒部に形成されるねじ孔とに管径方向の外側から差し込まれ、前記嵌合筒部に嵌合された前記他方に押し付けられるように前記ねじ孔に締め付けられる止めねじと、を有する水栓接続構造である。
【0008】
第1の発明によれば、第1ケースと第2ケースとの管接続に伴い、これらの管内に通されている第1操作軸と第2操作軸とが互いに軸方向に嵌合される。この接続後に、止めねじを第1ケース及び/又は第2ケースに形成された通し孔から嵌合筒部のねじ孔に通して、嵌合筒部内に嵌合された他方に押し付けるように締め付ける。それにより、第1操作軸に対する第2操作軸の半径方向や回転方向のがたを適切に抑えることができる。
【0009】
本発明の第2の発明は、上記第1の発明において、前記第1ケースと前記第2ケースとを互いに管軸方向に一体的となるように接続するクイックファスナを更に有する水栓接続構造である。
【0010】
第2の発明によれば、第1ケースと第2ケースとをこれらの外周部間にクイックファスナを被せて接続する構成としても、これらの管内で嵌合される第1操作軸と第2操作軸とを管外から差し込まれる止めねじにより適切にがた抑えすることができる。
(【0011】以降は省略されています)
この特許をJ-PlatPat(特許庁公式サイト)で参照する
関連特許
個人
蛇口
5か月前
丸一株式会社
排水配管部材
3日前
株式会社田中設備
蓋体
1か月前
TOTO株式会社
トイレ装置
1か月前
個人
ドクター中まミズつクル
2か月前
一文機工株式会社
トイレ装置
8日前
株式会社タカギ
水栓装置
4か月前
TOTO株式会社
排水システム
1か月前
TOTO株式会社
排水システム
1か月前
株式会社KVK
水栓
2か月前
タイガースポリマー株式会社
側溝
2か月前
株式会社KVK
水栓
1か月前
株式会社KVK
水栓
2か月前
株式会社KVK
水栓
2か月前
ミサワホーム株式会社
外構
1か月前
TOTO株式会社
便座装置
2か月前
TOTO株式会社
トイレ装置
2か月前
TOTO株式会社
トイレ装置
2か月前
TOTO株式会社
トイレ装置
2か月前
株式会社タカギ
水栓装置
4か月前
株式会社大林組
雨水桝蓋
5か月前
ホーコス株式会社
床置型グリース阻集器
2か月前
TOTO株式会社
浴室床
3か月前
クリナップ株式会社
キッチン
1か月前
TOTO株式会社
洗面器及び洗面台
2か月前
TOTO株式会社
洗面器及び洗面台
2か月前
三興建設株式会社
下水道バイパス装置
3か月前
株式会社Deto
吐水器
1か月前
TOTO株式会社
洗い場床
3か月前
TOTO株式会社
トイレ装置
4か月前
共立製薬株式会社
小便器用排水システム
2日前
TOTO株式会社
排水管継手
3か月前
TOTO株式会社
排水管継手
3か月前
丸一株式会社
排水装置及び封水形成部材
5か月前
TOTO株式会社
トイレ装置
4か月前
株式会社LIXIL
便器装置
2か月前
続きを見る
他の特許を見る