TOP
|
特許
|
意匠
|
商標
特許ウォッチ
Twitter
他の特許を見る
公開番号
2025140269
公報種別
公開特許公報(A)
公開日
2025-09-29
出願番号
2024039563
出願日
2024-03-14
発明の名称
栽培装置
出願人
大和ハウス工業株式会社
代理人
個人
,
個人
主分類
A01G
31/00 20180101AFI20250919BHJP(農業;林業;畜産;狩猟;捕獲;漁業)
要約
【課題】空気層の温度の低下を抑制することができる栽培装置を提供する。
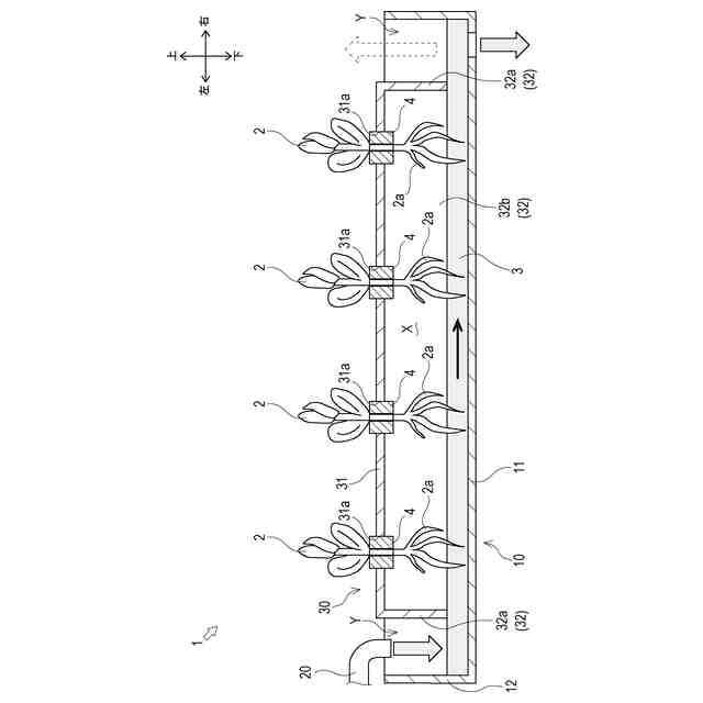
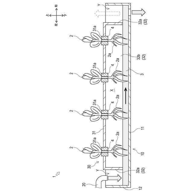
【解決手段】養液3を貯留する栽培ベッド10と、栽培ベッド10内に配置され、植物2が前記養液3を吸収可能なように植物2を支持する栽培パネル30~30Cと、を具備し、栽培パネル30~30Cは、栽培ベッド10内の養液3との間に空気層Xが形成されるように、養液3よりも上方に配置され、植物2の根2aの先端側を養液3に浸すと共に、根2aの一部を空気層Xに位置させるように、植物2が植栽される植栽部31と、植栽部31から延出し、空気層Xの側方を閉塞可能な閉塞部32と、を具備するものである。
【選択図】図1
特許請求の範囲
【請求項1】
水耕栽培によって植物を栽培する栽培装置であって、
養液を貯留する貯留部と、
前記貯留部内に配置され、前記植物が前記養液を吸収可能なように前記植物を支持する支持部と、
を具備し、
前記支持部は、
前記貯留部内の前記養液との間に空気層が形成されるように、前記養液よりも上方に配置され、前記植物の根の先端側を前記養液に浸すと共に、前記根の一部を前記空気層に位置させるように、前記植物が植栽される植栽部と、
前記植栽部から延出し、前記空気層の側方を閉塞可能な閉塞部と、
を具備する、
栽培装置。
続きを表示(約 1,000 文字)
【請求項2】
前記閉塞部は、
延出方向先端部が、前記貯留部内の前記養液の液面以下に位置するように形成されている、
請求項1に記載の栽培装置。
【請求項3】
前記植栽部は、
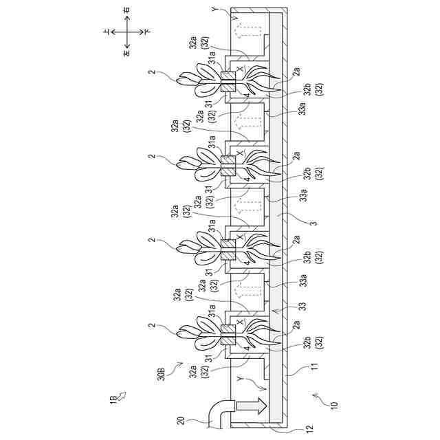
複数の前記植物を植栽可能であり、複数の前記植物の前記根が、前記空気層に位置するように形成されている、
請求項1に記載の栽培装置。
【請求項4】
前記閉塞部は、前記空気層の側方の全体を閉塞するように形成されている、
請求項1又は請求項2に記載の栽培装置。
【請求項5】
前記貯留部は、
当該貯留部の内部空間の側方を区画する側壁部を具備し、
前記閉塞部は、
前記側壁部の一部とによって、前記空気層を閉塞可能に形成されている、
請求項1に記載の栽培装置。
【請求項6】
前記植栽部は、
複数設けられ、
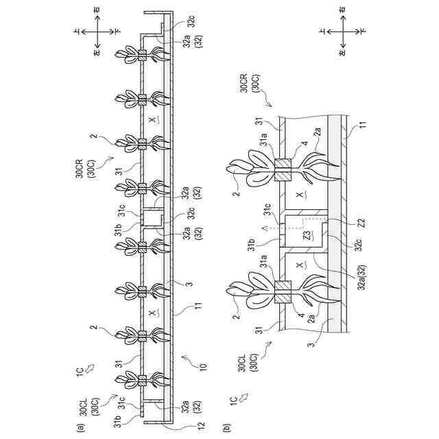
前記閉塞部は、
複数の前記空気層の側方を閉塞するように、複数の前記植栽部からそれぞれ延出するように複数設けられる、
請求項1に記載の栽培装置。
【請求項7】
前記支持部は、
複数の前記閉塞部同士を接続すると共に、下面が前記貯留部内の前記養液の液面以下に位置する接続部を具備し、
前記接続部には、前記養液を、前記栽培装置の外部に対して露出させる孔部が形成されている、
請求項5に記載の栽培装置。
【請求項8】
前記支持部は、
前記貯留部内において、互いに並列するように複数設けられ、
並列方向の一方側の端部には、前記一方側に向かって延出する第一部分が形成され、
前記並列方向の他方側の端部には、前記第一部分とは異なる高さで、前記他方側に向かって延出する第二部分が形成され、
複数の前記支持部が並列した状態で、前記一方側の前記支持部の前記第二部分と、前記他方側の前記支持部の前記第一部分と、の少なくとも一部が互いに重複するように配置され、
互いに重複した前記第一部分及び前記第二部分は、
平面視において前記養液が、前記栽培装置の外部に対して露出しないように前記養液を覆うと共に、前記養液と前記栽培装置の外部とを連通させる連通経路を形成する、
請求項1に記載の栽培装置。
発明の詳細な説明
【技術分野】
【0001】
本発明は、植物の栽培装置の技術に関する。
続きを表示(約 1,100 文字)
【背景技術】
【0002】
従来、水耕栽培によって植物を栽培する技術は公知となっている。例えば、特許文献1に記載の如くである。
【0003】
特許文献1には、培養液(養液)を用いて植物を栽培する水耕栽培装置が記載されている。特許文献1に記載された水耕栽培装置は、養液が貯留される栽培容器と、栽培容器内の養液の上方に配置され、植物を収容する苗床パレットと、を備えている。上記苗床パレットは、栽培容器内の養液の水面との間には空気層が形成されるように配置されている。上記空気層を設けることで、植物の根から直接的に酸素を吸収させて生育を安定させることができる。
【0004】
ここで、空気層の温度が低下すると、当該空気層に位置する植物の根が損傷するおそれがあることが知られている。特許文献1に記載された水耕栽培装置では、栽培容器の内部のうち、苗床パレットで覆われてない部分(隙間)があり、上記隙間を介して、空気層と水耕栽培装置の外部とが連通している。このため空気層の温度が低下するおそれがある。
【先行技術文献】
【特許文献】
【0005】
特開2016-178887号公報
【発明の概要】
【発明が解決しようとする課題】
【0006】
本発明は、以上の如き状況を鑑みてなされたものであり、その解決しようとする課題は、空気層の温度低下を抑制することができる栽培装置を提供するものである。
【課題を解決するための手段】
【0007】
本発明の解決しようとする課題は以上の如くであり、次にこの課題を解決するための手段を説明する。
【0008】
即ち、請求項1においては、水耕栽培によって植物を栽培する栽培装置であって、養液を貯留する貯留部と、前記貯留部内に配置され、前記植物が前記養液を吸収可能なように前記植物を支持する支持部と、を具備し、前記支持部は、前記貯留部内の前記養液との間に空気層が形成されるように、前記養液よりも上方に配置され、前記植物の根の先端側を前記養液に浸すと共に、前記根の一部を前記空気層に位置させるように、前記植物が植栽される植栽部と、前記植栽部から延出し、前記空気層の側方を閉塞可能な閉塞部と、を具備するものである。
【0009】
請求項2においては、前記閉塞部は、延出方向先端部が、前記貯留部内の前記養液の液面以下に位置するように形成されているものである。
【0010】
請求項3においては、前記植栽部は、複数の前記植物を植栽可能であり、複数の前記植物の前記根が、前記空気層に位置するように形成されているものである。
(【0011】以降は省略されています)
この特許をJ-PlatPat(特許庁公式サイト)で参照する
関連特許
個人
虫捕り器
6日前
個人
巻糸係止具
27日前
個人
刈込鋏保持具
2日前
個人
飼育容器
16日前
個人
後付巻降ろし器
6日前
個人
イカ釣り用ヤエン
6日前
株式会社丹勝
緑化工法
3日前
井関農機株式会社
作業車両
4日前
井関農機株式会社
作業車両
6日前
井関農機株式会社
作業車両
6日前
株式会社シマノ
釣竿
6日前
井関農機株式会社
圃場作業機
27日前
個人
水耕栽培システム
16日前
井関農機株式会社
作業車両
2日前
井関農機株式会社
作業車両
16日前
個人
伸縮する草刈り機の可動装置。
6日前
松山株式会社
農作業機
16日前
松山株式会社
農作業機
2日前
個人
妻面トラス梁付き園芸用ハウス
18日前
トヨタ自動車株式会社
育苗装置
3日前
スガノ農機株式会社
圃場作業装置
3日前
個人
飼育水槽用の浄化装置
10日前
株式会社クボタ
作業車
26日前
トヨタ自動車株式会社
植物栽培装置
25日前
株式会社クボタ
田植機
1か月前
株式会社クボタ
田植機
27日前
株式会社クボタ
田植機
27日前
株式会社クボタ
作業機
26日前
井関農機株式会社
コンバイン
3日前
グローブライド株式会社
魚釣用リール
18日前
株式会社サンメイト
動物用排尿処理材
16日前
高知県種苗緑化協同組合
幼齢木保護具
16日前
株式会社クボタ
圃場作業車
27日前
株式会社和コーポレーション
石灰散布機
9日前
株式会社笑農和
制御装置および送水装置
2日前
大和ハウス工業株式会社
栽培装置
6日前
続きを見る
他の特許を見る