TOP
|
特許
|
意匠
|
商標
特許ウォッチ
Twitter
他の特許を見る
10個以上の画像は省略されています。
公開番号
2025139993
公報種別
公開特許公報(A)
公開日
2025-09-29
出願番号
2024039115
出願日
2024-03-13
発明の名称
チャンバー装置、ハイブリダイズ反応システム、核酸分析システム、及びシール部材
出願人
横河電機株式会社
代理人
個人
,
個人
,
個人
,
個人
主分類
C12M
1/00 20060101AFI20250919BHJP(生化学;ビール;酒精;ぶどう酒;酢;微生物学;酵素学;突然変異または遺伝子工学)
要約
【課題】チャンバー装置の組立性、操作性の改善を目的とする。
【解決手段】チャンバー装置1は、厚み方向に貫通するウェル形成部20が複数形成されたシール部材10と、ウェル形成部20の一端が開口するシール部材10の第1面側に取り付けられ、ウェル形成部20の一端を塞ぐスライドガラス11と、ウェル形成部20の他端が開口するシール部材10の第2面側に取り付けられ、ウェル形成部20の他端を塞ぐDNAアレイ基板と、を備えるチャンバーユニット2と、スライドガラス11、シール部材10、及びDNAアレイ基板が重なる方向に、チャンバーユニット2を着脱可能に挟み込むチャンバーフレーム3と、を備える。
【選択図】図1
特許請求の範囲
【請求項1】
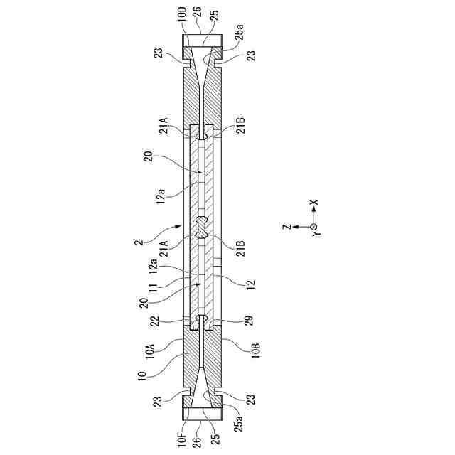
厚み方向に貫通するウェル形成部が複数形成されたシール部材と、
前記ウェル形成部の一端が開口する前記シール部材の第1面側に取り付けられ、前記ウェル形成部の一端を塞ぐ透明部材と、
前記ウェル形成部の他端が開口する前記シール部材の第2面側に取り付けられ、前記ウェル形成部の他端を塞ぐ基板と、
を備えるチャンバーユニットと、
前記透明部材、前記シール部材、及び前記基板が重なる方向に、前記チャンバーユニットを着脱可能に挟み込むチャンバーフレームと、を備える、
チャンバー装置。
続きを表示(約 1,000 文字)
【請求項2】
前記チャンバーフレームは、
前記チャンバーユニットの前記第1面側に当接する第1フレームと、
前記チャンバーユニットの前記第2面側に当接する第2フレームと、
前記第1フレームと前記第2フレームとを回動可能に連結するヒンジ機構と、
前記第1フレームと前記第2フレームとが折り重なった状態で両フレームをロックするロック機構と、を備える、
請求項1に記載のチャンバー装置。
【請求項3】
前記ロック機構は、
前記第1フレーム及び前記第2フレームの一方に回動可能に設けられたラッチと、
前記第1フレーム及び前記第2フレームの他方に設けられ、前記ラッチが係止する被係止部と、を備える、
請求項2に記載のチャンバー装置。
【請求項4】
前記ラッチ及び前記被係止部の少なくも一方の表面には、メッキ処理がされている、
請求項3に記載のチャンバー装置。
【請求項5】
前記ウェル形成部の開口の周縁部には、前記チャンバーユニットが前記チャンバーフレームに挟み込まれたときに、前記基板及び前記透明部材に対し圧縮状態で当接する環状凸部が形成されている、
請求項1~4のいずれか一項に記載のチャンバー装置。
【請求項6】
前記シール部材には、前記ウェル形成部の内壁面から外側面まで延びる第1孔部及び第2孔部が形成されている、
請求項1~4のいずれか一項に記載のチャンバー装置。
【請求項7】
前記ウェル形成部の内壁面には、前記第1孔部と前記第2孔部との間に、段差または壁が形成されている、
請求項6に記載のチャンバー装置。
【請求項8】
前記シール部材に取り付けられ、前記第1孔部及び前記第2孔部を塞ぐ蓋部材を備える、
請求項6に記載のチャンバー装置。
【請求項9】
前記シール部材は、
前記第1面側に形成され、前記透明部材の周縁部と係合する第1係合溝と、
前記第2面側に形成され、前記基板の周縁部と係合する第2係合溝と、を備える、
請求項1~4のいずれか一項に記載のチャンバー装置。
【請求項10】
請求項1~4のいずれか一項に記載のチャンバー装置を用いてハイブリダイズ反応を行う、
ハイブリダイズ反応システム。
(【請求項11】以降は省略されています)
発明の詳細な説明
【技術分野】
【0001】
本発明は、チャンバー装置、ハイブリダイズ反応システム、核酸分析システム、及びシール部材に関するものである。
続きを表示(約 1,200 文字)
【背景技術】
【0002】
下記特許文献1には、上部一体化ガスケット及び下部一体化ガスケットを有するチャンバーフレーム、基板、基板を位置決めし捕捉する基板フレームを含む、チャンバー装置が開示されている。
【0003】
下記特許文献2には、標的物質検出用のプローブの固定領域を有し、該固定領域に資料を反応させるための反応チャンバーと、外部とを連通させる第1の流路および第2の流路とを有する生化学反応カセットに、第1の流路を密閉することが可能である密閉部と、反応チャンバー内の圧力を略一定に保つ圧力緩和手段と、を備える、標的物質検出装置が開示されている。
【先行技術文献】
【特許文献】
【0004】
特表2009-542222号公報
特開2009-082084号公報
【発明の概要】
【発明が解決しようとする課題】
【0005】
上記従来技術は、チャンバー装置の組立性、操作性について改善の余地があった。
【0006】
本発明は、チャンバー装置の組立性、操作性の改善を目的とする。
【課題を解決するための手段】
【0007】
上記の課題を解決するために、本発明の第1の態様によるチャンバー装置は、厚み方向に貫通するウェル形成部が複数形成されたシール部材と、前記ウェル形成部の一端が開口する前記シール部材の第1面側に取り付けられ、前記ウェル形成部の一端を塞ぐ透明部材と、前記ウェル形成部の他端が開口する前記シール部材の第2面側に取り付けられ、前記ウェル形成部の他端を塞ぐ基板と、を備えるチャンバーユニットと、前記透明部材、前記シール部材、及び前記基板が重なる方向に、前記チャンバーユニットを着脱可能に挟み込むチャンバーフレームと、を備える。
【0008】
本発明の第2の態様によるチャンバー装置は、本発明の第1の態様によるチャンバー装置において、前記チャンバーフレームは、前記チャンバーユニットの前記第1面側に当接する第1フレームと、前記チャンバーユニットの前記第2面側に当接する第2フレームと、前記第1フレームと前記第2フレームとを回動可能に連結するヒンジ機構と、前記第1フレームと前記第2フレームとが折り重なった状態で両フレームをロックするロック機構と、を備える。
【0009】
本発明の第3の態様によるチャンバー装置は、本発明の第2の態様によるチャンバー装置において、前記ロック機構は、前記第1フレーム及び前記第2フレームの一方に回動可能に設けられたラッチと、前記第1フレーム及び前記第2フレームの他方に設けられ、前記ラッチが係止する被係止部と、を備える。
【0010】
本発明の第4の態様によるチャンバー装置は、本発明の第3の態様によるチャンバー装置において、前記ラッチ及び前記被係止部の少なくも一方の表面には、メッキ処理がされている。
(【0011】以降は省略されています)
この特許をJ-PlatPat(特許庁公式サイト)で参照する
関連特許
横河電機株式会社
測定器
8日前
横河電機株式会社
藻類培養装置
18日前
横河電機株式会社
温度測定装置
8日前
横河電機株式会社
測定装置及び測定方法
5日前
横河電機株式会社
測定装置および測定方法
1か月前
横河電機株式会社
ベースマップの注釈付け
1か月前
横河電機株式会社
測定方法及び測定システム
8日前
横河電機株式会社
研磨用治具および研磨方法
18日前
横河電機株式会社
装置、方法及びプログラム
8日前
横河電機株式会社
装置、方法およびプログラム
19日前
横河電機株式会社
測定装置および推定システム
1か月前
横河電機株式会社
装置、方法およびプログラム
28日前
横河電機株式会社
光パルス試験器及び測定方法
4日前
横河電機株式会社
フィールド機器及び診断方法
4日前
横河電機株式会社
装置、方法およびプログラム
18日前
横河電機株式会社
装置、方法、およびプログラム
18日前
横河電機株式会社
情報処理装置及び情報処理方法
27日前
横河電機株式会社
水処理システム及び水処理方法
1か月前
横河電機株式会社
装置、方法、およびプログラム
5日前
横河電機株式会社
菌体培養槽および菌体培養方法
6日前
横河電機株式会社
分散制御ノード(DCN)冗長性
4日前
横河電機株式会社
蛍光読取装置および蛍光読取方法
6日前
横河電機株式会社
メタン生成装置及びメタン生成方法
8日前
横河電機株式会社
表面散乱型濁度計及び濁度測定方法
6日前
横河電機株式会社
解析装置、訓練装置およびプログラム
6日前
横河電機株式会社
制御装置、制御システム及び制御方法
1か月前
横河電機株式会社
測定装置、測定方法、及びプログラム
5日前
横河電機株式会社
測定装置、測定方法、及びプログラム
5日前
横河電機株式会社
測定装置、測定方法、及びプログラム
11日前
横河電機株式会社
診断システム、診断装置および診断方法
18日前
横河電機株式会社
一液型組成物、フラン樹脂硬化物及びキット
5日前
横河電機株式会社
評価装置、評価方法、および評価プログラム
18日前
横河電機株式会社
情報処理装置、更新方法及び更新プログラム
5日前
横河電機株式会社
照射装置、照射方法、および照射プログラム
18日前
横河電機株式会社
情報処理装置、情報処理方法及びプログラム
4日前
横河電機株式会社
センサ装置、端末装置、及び、センサシステム
今日
続きを見る
他の特許を見る