TOP
|
特許
|
意匠
|
商標
特許ウォッチ
Twitter
他の特許を見る
10個以上の画像は省略されています。
公開番号
2025139919
公報種別
公開特許公報(A)
公開日
2025-09-29
出願番号
2024039009
出願日
2024-03-13
発明の名称
トリポード型等速自在継手
出願人
NTN株式会社
代理人
個人
,
個人
主分類
F16D
3/205 20060101AFI20250919BHJP(機械要素または単位;機械または装置の効果的機能を生じ維持するための一般的手段)
要約
【課題】ダブルローラタイプのトリポード型等速自在継手において、脚軸とインナリングとの接触面圧の低減、およびローラユニットの傾きの抑制を通じて、耐久性およびNVH特性を改善する。
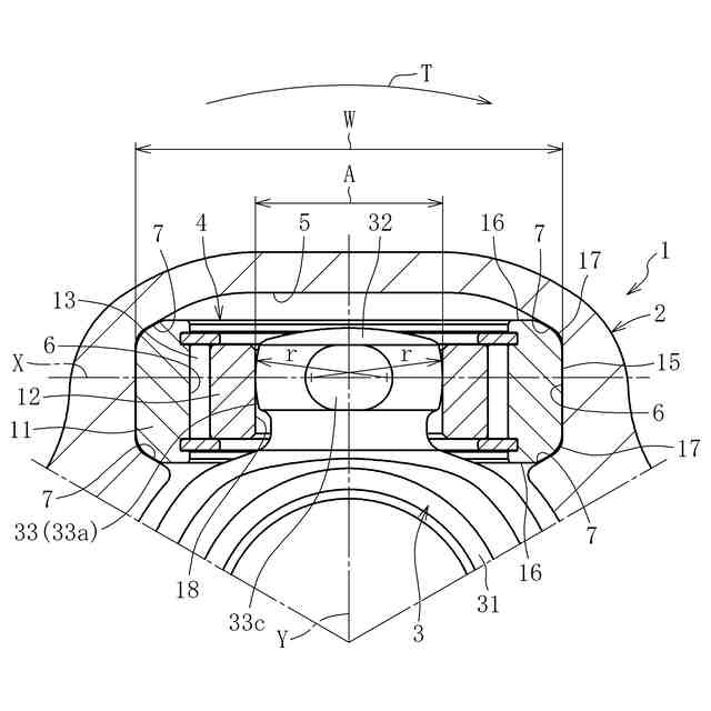
【解決手段】脚軸32の外周面33は、縦断面及び横断面においてトルク伝達方向の両側に膨出した凸曲線を有する。脚軸32の外周面の縦断面における凸曲線の曲率半径が、脚軸32の外周面の最大径部を通る横断面における凸曲線(円弧33b)の曲率半径Rよりも大きい。脚軸32の外周面33の継手軸方向の両側に一組の逃げ部33cを設ける。一組の逃げ部33c間の継手軸方向の距離をFとし、トルク伝達時に脚軸32の外周面33とインナリングの内周面との間に形成される接触楕円の二つの頂点間の継手軸方向の距離の最大値をLmaxとして、Lmax<Fにする。
【選択図】図8
特許請求の範囲
【請求項1】
継手軸方向に延びる三本のトラック溝が内周面に形成され、各トラック溝に、継手円周方向に対向する一対のローラ案内面が設けられた外側継手部材と、前記外側継手部材の内周に配され、前記トラック溝に向けて継手半径方向に突出した三つの脚軸を有するトリポード部材と、前記脚軸の外周に配されたローラ、及び、前記ローラと前記脚軸との間に配されたインナリングを有し、前記脚軸に回転可能且つ揺動可能な状態で支持されると共に前記トラック溝に収容される三つのローラユニットとを備えたトリポード型等速自在継手において、
前記ローラが円筒面状外周面を有し、
各トラック溝の前記一対のローラ案内面を、互いに平行な平坦面とし、
前記ローラ案内面の幅方向両側に、前記ローラにその軸心方向両側から当接可能な一対のガイド面を設け、
前記インナリングが円筒面状内周面を有し、
前記脚軸の外周面が、前記脚軸の軸線を含む縦断面及び前記脚軸の軸線と直交する横断面において、トルク伝達方向両側に膨出した凸曲線を有し、
前記脚軸の外周面の前記横断面における凸曲線が、トルク伝達方向端部から継手軸方向両側に行くほど前記インナリングの円筒面状内周面から離反し、
前記脚軸の外周面の前記縦断面における凸曲線のうち、トルク伝達方向両端における曲率半径(r)が、前記脚軸の外周面の最大径部を通る前記横断面における凸曲線のうち、トルク伝達方向両端における曲率半径(R)よりも大きく、
前記脚軸の外周面の継手軸方向の両側に、前記インナリングの円筒面状内周面との間に継手軸方向の隙間を形成する一組の逃げ部を設け、
前記一組の逃げ部間の継手軸方向の距離をFとし、トルク伝達時に前記脚軸の外周面と前記インナリングの内周面との間に形成される接触楕円の二つの頂点間の継手軸方向の距離の最大値をLmaxとして、Lmax<Fとしたことを特徴とするトリポード型等速自在継手。
続きを表示(約 210 文字)
【請求項2】
前記脚軸の外周面の前記横断面における前記逃げ部を、直線、単一円弧、もしくは複合円弧の何れかの形状とした請求項1に記載のトリポード型等速自在継手。
【請求項3】
Lmax=2R×0.30~0.75とした請求項1に記載のトリポード型等速自在継手。
【請求項4】
前記逃げ部が、トルク伝達方向の両端に、フィレットもしくは面取りを有する請求項1に記載のトリポード型等速自在継手。
発明の詳細な説明
【技術分野】
【0001】
本発明は、トリポード型等速自在継手に関する。
続きを表示(約 2,500 文字)
【背景技術】
【0002】
自動車の動力伝達系で使用されるドライブシャフトにおいては、インボード側(車幅方向の中央側)に摺動式等速自在継手を設け、アウトボード側(車幅方向の外側)に固定式等速自在継手を設ける場合が多い。ここでいう摺動式等速自在継手は、二軸間の角度変位および軸方向相対移動の双方を許容するものであり、固定式等速自在継手は、二軸間での角度変位を許容するが、二軸間の軸方向相対移動は許容しないものである。
【0003】
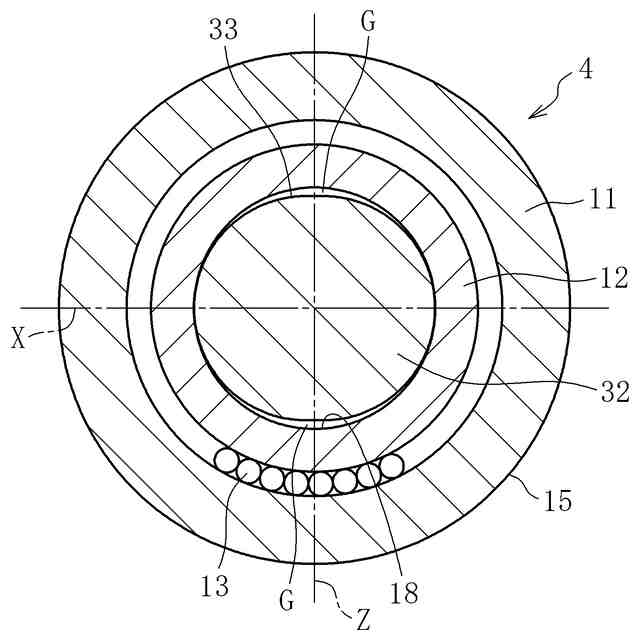
摺動式等速自在継手としてトリポード型等速自在継手が公知である。このトリポード型等速自在継手としては、シングルローラタイプとダブルローラタイプとが存在する。シングルローラタイプのトリポード型等速自在継手は、外側継手部材のトラック溝に挿入されるローラを、トリポード部材の脚軸に複数の針状ころを介して回転可能に取り付けたものである。ダブルローラタイプのトリポード型等速自在継手は、図13及び14に示すように、外側継手部材102のトラック溝105内に配されるローラ111と、トリポード部材103の脚軸132に外嵌してローラ111を回転自在に支持するインナリング112とを備えるものである(例えば、下記の特許文献参照)。
【0004】
ダブルローラタイプのトリポード型等速自在継手では、図15に示すように、脚軸132の横断面(脚軸の軸線と直交する断面)を楕円形状とすると共に、図13に示すように、インナリング112の内周面を断面凸円弧形状としている。これにより、図16に示すように、ローラ111を脚軸132に対して揺動させることが可能となるため、シングルローラタイプに比べ、誘起スラスト(継手内部での部品間の摩擦により誘起される軸力)とスライド抵抗を低減できるという利点を有する。
【0005】
また、ダブルローラタイプのトリポード型等速自在継手の他例として特許文献2に記載されたものが知られている。このトリポード型等速自在継手は、図19及び図20に示すように、トリポード部材230の脚軸226の外周面が球状とされ、この球状外周面にホルダ236の円筒面状内周面が嵌合している。また、ローラ案内面224が平坦面とされ、これと摺接するローラ222の外周面が円筒面とされる。
【0006】
このトリポード型等速自在継手では、以下の作用によりローラの傾きを規制している。
・ホルダ234の継手外径側の端面236がトラック溝の平面部220に当接して、ローラ222の傾きを規制する第1の作用
・ローラ222がローラ案内面224に沿って、脚軸226の軸線方向(図13のE方向)に摺動変位することにより、ローラ222の傾きを規制する第2の作用
・ローラ案内面224の継手内径側の端部に形成された膨出部228にローラ222が接触しながら転動することにより、ローラ222の傾きを規制する第3の作用
【0007】
特許文献2に記載されたトリポード型等速自在継手の改良型として、特許文献3に記載されたものも知られている。このトリポード型等速自在継手は、図19及び図20に示すトリポード部材230の小型軽量化を図るため、脚軸226の外周面に、継手軸方向と直交する一組の平面部233(図20の二点鎖線で示す部分)を設けたものである。
【先行技術文献】
【特許文献】
【0008】
特開2000-320563号公報
特許第2957121号公報
特開2011-127626号公報
【発明の概要】
【発明が解決しようとする課題】
【0009】
特許文献1に記載のトリポード型等速自在継手では、図14に示すように、ローラ111の外周面115が円弧状の母線を有する凸曲面であり、これと接触するローラ案内面106は、ローラ111の外周面115の形状に倣った断面凹形状(ゴシックアーチ形状)を有し、これらがアンギュラコンタクトをなしている。そのため、構造上、等速自在継手が作動角を取った状態で回転する際に、図17に示すような継手軸方向と直交する断面で、ローラ111及びインナリング112を含むローラユニット104が矢印B方向に傾く現象(以下、「左右傾き」と言う。)や、図18に示すような継手軸方向と平行な断面で、ローラユニット104が矢印C方向に傾く現象(以下、「前後傾き」と言う。)が発生する。ローラユニット104に左右傾きや前後傾きが発生すると、ローラ111とローラ案内面106との接触部における転がり摺動抵抗や、ローラユニット104の脚軸32に対する回転抵抗が大きくなる。さらに、ローラユニット104内の針状ころ117がローラ案内面106に対し、外側継手部材102の軸線方向に転がることができなくなるため、摺動抵抗が増加する。これらの要因が著しい場合、誘起スラストやスライド抵抗が大きくなり、等速自在継手のNVH(Noise,Vibration,Harshness)特性が悪化するという問題がある。
【0010】
また、上記のトリポード型等速自在継手では、脚軸132の横断面が楕円形状であり、且つ、インナリング112の内周面が断面凸円弧形状であるため、インナリング112と脚軸132との接触が略点接触となり、脚軸132の動きに伴ってローラユニット104を傾かせるように作用する摩擦モーメントを抑制できる。また、継手が作動角を取ったときでも、脚軸132が、インナリング112の幅方向(脚軸132の軸線方向)中央部と接触するため、左右傾きを抑制する構造になっている。しかし、継手が大きな角度を取ったとき、脚軸132の横断面が楕円形であることで、ローラユニット104に前後傾き(図18参照)を発生させる力が生じる。また、脚軸132とインナリング112との接触面積が小さいため、極めて厳しい車両使用条件などによる高トルク負荷時などにおいて両者の接触面の面圧が大きくなり、脚軸132の耐久性への影響が懸念される。
(【0011】以降は省略されています)
この特許をJ-PlatPat(特許庁公式サイト)で参照する
関連特許
個人
留め具
1日前
個人
鍋虫ねじ
1か月前
個人
ホース保持具
6か月前
個人
紛体用仕切弁
1か月前
個人
回転伝達機構
2か月前
個人
トーションバー
6か月前
個人
差動歯車用歯形
3か月前
個人
給排気装置
8日前
個人
ジョイント
26日前
個人
ボルトナットセット
6か月前
株式会社不二工機
電磁弁
5か月前
個人
地震の揺れ回避装置
2か月前
株式会社不二工機
電磁弁
3か月前
個人
ナット
27日前
個人
吐出量監視装置
1か月前
カヤバ株式会社
緩衝器
3か月前
カヤバ株式会社
緩衝器
3か月前
カヤバ株式会社
ダンパ
3か月前
カヤバ株式会社
ダンパ
3か月前
柿沼金属精機株式会社
分岐管
2か月前
カヤバ株式会社
緩衝器
7か月前
カヤバ株式会社
緩衝器
7日前
個人
ベルトテンショナ
7か月前
株式会社三協丸筒
枠体
6か月前
株式会社ノーリツ
分配弁
5か月前
日東精工株式会社
樹脂被覆ねじ
7か月前
株式会社不二工機
電磁弁
1か月前
株式会社不二工機
電動弁
8日前
株式会社ノーリツ
分配弁
12日前
株式会社ニフコ
クリップ
12日前
個人
固着具と固着具の固定方法
4か月前
個人
固着具と固着具の固定方法
4か月前
株式会社フジキン
ボールバルブ
4か月前
株式会社ノーリツ
分配弁
5か月前
日東電工株式会社
断熱材
6か月前
株式会社タカギ
水栓装置
2か月前
続きを見る
他の特許を見る