TOP
|
特許
|
意匠
|
商標
特許ウォッチ
Twitter
他の特許を見る
公開番号
2025139798
公報種別
公開特許公報(A)
公開日
2025-09-29
出願番号
2024038832
出願日
2024-03-13
発明の名称
燃料供給装置
出願人
株式会社豊田中央研究所
,
株式会社豊田自動織機
代理人
弁理士法人YKI国際特許事務所
主分類
F02M
21/02 20060101AFI20250919BHJP(燃焼機関;熱ガスまたは燃焼生成物を利用する機関設備)
要約
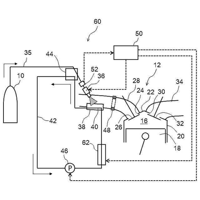
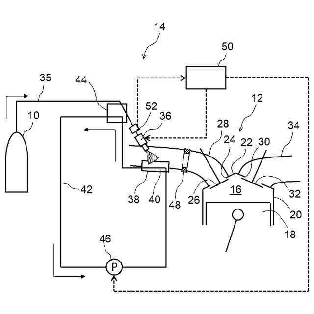
【課題】液化ガス燃料を内燃機関に供給する装置において、液化ガス燃料を冷却するための構成を簡略にし、また、液化ガス燃料の冷熱を有効に利用する。
【解決手段】液化ガス燃料を燃料噴射弁36から内燃機関12の吸気管28内に噴射する。噴射された燃料の気化潜熱により、冷却流路40を流れる冷熱移送流体を冷却する。冷却された冷熱移送流体を冷却器44に送る。冷却器44において、冷却された冷却移送流体によって、燃料供給管35を燃料噴射弁36に向けて送られる液化ガス燃料を冷却する。
【選択図】図1
特許請求の範囲
【請求項1】
内燃機関の吸気管の内壁に向けて液化ガス燃料を噴射する燃料噴射弁と、
前記吸気管の、噴射された液化ガス燃料が付着する燃料付着部分に設けられた、または前記燃料付着部分に隣接して設けられた、冷熱移送流体が流れる冷却流路であって、噴射された液化ガス燃料の気化潜熱により前記冷熱移送流体が冷却される冷却流路と、
前記燃料噴射弁に液化ガス燃料を供給する燃料供給管に設けられ、前記冷却流路において冷却された前記冷熱移送流体によって前記燃料噴射弁に供給される液化ガス燃料を冷却する冷却器と、
を含む燃料供給装置。
続きを表示(約 630 文字)
【請求項2】
請求項1に記載の燃料供給装置であって、前記冷熱移送流体を前記冷却流路と前記冷却器に循環させる循環流路を含む、燃料供給装置。
【請求項3】
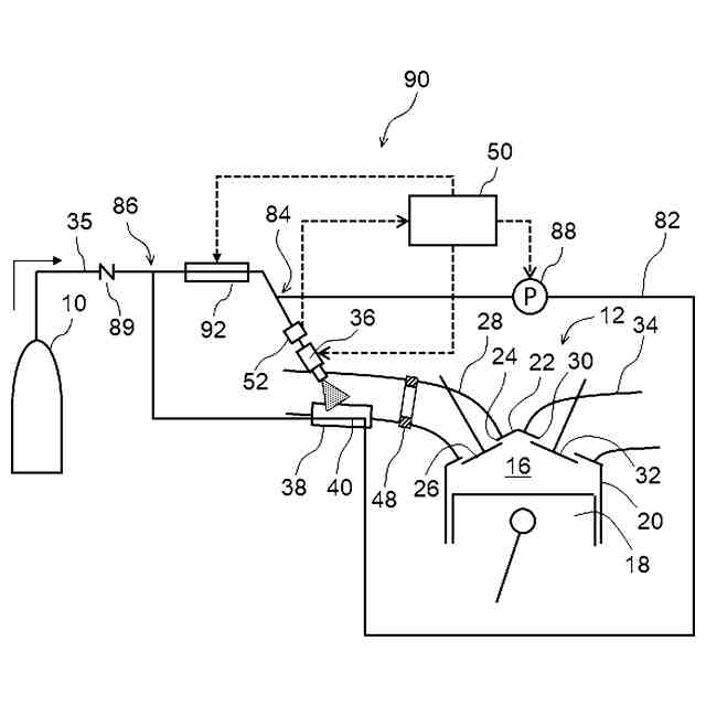
請求項1に記載の燃料供給装置であって、前記冷熱移送流体は液化ガス燃料であって、前記冷却器は、前記冷却流路で冷却された液化ガス燃料を前記燃料噴射弁に供給される液化ガス燃料に合流させる合流配管である、燃料供給装置。
【請求項4】
請求項1に記載の燃料供給装置であって、前記吸気管の前記燃料付着部分は、前記吸気管の他の部分に比べて高い熱伝導率の材料で形成されている、燃料供給装置。
【請求項5】
請求項1に記載の燃料供給装置であって、前記吸気管は、前記燃料付着部分を含む上流側部分と、前記内燃機関の気筒室側の下流部分とに挟まれた断熱部分を含む、燃料供給装置。
【請求項6】
請求項1から5のいずれか1項に記載の燃料供給装置であって、
前記燃料噴射弁に供給される液化ガス燃料の温度を取得する温度センサと、
前記温度センサにより取得された液化ガス燃料の温度が所定温度以上のとき、前記内燃機関の吸気弁が閉じている期間に液化ガス燃料を噴射するよう前記燃料噴射弁を制御する制御部と、
を含む燃料供給装置。
【請求項7】
請求項1に記載の燃料供給装置であって、前記液化ガス燃料がアンモニアである、燃料供給装置。
発明の詳細な説明
【技術分野】
【0001】
本発明は、内燃機関に液化ガス燃料を供給する燃料供給装置に関する。
続きを表示(約 1,400 文字)
【背景技術】
【0002】
液体状態の液化ガス燃料を燃料噴射弁により供給する内燃機関において、燃料の温度が上昇し、一部が気化して燃料が気液混合状態となると、内燃機関の気筒内への燃料供給量が不安定となる場合がある。下記特許文献1には、燃料噴射弁(インジェクタ8)に供給される液化ガス燃料を、燃料冷却装置(12)において、車載されたエアコン(13)の冷媒を用いて冷却する液化ガス燃料供給装置(2)が示されている。
【0003】
下記特許文献2には、液化ガス燃料を高圧ポンプ(4)によって燃料噴射弁(インジェクタ6)に供給する液化ガス燃料供給装置(1)が示されている。燃料は、燃料タンク(2)から冷却器(8)を介して高圧ポンプ(4)に送られ、冷却器(8)において、内燃機関に供給される燃料とは別系統で供給された燃料の気化潜熱を利用して冷却される。液化ガス燃料供給装置(1)は、別系統で供給される燃料を気化、圧縮、凝集および放熱するための燃料気化器(13)、コンプレッサ(14)、凝集器(15)および放熱器(12)を備える。
【0004】
なお、上記の括弧内の部材名および符号は、特許文献1,2で用いられているものであり、本願の実施形態の説明で用いられる部材名および符号とは関連しない。
【先行技術文献】
【特許文献】
【0005】
特開2016-89697号公報
特開2010-174692号公報
【発明の概要】
【発明が解決しようとする課題】
【0006】
燃料噴射弁に送る過程で液化ガス燃料を冷却する装置を簡略なものとすることが求められている。また、液化ガス燃料を冷却するために消費するエネルギを低減することが求められている。
【0007】
本発明は、液化ガス燃料を内燃機関に供給する燃料供給装置において、液化ガス燃料を冷却する装置の構成を簡略なものとすること、および冷却に要するエネルギを低減することの少なくとも一方を目的とする。
【課題を解決するための手段】
【0008】
本発明の燃料供給装置は、内燃機関の吸気管の内壁に向けて液化ガス燃料を噴射する燃料噴射弁と、吸気管の、噴射された液化ガス燃料が付着する燃料付着部分に設けられた、または燃料付着部分に隣接して設けられた、冷熱移送流体が流れる冷却流路であって、噴射された液化ガス燃料の気化潜熱により冷熱移送流体が冷却される冷却流路と、燃料噴射弁に液化ガス燃料を供給する燃料供給管に設けられ、冷却流路において冷却された冷熱移送流体によって燃料噴射弁に供給される液化ガス燃料を冷却する冷却器と、を含む。
【0009】
内燃機関で燃焼させるために気化される液化ガス燃料の気化潜熱を利用することで、内燃機関に送られる燃料とは別系統の燃料または流体を気化させるための構成を設ける必要がなくなり、装置の構成を簡略にすることができる。また、これまで利用されていなかった液化ガス燃料が有する冷熱を利用することにより、液化ガス燃料を冷却するエネルギを減少させることができる。
【0010】
上記の燃料供給装置は、冷熱移送流体を冷却流路と冷却器に循環させる循環流路を含むものとすることができる。
(【0011】以降は省略されています)
この特許をJ-PlatPat(特許庁公式サイト)で参照する
関連特許
トヨタ自動車株式会社
内燃機関
20日前
株式会社クボタ
作業車両
今日
本田技研工業株式会社
内燃機関
今日
トヨタ自動車株式会社
車両の制御装置
20日前
株式会社SUBARU
エンジン制御装置
22日前
個人
流体式推力方向制御装置
10日前
朝日電装株式会社
スロットルグリップ装置
10日前
株式会社IHI原動機
脈動減衰装置
20日前
トヨタ自動車株式会社
閾値の設定装置
10日前
トヨタ自動車株式会社
エンジン制御装置
6日前
本田技研工業株式会社
内燃機関の吸気構造
今日
本田技研工業株式会社
内燃機関の制御装置
20日前
日産自動車株式会社
内燃機関
6日前
株式会社デンソートリム
エンジン制御装置
6日前
日産自動車株式会社
内燃機関
6日前
本田技研工業株式会社
EGRバルブ制御装置
10日前
マツダ株式会社
エンジン
今日
トヨタ自動車株式会社
エンジンシステムの診断装置
22日前
トヨタ自動車株式会社
内燃機関の燃料供給装置
6日前
トヨタ自動車株式会社
インジェクタの制御装置
8日前
トヨタ自動車株式会社
エンジン制御装置
10日前
トヨタ自動車株式会社
内燃機関の燃料供給装置
10日前
ヤンマーホールディングス株式会社
エンジン装置
8日前
ヤンマーホールディングス株式会社
エンジン装置
8日前
ヤンマーホールディングス株式会社
エンジン装置
8日前
ヤンマーホールディングス株式会社
エンジン装置
8日前
大阪瓦斯株式会社
発電設備、及び発電方法
8日前
本田技研工業株式会社
内燃機関の制御装置
今日
ヤンマーホールディングス株式会社
エンジン装置
8日前
ヤンマーホールディングス株式会社
エンジン装置
8日前
本田技研工業株式会社
内燃機関の制御装置
今日
ヤンマーホールディングス株式会社
エンジン装置
8日前
トヨタ自動車株式会社
内燃機関の燃料噴射制御装置
8日前
マツダ株式会社
エンジンの制御装置
今日
愛三工業株式会社
燃料供給装置
今日
三菱自動車工業株式会社
内燃機関
今日
続きを見る
他の特許を見る