TOP
|
特許
|
意匠
|
商標
特許ウォッチ
Twitter
他の特許を見る
公開番号
2025139521
公報種別
公開特許公報(A)
公開日
2025-09-26
出願番号
2024038509
出願日
2024-03-12
発明の名称
燃料電池車の冷却装置
出願人
トヨタ自動車株式会社
代理人
個人
,
個人
主分類
B60K
11/04 20060101AFI20250918BHJP(車両一般)
要約
【課題】冷却性能を向上させた、燃料電池車の冷却装置を提供する。
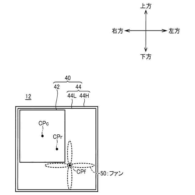
【解決手段】燃料電池スタック30を搭載した燃料電池車10の、冷却装置100は、(a)燃料電池車10の前方から後方に向けて順に、フロント収容室12内にコンデンサ42、ラジエータ44、ファン50が配置され、(b)燃料電池車10の前方から後方に見て、コンデンサ42はラジエータ44に比較して面積が小さく、(c)燃料電池車10の前方から後方に見て、ラジエータ44がコンデンサ42の中心位置CPcを含むように配置され且つコンデンサ42の中心位置CPcがラジエータ44の中心位置CPrに対して燃料電池車10の上方にずれて配置されている。
【選択図】図1
特許請求の範囲
【請求項1】
燃料電池スタックを搭載した燃料電池車の、冷却装置であって、
前記燃料電池車の前方から後方に向けて順に、フロント収容室内にコンデンサ、ラジエータ、ファンが配置され、
前記燃料電池車の前方から後方に見て、前記コンデンサは前記ラジエータに比較して面積が小さく、
前記燃料電池車の前方から後方に見て、前記ラジエータが前記コンデンサの中心位置を含むように配置され且つ前記コンデンサの中心位置が前記ラジエータの中心位置に対して前記燃料電池車の上方にずれて配置されている
ことを特徴とする燃料電池車の冷却装置。
続きを表示(約 490 文字)
【請求項2】
前記燃料電池車の前方から後方に見て、前記コンデンサの中心位置が前記ラジエータの中心位置に対して前記燃料電池車の水平方向のうち前記フロント収容室内に取り込まれる外気の流量が少ない方にずれて配置されている
ことを特徴とする請求項1に記載の燃料電池車の冷却装置。
【請求項3】
前記燃料電池車の前方から後方に見て、前記ラジエータが前記ファンの中心位置を含むように配置され且つ前記ファンの中心位置が前記ラジエータの中心位置に対して前記コンデンサの中心位置とは反対方向にずれて配置されている
ことを特徴とする請求項1又は2に記載の燃料電池車の冷却装置。
【請求項4】
前記燃料電池車の上方から下方に見て、前記ファンは前記燃料電池スタックと重なる位置に配置されている
ことを特徴とする請求項3に記載の燃料電池車の冷却装置。
【請求項5】
前記燃料電池車の前方から後方に見て、前記コンデンサは前記ラジエータの範囲内に配置されている
ことを特徴とする請求項1又は2に記載の燃料電池車の冷却装置。
発明の詳細な説明
【技術分野】
【0001】
燃料電池スタックを搭載した燃料電池車の、冷却装置に関する。
続きを表示(約 1,600 文字)
【背景技術】
【0002】
エンジンが搭載されたフロント収容室内において、車両の前方から後方に向けて順に、コンデンサ、ラジエータ、ファンが配置された冷却装置が知られている。例えば、特許文献1に記載のものがそれである。特許文献1に記載の冷却装置では、車両の前方から後方に見て、コンデンサの中心位置、ラジエータの中心位置、及びファンの中心位置は、同じ高さにある。
【先行技術文献】
【特許文献】
【0003】
特開2017-223141号公報
【発明の概要】
【発明が解決しようとする課題】
【0004】
ところで、ガソリン等の化石燃料を燃焼させるエンジン(=内燃機関)を動力源とする内燃機関車とは異なり、水素を燃料として発電する燃料電池スタックを搭載し且つその燃料電池スタックでの発電電力を用いて駆動される電動機を動力源とする燃料電池車が知られている。「燃料電池スタック」とは、水素を燃料として発電する燃料電池のセルを積層して結合した構造体である。燃料電池車は、内燃機関車に比較して、燃料が持つ潜在的なエネルギーを動力に変換するエネルギー変換効率が高い一方、排気損失は小さい。そのため、損失である発熱量の多くを冷却装置の冷媒に放熱する必要がある。また、内燃機関車におけるエンジンを冷却する冷媒の上限温度に比較して、燃料電池を構成するイオン交換膜の耐熱性を担保するため、燃料電池スタックを冷却する冷媒の上限温度を低くする必要がある。これらの事情から、内燃機関車に比較して燃料電池車はその冷却性能の向上が要求されている。
【0005】
本発明は、以上の事情を背景として為されたものであり、その目的とするところは、冷却性能を向上させた、燃料電池車の冷却装置を提供することにある。
【課題を解決するための手段】
【0006】
第1発明の要旨とするところは、燃料電池スタックを搭載した燃料電池車の、冷却装置であって、(a)前記燃料電池車の前方から後方に向けて順に、フロント収容室内にコンデンサ、ラジエータ、ファンが配置され、(b)前記燃料電池車の前方から後方に見て、前記コンデンサは前記ラジエータに比較して面積が小さく、(c)前記燃料電池車の前方から後方に見て、前記ラジエータが前記コンデンサの中心位置を含むように配置され且つ前記コンデンサの中心位置が前記ラジエータの中心位置に対して前記燃料電池車の上方にずれて配置されていることにある。
【0007】
第2発明の要旨とするところは、第1発明において、前記燃料電池車の前方から後方に見て、前記コンデンサの中心位置が前記ラジエータの中心位置に対して前記燃料電池車の水平方向のうち前記フロント収容室内に取り込まれる外気の流量が少ない方にずれて配置されていることにある。
【0008】
第3発明の要旨とするところは、第1発明又は第2発明において、前記燃料電池車の前方から後方に見て、前記ラジエータが前記ファンの中心位置を含むように配置され且つ前記ファンの中心位置が前記ラジエータの中心位置に対して前記コンデンサの中心位置とは反対方向にずれて配置されていることにある。
【0009】
第4発明の要旨とするところは、第3発明において、前記燃料電池車の上方から下方に見て、前記ファンは前記燃料電池スタックと重なる位置に配置されていることにある。
【0010】
第5発明の要旨とするところは、第1発明乃至第4発明のいずれか1の発明において、前記燃料電池車の前方から後方に見て、前記コンデンサは前記ラジエータの範囲内に配置されていることにある。
【発明の効果】
(【0011】以降は省略されています)
この特許をJ-PlatPat(特許庁公式サイト)で参照する
関連特許
トヨタ自動車株式会社
電池
今日
トヨタ自動車株式会社
電池
9日前
トヨタ自動車株式会社
車両
5日前
トヨタ自動車株式会社
車両
9日前
トヨタ自動車株式会社
車両
5日前
トヨタ自動車株式会社
電池
1日前
トヨタ自動車株式会社
車両
19日前
トヨタ自動車株式会社
電動車
1日前
トヨタ自動車株式会社
電動車
5日前
トヨタ自動車株式会社
電動車
5日前
トヨタ自動車株式会社
電動車
5日前
トヨタ自動車株式会社
電動車
7日前
トヨタ自動車株式会社
ロータ
7日前
トヨタ自動車株式会社
電解液
5日前
トヨタ自動車株式会社
ケース
今日
トヨタ自動車株式会社
サーバ
13日前
トヨタ自動車株式会社
電動車
19日前
トヨタ自動車株式会社
回転子
5日前
トヨタ自動車株式会社
冷却構造
12日前
トヨタ自動車株式会社
蓄電装置
9日前
トヨタ自動車株式会社
給電装置
19日前
トヨタ自動車株式会社
二次電池
9日前
トヨタ自動車株式会社
蓄電装置
9日前
トヨタ自動車株式会社
制御装置
9日前
トヨタ自動車株式会社
電動車両
5日前
トヨタ自動車株式会社
駆動装置
5日前
トヨタ自動車株式会社
蓄電装置
19日前
トヨタ自動車株式会社
蓄電装置
5日前
トヨタ自動車株式会社
電動車両
19日前
トヨタ自動車株式会社
蓄電セル
5日前
トヨタ自動車株式会社
加熱装置
19日前
トヨタ自動車株式会社
制御装置
19日前
トヨタ自動車株式会社
蓄電装置
6日前
トヨタ自動車株式会社
蓄電装置
6日前
トヨタ自動車株式会社
切断装置
5日前
トヨタ自動車株式会社
内燃機関
19日前
続きを見る
他の特許を見る