TOP
|
特許
|
意匠
|
商標
特許ウォッチ
Twitter
他の特許を見る
10個以上の画像は省略されています。
公開番号
2025139367
公報種別
公開特許公報(A)
公開日
2025-09-26
出願番号
2024038268
出願日
2024-03-12
発明の名称
光ファイバ特性測定装置及び光ファイバ特性測定方法
出願人
横河電機株式会社
代理人
個人
,
個人
,
個人
主分類
G01D
5/353 20060101AFI20250918BHJP(測定;試験)
要約
【課題】光ファイバの特性を短時間で安定して測定する。
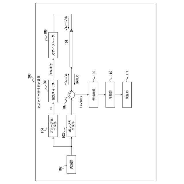
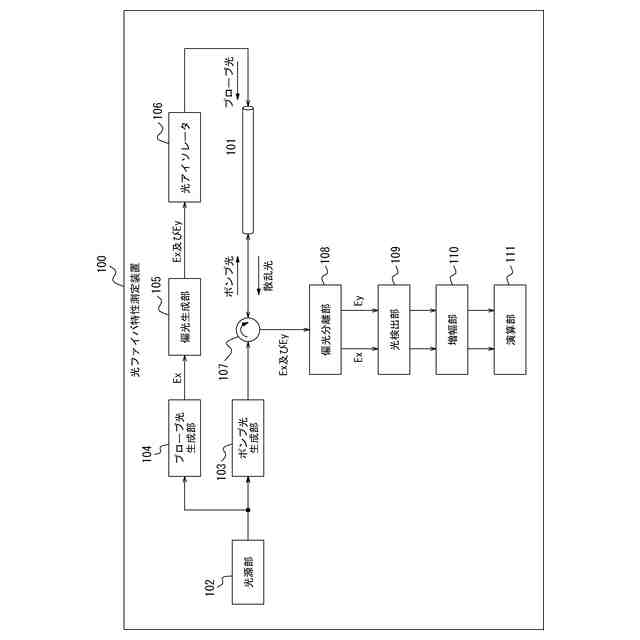
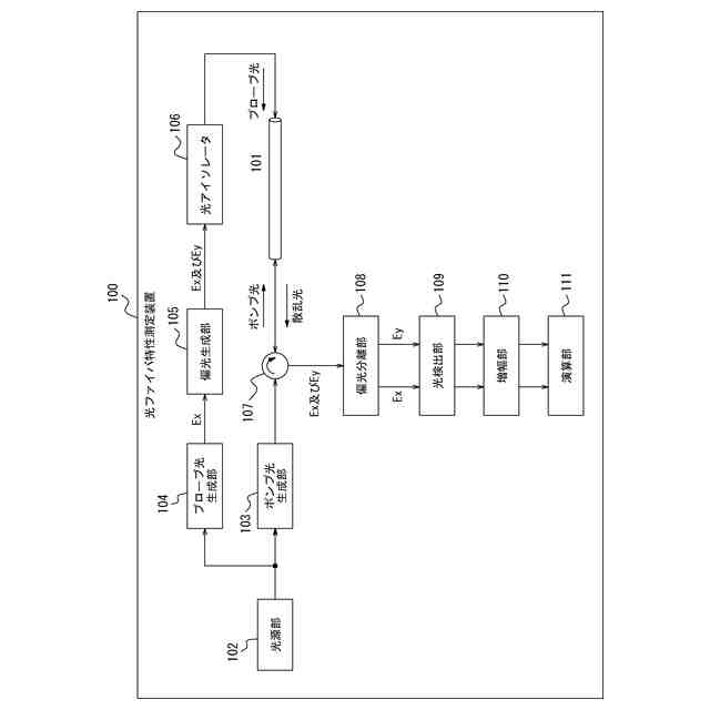
【解決手段】本開示に係る光ファイバ特性測定装置100は、周波数変調された光を出射する光源部102と、周波数変調された光から第1の光を生成する第1の光生成部103と、周波数変調された光から第2の光を生成する第2の光生成部104と、第2の光から直交する2つの直線偏光を生成する偏光生成部105と、第1の光を光ファイバ101の一端に入射し、2つの直線偏光を光ファイバ101の他端に入射したことによって発生した、直交する2つの散乱光を第1の偏光方向の散乱光と第2の偏光方向の散乱光とに分離する偏光分離部108と、第1の偏光方向の散乱光及び第2の偏光方向の散乱光を電気信号に変換する光検出部と、電気信号に変換された第1の偏光方向の散乱光と、電気信号に変換された第2の偏光方向の散乱光とを合成する演算部111と、を備える。
【選択図】図1
特許請求の範囲
【請求項1】
光ファイバの特性を測定する光ファイバ特性測定装置であって、
周波数変調された光を出射する光源部と、
前記周波数変調された光から第1の光を生成する第1の光生成部と、
前記周波数変調された光から前記第1の光と周波数が異なる第2の光を生成する第2の光生成部と、
前記第2の光から直交する2つの直線偏光を生成する偏光生成部と、
前記第1の光を前記光ファイバの一端に入射し、前記2つの直線偏光を前記光ファイバの他端に入射したことによって発生した、直交する2つの散乱光を第1の偏光方向の散乱光と第2の偏光方向の散乱光とに分離する偏光分離部と、
前記第1の偏光方向の散乱光及び前記第2の偏光方向の散乱光を電気信号に変換する光検出部と、
電気信号に変換された前記第1の偏光方向の散乱光と、電気信号に変換された前記第2の偏光方向の散乱光とを合成する演算部と、
を備える、光ファイバ特性測定装置。
続きを表示(約 2,600 文字)
【請求項2】
請求項1に記載の光ファイバ特性測定装置において、
前記光ファイバ特性測定装置は、ブリルアン光相関領域解析法によって前記光ファイバの特性を測定する、光ファイバ特性測定装置。
【請求項3】
請求項1に記載の光ファイバ特性測定装置において、
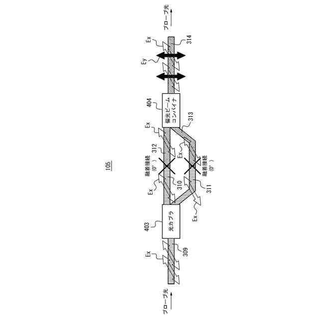
前記偏光生成部は、
前記第2の光が入射される第1の偏波保持光ファイバと、
前記直交する2つの直線偏光を出射する第2の偏波保持光ファイバと、
を備え、
前記第1の偏波保持光ファイバと前記第2の偏波保持光ファイバとは、前記第1の偏波保持光ファイバの偏波軸と前記第2の偏波保持光ファイバの偏波軸とを45度傾けて接続されている、光ファイバ特性測定装置。
【請求項4】
請求項1に記載の光ファイバ特性測定装置において、
前記偏光生成部は、
前記第2の光が入射される第1の光カプラと、
前記直交する2つの直線偏光を出射する第2の光カプラと、
を備え、
前記第1の光カプラと前記第2の光カプラとは、第1の光路及び第2の光路によって接続され、
前記第1の光路は、第1の偏波保持光ファイバ及び第2の偏波保持光ファイバを含み、前記第1の偏波保持光ファイバと前記第2の偏波保持光ファイバとは、前記第1の偏波保持光ファイバの偏波軸と前記第2の偏波保持光ファイバの偏波軸とを一致させて接続されており、
前記第2の光路は、第3の偏波保持光ファイバ及び第4の偏波保持光ファイバを含み、前記第3の偏波保持光ファイバと前記第4の偏波保持光ファイバとは、前記第3の偏波保持光ファイバの偏波軸と前記第4の偏波保持光ファイバの偏波軸とを90度傾けて接続されている、光ファイバ特性測定装置。
【請求項5】
請求項1に記載の光ファイバ特性測定装置において、
前記偏光生成部は、
前記第2の光が入射される光カプラと、
前記直交する2つの直線偏光を出射する偏光ビームコンバイナと、
を備え、
前記光カプラと前記偏光ビームコンバイナとは、第1の光路及び第2の光路によって接続され、
前記第1の光路は、第1の偏波保持光ファイバ及び第2の偏波保持光ファイバを含み、前記第1の偏波保持光ファイバと前記第2の偏波保持光ファイバとは、前記第1の偏波保持光ファイバの偏波軸と前記第2の偏波保持光ファイバの偏波軸とを一致させて接続されており、
前記第2の光路は、第3の偏波保持光ファイバ及び第4の偏波保持光ファイバを含み、前記第3の偏波保持光ファイバと前記第4の偏波保持光ファイバとは、前記第3の偏波保持光ファイバの偏波軸と前記第4の偏波保持光ファイバの偏波軸とを一致させて接続されている、光ファイバ特性測定装置。
【請求項6】
請求項1に記載の光ファイバ特性測定装置において、
前記偏光生成部は、
前記第2の光が入射される第1の光カプラと、
前記直交する2つの直線偏光を出射する第2の光カプラと、
を備え、
前記第1の光カプラと前記第2の光カプラとは、第1の光路及び第2の光路によって接続され、
前記第1の光路は、第1の偏波保持光ファイバ及び第2の偏波保持光ファイバを含み、前記第1の偏波保持光ファイバと前記第2の偏波保持光ファイバとは、前記第1の偏波保持光ファイバの偏波軸と前記第2の偏波保持光ファイバの偏波軸とを一致させて接続されており、
前記第2の光路は、第3の偏波保持光ファイバ、第4の偏波保持光ファイバ、偏波コントローラ、第5の偏波保持光ファイバ及び第6の偏波保持光ファイバを含み、
前記第3の偏波保持光ファイバと前記第4の偏波保持光ファイバとは、前記第3の偏波保持光ファイバの偏波軸と前記第4の偏波保持光ファイバの偏波軸とを一致させて接続されており、
前記第4の偏波保持光ファイバと前記第5の偏波保持光ファイバとは、前記偏波コントローラによって前記第4の偏波保持光ファイバの偏波軸と前記第5の偏波保持光ファイバの偏波軸とを90度傾けて接続されており、
前記第5の偏波保持光ファイバと前記第6の偏波保持光ファイバとは、前記第5の偏波保持光ファイバの偏波軸と前記第6の偏波保持光ファイバの偏波軸とを一致させて接続されている、光ファイバ特性測定装置。
【請求項7】
請求項1に記載の光ファイバ特性測定装置において、
前記散乱光は、誘導ブリルアン散乱による散乱光である、光ファイバ特性測定装置。
【請求項8】
請求項1に記載の光ファイバ特性測定装置において、
電気信号に変換された前記第1の偏光方向の散乱光と、電気信号に変換された前記第2の偏光方向の散乱光とを増幅する増幅部をさらに備える、光ファイバ特性測定装置。
【請求項9】
光ファイバの特性を測定する光ファイバ特性測定方法であって、
周波数変調された光を出射するステップと、
前記周波数変調された光から第1の光を生成するステップと、
前記周波数変調された光から前記第1の光と周波数が異なる第2の光を生成するステップと、
前記第2の光から直交する2つの直線偏光を生成するステップと、
前記第1の光を前記光ファイバの一端に入射し、前記2つの直線偏光を前記光ファイバの他端に入射したことによって発生した、直交する2つの散乱光を第1の偏光方向の散乱光と第2の偏光方向の散乱光とに分離するステップと、
前記第1の偏光方向の散乱光及び前記第2の偏光方向の散乱光を電気信号に変換するステップと、
電気信号に変換された前記第1の偏光方向の散乱光と、電気信号に変換された前記第2の偏光方向の散乱光とを合成するステップと、
を含む、光ファイバ特性測定方法。
【請求項10】
請求項9に記載の光ファイバ特性測定方法において、
前記光ファイバ特性測定方法は、ブリルアン光相関領域解析法によって前記光ファイバの特性を測定する、光ファイバ特性測定方法。
発明の詳細な説明
【技術分野】
【0001】
本開示は、光ファイバ特性測定装置及び光ファイバ特性測定方法に関する。
続きを表示(約 1,600 文字)
【背景技術】
【0002】
従来、光ファイバをセンサとして用いて、光ファイバが敷設されている場所の歪み及び温度を測定する技術が知られている。
【0003】
例えば、非特許文献1は、ブリルアン光相関領域解析(BOCDA:Brillouin Optical Correlation Domain Analysis)法によって、センサとして用いる光ファイバの特性を測定する光ファイバ特性測定装置を開示している。
【先行技術文献】
【非特許文献】
【0004】
Kazuo Hotate, Koji Abe and Kwang Yong Song, ”Suppression of Signal Fluctuation in Brillouin Optical Correlation Domain Analysis System Using Polarization Diversity Scheme”, IEEE PHOTONICS TECHNOLOGY LETTERS, VOL. 18, NO. 24, DECEMBER 15, 2006, p.2653-2655
【発明の概要】
【発明が解決しようとする課題】
【0005】
BOCDA法によって光ファイバの特性を測定する場合、光ファイバの一端にポンプ光を入射し、光ファイバの他端にプローブ光を入射することによって誘導ブリルアン散乱を局所的に発生させ、発生させた散乱光を測定する。
【0006】
この際、誘導ブリルアン散乱の発生効率はプローブ光とポンプ光の偏光状態に依存する。プローブ光とポンプ光の偏光状態は容易に変動するため、誘導ブリルアン散乱による散乱光を安定して測定することは困難である。
【0007】
誘導ブリルアン散乱による散乱光を安定して測定するため、非特許文献1は、プローブ光の偏光状態を直交する2つの直線偏光で時間的に切り換え、それぞれの直線偏光で測定した散乱光を合成する技術を開示している。
【0008】
しかしながら、非特許文献1に記載の技術は、2つの直線偏光を時間的に切り換えて2回測定するため測定時間が2倍になるという課題があった。また、非特許文献1に記載の技術は、2つの直線偏光を時間的に切り換えている間に光ファイバの敷設環境が変わり偏光状態が変わってしまった場合は安定して測定できないという課題があった。
【0009】
そこで、本開示は、光ファイバの特性を短時間で安定して測定することが可能な光ファイバ特性測定装置及び光ファイバ特性測定方法を提供することを目的とする。
【課題を解決するための手段】
【0010】
幾つかの実施形態に係る光ファイバ特性測定装置は、光ファイバの特性を測定する光ファイバ特性測定装置であって、周波数変調された光を出射する光源部と、前記周波数変調された光から第1の光を生成する第1の光生成部と、前記周波数変調された光から前記第1の光と周波数が異なる第2の光を生成する第2の光生成部と、前記第2の光から直交する2つの直線偏光を生成する偏光生成部と、前記第1の光を前記光ファイバの一端に入射し、前記2つの直線偏光を前記光ファイバの他端に入射したことによって発生した、直交する2つの散乱光を第1の偏光方向の散乱光と第2の偏光方向の散乱光とに分離する偏光分離部と、前記第1の偏光方向の散乱光及び前記第2の偏光方向の散乱光を電気信号に変換する光検出部と、電気信号に変換された前記第1の偏光方向の散乱光と、電気信号に変換された前記第2の偏光方向の散乱光とを合成する演算部と、を備える。このような光ファイバ特性測定装置によれば、光ファイバの特性を短時間で安定して測定することが可能である。
(【0011】以降は省略されています)
この特許をJ-PlatPat(特許庁公式サイト)で参照する
関連特許
横河電機株式会社
測定器
4日前
横河電機株式会社
温度測定装置
4日前
横河電機株式会社
藻類培養装置
14日前
横河電機株式会社
測定装置及び測定方法
1日前
横河電機株式会社
ベースマップの注釈付け
28日前
横河電機株式会社
測定装置および測定方法
1か月前
横河電機株式会社
研磨用治具および研磨方法
14日前
横河電機株式会社
測定方法及び測定システム
4日前
横河電機株式会社
装置、方法及びプログラム
4日前
横河電機株式会社
フィールド機器及び診断方法
今日
横河電機株式会社
測定装置および推定システム
1か月前
横河電機株式会社
装置、方法およびプログラム
15日前
横河電機株式会社
装置、方法およびプログラム
24日前
横河電機株式会社
装置、方法およびプログラム
14日前
横河電機株式会社
光パルス試験器及び測定方法
今日
横河電機株式会社
装置、方法、およびプログラム
14日前
横河電機株式会社
情報処理装置及び情報処理方法
23日前
横河電機株式会社
装置、方法、およびプログラム
1日前
横河電機株式会社
菌体培養槽および菌体培養方法
2日前
横河電機株式会社
水処理システム及び水処理方法
28日前
横河電機株式会社
分散制御ノード(DCN)冗長性
今日
横河電機株式会社
蛍光読取装置および蛍光読取方法
2日前
横河電機株式会社
表面散乱型濁度計及び濁度測定方法
2日前
横河電機株式会社
メタン生成装置及びメタン生成方法
4日前
横河電機株式会社
測定装置、測定方法、及びプログラム
1日前
横河電機株式会社
制御装置、制御システム及び制御方法
28日前
横河電機株式会社
測定装置、測定方法、及びプログラム
1日前
横河電機株式会社
解析装置、訓練装置およびプログラム
2日前
横河電機株式会社
測定装置、測定方法、及びプログラム
7日前
横河電機株式会社
診断システム、診断装置および診断方法
14日前
横河電機株式会社
評価装置、評価方法、および評価プログラム
14日前
横河電機株式会社
情報処理装置、情報処理方法及びプログラム
今日
横河電機株式会社
情報処理装置、更新方法及び更新プログラム
1日前
横河電機株式会社
照射装置、照射方法、および照射プログラム
14日前
横河電機株式会社
一液型組成物、フラン樹脂硬化物及びキット
1日前
横河電機株式会社
情報処理装置、生成方法および生成プログラム
1か月前
続きを見る
他の特許を見る